
第三节 履带式车辆底盘
一、履带式车辆的行走原理
(一)概述
工程机械的行走机构有两种主要类型,即轮式行走机构和履带式行走机构。由于履带式行走机构具有独特的优点,因而也获得广泛的应用。
履带式行走机构的基本构造如图2-3-1所示。它由驱动轮、履带、支重轮、履带张紧装置和引导轮、托轮、台车架和悬架弹簧等组成。
履带式工程机械的上部重量通过机架传递给台车架,通过支重轮、履带作用于地面。由发动机、传动系传给驱动轮的驱动力矩通过履带式行走机构转变为驱动力,推动机器运行。
(二)履带式行走机构的行驶原理
履带式行走机构是依靠驱动链轮与链轨啮合、并卷绕履带接地段时,地面对履带接地段的切入土壤的履齿产生的反作用力来推动机器向前运行。其行驶原理如图2-3-2所示。
    
图2-3-1 履带式行走机构的基本构造
1—驱动轮;2—履带;3—支重轮;4—台车架;5—张紧装置和引导轮;6—托轮
    
图2-3-2 履带式行走机构的行驶原理
机器运行时,驱动轮的驱动力矩Mk通过啮合传动作用产生对履带接地段的作用力为:
    ![]()
式中的rc为驱动轮的动力半径或称为驱动半径;Pk为履带式行走机构的理论圆周牵引力(也可称为切线牵引力)。Pk将接地段从支重轮下拉出,并卷绕到驱动轮上,使切入土壤的每个履齿给土壤一个向后的作用力ΔP,而土壤在水平方向发生挤压变形,同时给每个履齿一个向前的反作用力ΔΡ。对于履带的接地段而言:
Pk=∑ΔP
履带式工程机械通过∑ΔP的推动而向前行驶。
(三)履带式行走机构的特点
1.机器的全部重量经支重轮压在履带的接地段上,附着重量等于整机重量。这相当于全轮驱动的轮式机械。履带与地面之间的附着力由履带与地面之间的摩擦力和切入土壤的履齿所受的土壤剪团变形抗力构成,因此附着性能较好。
2.与同功率的轮式机械相比,由于履带支承面积大,接地压强较小(一般小于0.1MPa)。所以对于泥泞、沼泽和松软路面的通过性较好。
3.履带式行走机构重量大,运动惯性大,内部构件运动冲击大,因而运行速度受限制,主要用于低速运行场合。
4.结构复杂,机构内部的活动关节多,磨损严重,维修工作量大,保养调整不便。
二、传动系
从公路工程机械行驶理论可知,公路工程机械要起步和正常行驶,必须具有足够的牵引力以克服起步和行驶阻力。例如国产PY160型自行式平地机,在良好路面上行驶时需要提供自重的2%左右的牵引力(约3000N),如让柴油机(最大扭矩为620N·m)直接驱动车轮,所产生的牵引力仅有940N(车轮半径约0.66m),显然不能满足平地上行驶的需要,更无法使平地机起步、作业、爬坡。因此,在内燃机的扭矩传到驱动轮之前必须将其扭矩增大(即减速增扭)。
从公路工程机械行驶速度看,如果让柴油机(最大扭矩对应的转速为1 400r/min)直接驱动车轮.那么平地机的行驶速度可达348km/h,甚至更高。这样高的速度对安全行驶及正常作业的公路工程机械来说是不现实的。因此,在内燃机的动力传到驱动轮之前必须将其转速降低。
除此之外,行驶或作业的公路工程机械根据实际的使用、运行情况,经常需要变换运行速度和方向,有时因临时停车或内燃机启动、调试、排除故障等,需要暂时中断动力传递。在公路工程机械上完成上述作用的装置总称为传动系。
传动系应结构先进,布置合理,结构质量轻,传动平稳、传动效率高,操作轻便,安全可靠,保养、调整方便。
下面介绍几种比较典型的传动方式。
图2-3-3为履带式工程机械传动系简图。内燃机纵向前置,与之连接的是主离合器。动力由内燃机输出,经离合器、联轴器传给变速箱,变速箱动力输出轴和主传动齿轮制成一体。动力方向改变90°后,由紧固在驱动轴上的从动锥齿轮传给左右转向离合器,最后经终传动装置传到驱动链轮。
    
图2-3-3 履带式工程机械传动系简图
1—内燃机;2—齿轮箱;3—主离合器;4—变速箱;5—主动齿轮;6—转向离合器;7—终传动装置;8—驱动链轮;A—工作装置液压油泵;B—离合器液压油泵;C-转向离合器液压油泵
履带式工程机械的机械传动系因转向方式与轮式机械不同,故在驱动桥内设置了转向离合器。另外,在动力传至驱动链轮之前,为进一步减速增扭,增设了终传动装置,以满足履带式机械应有较大牵引力的需要。
2.液力机械式传动系
液力机械式传动系愈来愈广泛地应用于工程机械上。目前,国产ZL系列装载机全部采用液力机械式传动系。图2-3-4为ZL40型装载机传动系简图。
    
图2-3-4 ZL40型装载机传动系简图
1-液力变矩器;2-超越离合器;3-动力换挡变速箱;4-主离合器;5-脱桥机构;6-传动轴
从图2-3-4中可以看出,纵向后置内燃机将动力经液力变矩器及具有双行星排的动力换挡变速箱传给前后驱动轿。
这种液力机械式传动系和机械式传动系相比,主要有如下几个优点:
(1)改善了内燃机的输出特性,使机械具有自动适应外界载荷的能力;
(2)因液力传动的工作介质是液体,所以,能吸收并消除来自内燃机及外部的冲击和振动,从而提高了机械寿命;
(3)因液力装置自身就具有无级调速的特点,故变速箱的挡位数可以减少并且因采用动力换挡变速箱,减轻了驾驶员的劳动强度,简化了机械的操纵。
3.全液压式传动系
由于全液压传动具有结构简单、布置方便、操纵轻便、工作效率高、容易改型换代等优点,近年来,在公路工程机械上应用广泛。例如,具有全液压式传动系的挖掘机,目前已基本取代了机械式传动系的挖掘机。图2 3 5所示为挖掘机的全液压传动系简图。
从图中可以看出,柴油机通过分动箱直接驱动五个液压泵,其中两个双向变量柱塞泵供行走装置中柱塞马达用,两个辅助齿轮泵作为行走装置液压系统补油用,另一个齿轮泵供工作装置用。行走装置是由柱塞马达通过减速箱来驱动四个行走轮的。也有的机械直接用液压马达驱动行走轮,进一步简化了传动系统。
下面介绍传动系中几个主要部件的作用
(一)主离合器
1.主离合器的功用
    
图2-3-5 全液压式传动系示意图
1-柴油机;2-分动箱;3-行走减速器;4-柱塞式液压马达;5-齿轮式液压泵;6-行走轮;7-小齿轮箱;8-双向变量柱塞泵;9-辅助齿轮泵
主离合器是根据工程机械的实际需要,由驾驶员操纵,实现“分离”或“接合”的。其具体功用如下:
(1)能迅速彻底地分离内燃机与传动系统间的动力传递,以防止变速箱换挡时齿轮产生啮合冲击;
(2)能将内燃机动力和传动系柔和地接合,使工程机械平稳起步;
(3)当外界负荷剧增时,可利用离合器的打滑作用,避免传动系统与内燃机零部件过载;
(4)利用离合器的分离,可使工程机械短时间停车。
2.离合器的工作原理
目前,工程机械应用最广泛的是根据摩擦原理设计而成的离合器,称为摩擦离合器。摩擦离合器(图2-3-6)一般由摩擦副、压紧与分离机构、操纵机构等组成。
摩擦副包括主动摩擦片和从动摩擦盘。从图2-3-6中可以看出,这种摩擦离合器是直接利用内燃机飞轮的外端面做主动盘,从动盘通过花键和离合器轴相连,既可带动离合器轴一起旋转,又能沿离合器轴作轴向移动。离合器轴前端靠滚动轴承支承在飞轮中心凹孔中。
压紧与分离机构包括压盘、压紧弹簧、分离拉杆、分离杠杆等,它们都安装于离合器盖上,离合器盖用螺钉固紧在飞轮上,因而,压紧与分离机构是随飞轮一起旋转的。同时,压盘又可在压紧弹簧或分离拉杆的作用下作轴向移动。
    
图2-3-6 摩擦离合器结构简图
1—离合器轴;2—飞轮;3—从动盘;4—压盘;5—分离拉杆;6—分离杠杆;7—分离轴承;8—分离套筒;9—分离拨叉;10—拉杆;11—压紧弹簧;12—离合器盖
操纵机构包括分离轴承、分离套筒、分离拨叉、拉杆及离合器脚踏板等。因压紧弹簧装配时有预紧力,故在此预紧力作用下,借助压盘将从动盘紧紧地压在飞轮的外端面上。此时离合器处于“接合”状态,内燃机动力由飞轮经从动盘、离合器轴传至变速箱。
驾驶员踩下离合器脚踏板时,分离拉杆向右移动,分离拨叉推动分离滑套、分离轴承左移,使分离杠杆内端受压。当操纵力大于压紧弹簧预紧力时,分离杠杆外端通过分离拉杆将压盘向右拉,压缩压紧弹簧,直到使压盘、从动盘及飞轮表面间出现0.5mm间隙为止,此时离合器处于“分离”状态,内燃机动力传递被“切断”。
从以上分析可以看出:这种离合器是靠压紧弹簧的预紧力而传递动力的;当驾驶员不操纵时处于“接合”状态(由此而称其为常合式弹簧压紧摩擦离合器);传递扭矩大小取决于弹簧压紧力、摩擦副平均直径与摩擦系数等因素,“分离”状态时主、从摩擦副之间必须保持一定的间隙。另外,根据离合器结构的不同,离合器还有许多命名及分类方法。例如以上介绍的摩擦离合器,因只有一个从动盘,并且工作时摩擦副处于干燥状态,所以又可称其为“单片摩擦离合器”或“干式摩擦离合器”。与之对应的有“双片(或多片)湿式摩擦离合器”,“非常合式杠杆压紧摩擦离合器”等。
(二)变速箱
根据换挡方式不同,变速箱可分为机械换挡变速箱和动力换挡变速箱两种。
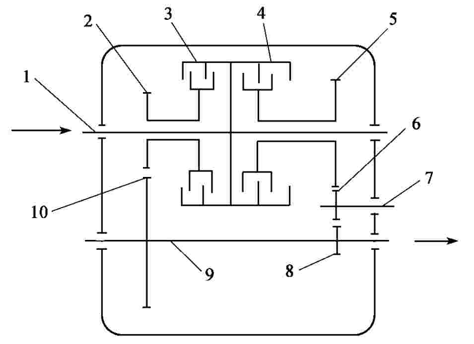
1.动力换挡变速箱的工作原理
动力换挡变速箱的挡位变换是通过液压操纵小离合器来实现的,其基本原理如图2-3-7所示。它由动力输入轴、中间轴,动力输出轴、小离合器及齿轮等组成。小离合器的主动片通过主动毂固装在动力输入轴上,由动力输入轴带动旋转。从动片分别和齿轮2、5的轮毂固装在一起。齿轮2、5滑套在输入轴上,与输入轴各自单独旋转。齿轮8、10固装在动力输出轴上,分别和齿轮2、6相啮合。齿轮6滑套在中间轴上(中间轴在此仅起支承作用),并同时和齿轮5、8相啮合。
    
图2-3-7 动力换挡变速箱工作原理
1—动力输入轴;2、5、6、8、10—齿轮;3、4—小离合器;7—中间轴;9—动力输出轴
小离合器3、4都处于分离位置时,动力由输入轴传给小离合器3、4的主动片之后再无法继续传递,变速箱处于空挡位置。
小离合器3接合、小离合器4分离时,动力自输入轴经小离合器3、齿轮2传给齿轮10,最后由输出轴输出。此时,齿轮5、6、8及小离合器4的从动片随输出轴空转,主动片随输入轴旋转,互不干涉。
同理,小离合器4接合、小离合器3分离时,变速箱又实现另一个挡位。
动力换挡变速箱的操作比机械换挡变速箱省力,并可在运行中换挡,提高了机械的生产率,但其结构较复杂,成本较高。
上述动力换挡变速箱的传动特点是,传动中齿轮与轴的位置固定,故又被称为定轴式动力换挡变速箱。除此之外,还有一种称为行星齿轮式动力换挡变速箱,如图2-3-8所示。它主要包括太阳轮、齿圈,行星轮架和三个行星轮等主要零部件。行星轮滑套在行星轮架上,同时和太阳轮、齿圈相啮合。该变速箱可以在太阳轮、齿圈和行星轮架三个基本元件之间任选两元件作为动力输入和动力输出元件,采用制动或其他方法使另一元件固定或以给定速度旋转(称为给该元件一个约束),这样,单排行星齿轮传动变速箱就以某一传动比传递动力。如果改变约束元件,则动力输入与输出元件的传动比也随之改变。如果所有元件都无约束,则行星齿轮失去传动作用。根据这个原理,单排行星齿轮传动可以具有六个不同传动比的传动方案,如图2-3-9所示。
    
图2-3-8 单排行星齿轮式动力变速箱
1—太阳轮;2—齿圈;3—行星轮架;4—行星轮;5—离合器;6—行星轮轴
    
图2-3-9 单排行星齿轮传动方案
第一方案(图2-3-9中①) 约束齿圈,太阳轮为动力输入元件,行星轮架为动力输出元件,两者旋转方向相同。
第二方案(图2-3-9中②) 约束齿圈,行星轮架为动力输入元件,太阳轮为动力输出元件,两者旋转方向相同。
第三方案(图2-3-9中③) 约束太阳轮,齿圈为动力输入元件,行星轮架为动力输出元件,两者旋转方向相同。
第四方案(图2-3-9中④) 约束太阳轮,行星轮架为动力输入元件,齿圈为动力输出元件,两者旋转方向相同。
第五方案(图2-3-9中⑤) 约束行星轮架,太阳轮为动力输入元件,齿圈为动力输出元件,两者旋转方向相反。
第六方案(图2-3-9中⑥) 约束行星轮架,齿圈为动力输入元件,太阳轮为动力输出元件,两者旋转方向相反。
2.工程机械实现反向行驶的原理
工程机械的反向行驶,在内燃机飞轮旋转方向不变的情况下,是由变速箱挂倒挡来实现的,其基本原理如图2-3-10所示。动力输入轴和动力输出轴之间,经一对齿轮传动时,其旋转方向相反,如图2-3-10(a)。增加一个中间齿轮,经两对齿轮副传动时,其旋转方向相同。因此,在输入轴旋转方向不变时,可使输出轴有两种不同的旋转方向,从而实现公路工程机械的前进和倒退。对于行星齿轮传动则可通过改变约束元件,实现输出元件相对输入元件旋转方向的变化(参阅图2-3-9中的⑤、⑥)。
    
2-3-10 变速箱倒挡原理
(a)一对齿轮传动(转向相反);(b)二对齿轮传动(转向相同)1—动力输入轴;2—主动齿轮;3—从动齿轮;4—动力输出轴;5—中间齿轮
从以上分析可以看出,变速箱具有如下功用:
(1)改变由内燃机传到驱动轮上的扭矩和转速,以适应工程机械实际作业及运行的需要,同时还具有较高的传动效率和合适的传动比,以保证整个机械具有良好的动力性和经济性。
(2)在内燃机飞轮旋转方向不变的情况下,可以使工程机械反向行驶。
(3)变速箱处于空挡位置时,便于内燃机启动、怠速运转,或使机械实现临时停车或滑行。
(4)输出动力,为机械的工作装置提供动力。
3.典型工程机械变速箱(TY120型推土机变速箱)
TY120型推土机采用的机械式移动齿轮换挡变速箱,具有五个前进挡和四个倒挡,其结构如图2-3-11和图2-3-12所示。
    
图4-3-11 TYl20型推土机变速箱(纵剖面)
1—滚珠轴承壳体;2—滚珠轴承;3—前进挡主动齿轮;4—倒挡主动齿轮;5—油标尺座;6—五挡主动齿轮;7—油泵从动齿轮;8—油泵主动齿轮;9—滚柱轴承;10—动轴;11—一挡主动齿轮;12—二挡主动齿轮;13—放油螺塞;14—变速箱壳;15—换向齿轮;16—滚珠轴承;17—中间轴;18—前进挡中间齿轮;19—惰轮轴;20—滚柱轴承;21—主动轴;22—调整垫片;23—滚珠轴承;24—四挡从动齿轮;25—三挡从动齿轮;26—二挡从动齿轮;27—五挡从动齿轮,28—一挡从动齿轮;29—三挡主动齿轮;30—四挡主动齿轮;31—拨叉
(1)变速传动机构动力经左端接盘传入变速箱,在右端经油泵主动齿轮8将动力传给油泵从动齿轮7驱动液压油泵。在主动轴21上铣有花键,右边装有五挡主动齿轮6,它除了随主动轴一起旋转外,还可在拔叉31的作用下左右移动,以实现五挡的摘挂;左边固装有前进挡主动齿轮3和倒挡主动齿轮4。惰轮轴19悬臂支承于变速箱壳体上,前进挡中间齿轮18用双排滚柱轴承20支承着。中间轴17上靠花键处装有换向齿轮15,三、四挡主动双联齿轮29、30和一、二挡主动双联齿轮11、12,这些齿轮在中间轴上均随轴一起旋转,并可作轴向移动,以实现挡位的变换与动力传递。
从动轴10位于变速箱的左侧,与驱动桥主传动器的主动锥齿轮制成一体,通过增减调整垫片22可以使从动轴作轴向移动,以调整主传动器锥齿轮副的啮合间隙。从动轴上用花键固装有齿轮24、25、26、27、和28。
主动轴、中间轴及从动轴两端分别用滚珠轴承和滚柱轴承支承在变速箱壳体上。滚珠轴承和滚柱轴承的内座圈都采用了轴向定位措施,而滚柱轴承的外座圈则未定位,允许其作微量的轴向移动,以防温度变化时产生附加轴向力。
这种变速箱的变速传动机构实际上属于组合式。它由换向机构和主变速传动机构两部分组成。换向机构的原理如下:当换向齿轮左移与齿轮18啮合时,动力经三级齿轮传动,推土机向前行驶;当换向齿轮右移与齿轮4啮合时,动力经两级齿轮传递,推土机反向行驶。
推土机反向行驶的挡位较多,这是为适应各种作业情况及提高生产率的需要而决定的。
TY120型推土机变速箱横剖面如图2-3-12所示。
    
图2-3-12 TYl20型推土机变速箱(横剖面)
1—箱体;2—中间轴;3—输出轴,4—输入轴;5—油标尺座;6—变速操纵机构
TY120型推土机变速箱各挡动力传递情况见表2-3-1及图2-3-13。
表2-3-1 TY120型推土机变速箱各挡动力传递顺序
    
    
图2-3-13 TY120型推土机变速箱各挡传动简图
(图注与图2-3-11同)
(2)便利换挡机构。推土机行驶速度较低,若离合器处于分离状态或变速箱处于空挡位置,推土机就很快停车。所以,此时变速箱内新挡位待啮合的一对齿轮中,从动齿轮随推土机的停止行驶而不再旋转,而主动齿轮则因惯性力作用仍以较高的速度旋转,这就给挂挡带来了困难。如果这时强行挂挡,会发生强烈冲击和噪声,甚至使轮齿折断。因此,在变速箱输入轴上设置便利换挡机构———小制动器,用来迅速制动离合器分离时因惯性仍在旋转的变速箱动力输入轴,使新挡位的待啮合齿轮均处于静止状态,实现平顺换挡。TYl20型推土机变速箱便利换挡机构,采用的是盘式摩擦制动器。
(三)驱动桥
1.概述
工程机械的驱动桥,是位于变速箱或传动轴之后,驱动轮之前的动力传动装置的总称。
根据工程机械行驶系的不同,驱动桥可分为轮式驱动桥和履带式驱动桥两种类型。
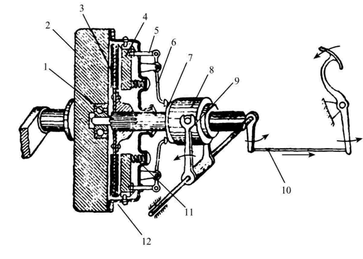
履带式驱动桥如图2-3-14所示,它由主传动器、转向离合器、终传动装置及桥壳等主要零部件所组成。其功用是将变速箱传来的动力由主传动器进一步减速增扭,并改变传动方向,经转向离合器、终传动装置,传给驱动链轮,由此带动履带运动,使机械行驶。
    
图2-3-14 履带式工程机械驱动桥
1-主传动器;2-变速器第二轴;3-转向离合器;4—最终传动;5—驱动轮;6—后桥箱;7—锥形齿轮室;8—制动器
2.主传动器
主传动器也称为主减速器,其基本功用是进一步降低转速、增大扭矩,保证机械具有足够的牵引力。因工程机械上用的内燃机通常是沿机械纵向布置的,故主传动器还用来改变动力传递方向,使其和驱动轮(或链轮)的旋转方向一致。
主传动器的动力输入轴应有足够的支承刚度,以保证齿轮副的正常啮合,锥齿轮副啮合部位与啮合间隙的调整应方便,并能获得充分的润滑,主减速器应具有足够大的传动比,以保证机械具有所需要的驱动力或牵引力。主减速器通常选用一对或两对齿轮传动。
图2-3-15为国产PY160型平地机的主传动器,它采用双级减速,其特点是主动锥齿轮轴线由于总体布置上的需要而与水平轴线倾斜30°角。与双级减速主传动器相比,单级减速主传动器可省掉一对齿轮和相应的支承装置。因此结构简单,质量轻,轴向尺寸小,成本低,传动效率高,装配调整方便。缺点是径向尺寸大,使桥壳的离地间隙小,影响车辆的通过性;对齿轮支承刚度要求较高;设计时传动比的调整范围小。
    
图2-3-15 PY160型平地机的主传动器
1—主动锥齿轮;2—从动锥齿轮;3-主动圆柱齿轮;4-从动圆柱齿轮
3.半轴
半轴的作用是将动力从差速器传给驱动轮。因半轴承受很大的扭矩,并且在布置上受到空间限制,故一般采用优质钢锻造毛坯,制成实心轴。半轴是否承受弯矩作用,视半轴与车轮轮毂在桥壳上的支承型式而定。根据半轴承受弯矩的大小,半轴可分为全浮式和半浮式。
图2-3-16为全浮式半轴的外端支承情况,半轴外端凸缘1用螺钉与轮毂3连接。轮毂通过两个相距较远的圆锥轴承2和4支承在半轴套管6上,半轴套管和空心梁5压配在一起,构成驱动桥壳。半轴内端用花键与差速器内的半轴齿轮相连。为防止轮毂连同半轴在轴向力的作用下发生轴向窜动,轮毂内两个轴承的安装方向必须相对,使它们能分别承受向内和向外的轴向力。轮毂轴承间隙可用调整螺母7调整,并用锁紧螺母8锁于半轴1上。轮毂轴承负载较大,故用润滑脂润滑。轮毂轴承的外侧各设一油封,防止润滑脂泄漏。半轴凸缘与轮毂接合面之间装有纸垫,以提高密封可靠性。
4.终传动
终传动的功用是将主传动器传来的动力在传给驱动轮(链轮)之前进一步减速增扭,以满足工程机械行驶和各种作业的需要。终传动装置有平行轴式圆柱齿轮传动和行星齿轮传动两种型式。
    
图2-3-16 解放CA141型载货汽车半轴外端支承
1—半轴凸缘;2、4-轮毂轴承;3-轮毂;5-空心梁;6—半轴套管;7-调整螺母;8-锁紧螺母
图2-3-17为国产TY120型推土机采用的双级平行轴式圆柱齿轮终传动装置。动力经接盘27输入,经两级齿轮传递后由驱动链轮输出,驱动履带转动,从而使推土机行驶。
半轴32的右端支承在驱动桥壳下的座孔内,并用半轴锁母30和锁母箍31锁定;其左端通过外轴承8及轴承座16支承在台车架上。因此半轴在此仅起支承作用,不传递动力。从动齿轮37用螺栓36安装于滑套在半轴上的轮毂33上,而驱动轮1则压配在轮毂的锥形长花键上,并用螺母5紧固,因而保证了从动齿轮37与驱动轮同心。长花键的特点是强度较高。轮毂是用圆锥轴承34和17支承在驱动桥壳的侧壁与半轴外轴承壳6上,这就保证了轮毂在固定的半轴上旋转。
圆锥轴承34和17应保证轮毂有0.125mm的轴向间隙,以防止齿轮、轴承及油封产生磨损。它的调整是通过拧在轴承壳6上的调整螺母来完成的。
为使驱动轮和支承在同一台车上的导向轮在同一个纵向平面内,在半轴外轴承8及外轴承座16的外端面处,分别装有调整垫片9和13。为保证密封,在驱动轮的左右侧均装有自紧式端面油封4和油封垫圈3。自紧式端面油封在安装时应保持其4~8mm的压缩量。这种油封的缺点是使用中易损坏,使用寿命短。
在动力传至太阳轮之前,经一对圆柱齿轮减速。所以这种终传动装置,实际上是平行轴式齿轮传动和行星轮式齿轮传动的综合。
三、行走系
工程机械行走系的基本功用是:支持整个机械的载荷;传递并承受路面作用于机械的各作用反力;将内燃机传至驱动轮(驱动链轮)的扭矩,传给车轮(或履带)使机械行驶或完成作业所需的牵引力;通过悬架缓冲机械与地面间的冲击,减少机械的振动;配合转向系控制机械的行驶方向。下面主要介绍履带式机械行走系。
    
图2-3-17 TY120型推土机终传动装置
1—驱动轮;2—定位销;3—油封垫圈;4—自紧式端面油封;5—轮毂螺母;6—轴承壳;7—油封;8—半轴外轴承;9、13—调整垫;10—固定螺母;11—锁圈;12—止推片;14—半圆键;15—外轴承衬套;16—外轴承座;17、34—圆锥轴承;18—挡泥板;19—调整螺母;20—双联齿轮外盖;21—衬垫;22、25—圆柱轴承;23—双联中间齿轮;24—主动齿轮;26—油封;27—接盘;28、29—圆柱轴承座;30—半轴锁母;31—锁母箍;32—半轴;33—轮毂;35-油封垫;36—螺栓;37—从动齿轮;38—外壳盖垫;39—放油塞;40—外壳盖
履带式机械行走系包括机架、行走装置和悬架三部分。
机架是全机的骨架,用以安装所有的总成和部件,使全机成为一个整体。行走装置用来支持机体,并把内燃机传到驱动轮上的驱动力矩和旋转运动转变为机械行驶及工作所需要的驱动力(牵引力)。悬架是机架和行走装置之间互相传力的连接装置。
履带式行走系与轮式行走系相比有如下特点:
(1)支承面积大、接地比压小。例如,履带式推土机的接地比压为20~80kPa,而轮式推土机的接地比压一般为200kPa。因此,履带式推土机适合在松软或泥泞地段进行作业,其下陷程度小,滚动阻力也小,故有较好的通过性能。
(2)履带支承面上有履齿,不易打滑,附着性能好,有利于驱动力(牵引力)的发挥。
(3)结构复杂,质量大,运动惯性大,减振功能差,导致零部件容易损坏。因此,需要机械有较高的结构强度和刚度。这样,使得机械显得笨重、庞大,机械的行驶速度较低,机动性较差。
(一)机架
履带式行走系的机架有半梁架式和全梁架式两种。前者一部分是梁架,另一部分则是用传动系某些总成的壳体来构成;后者是一个完整的框架。在履带式工程机械(如推土机)上大多采用半梁架式机架。
图2-3-18为国产TY180型推土机的半梁架式机架。它以后桥箱代替机架的后半部。后桥箱是用钢板焊接而成,在其前壁上焊有两根箱形断面的大梁,左、右大梁前窄后宽。大梁前部焊有元宝形横梁,横梁中央用中心销轴与平衡梁铰接。大梁前端用槽形横梁焊接,使整个机架成为封闭的框架。日本小松D80A-12型、D85-12型推土机的机架与此相类似。国产红旗100型推土机的机架也属于半梁架式,但其大梁前端无横梁,而是用内燃机的前支承及散热器的钢外罩分别作为前横梁和加强板,它们是在机械总装时安装在大梁上。
    
图2-3-18 TY180型推土机的机架
1—大梁;2-下中护扳;3-中心销轴;4-轴前盖;5-衬套;6-平衡梁;7-轴后盖;8-横梁;9-下后护板;10-后桥箱;11-加油管;12-后拖勾装置;13-放油孔;14-加油孔
图2-3-19是小型推土机用的全梁架式机架,在它上面安装所有总成。其优点是结构刚度大,总成及部件拆卸方便,但其金属消耗量大,使整机质量加大。
    
图2-3-19 全梁架式机架
1—前横梁;2-衬套;3—大梁(纵梁);4-顶架;5-托轮轴套;6-托轮轴;7、11-后桥托架;8—后轴盖;9-后横轴;10-螺栓;12、14-台车梁;13—台车梁轴;15—内燃机前支架
(二)行走装置
履带式工程机械的行走装置由“四轮一带”(驱动轮、支重轮、托轮、引导轮、履带)和履带张紧装置等组成,如图2-3-20所示。左右两条履带包绕在上述四种轮子上,由张紧装置张紧,直接与地面接触。引导轮的作用是引导履带正确卷绕,但不能使履带相对于机身偏转,即不能起转向作用。若干个支重轮在履带轨间上自由滚动,传递机重并使载荷均匀地作用在履带及地面上。托轮支持着履带的上半边,不让其下垂。
行走装置按其与机架的连接方式不同可分为单台车架式和多台车架式两种。
单台车架式行走装置(如图2-3-20)的支重轮、托轮、引导轮和履带张紧装置均安装在一个台车架上,构成一个大履带台车,每台机械左右各备有一个履带台车,履带式工程机械大多采用这种形式。
多台车架式行走装置(图2-3-21)是将支重轮成对地分别安装在几个台车架上,然后同其他各轮、张紧装置一起安装到机架上。
    
图2-3-20 单台车架式行走装置
1—张紧装置;2—托轮;3—支重轮;4—台车架;5—外轴承;6—内轴承;7—后半轴;8—斜撑;9—平衡弹簧
    
图2-3-21 多台车架式行走装置
1—引导轮;2—引导轮;3—前台车架;4—机架;5—后台车架;6—台车架;
行走装置的组成及各部分特点如下:
1.履带
履带是用来将机械的自重及载荷传给地面,并保证机械产生足够的驱动力(牵引力)。它经常在泥水、凹凸不平地面及石质土壤上工作,工作条件恶劣,受力复杂,容易磨损。因此,它应该有良好的附着性能,足够的强度、刚度和耐磨性,并且质量要轻。
2.驱动轮
驱动轮用来卷绕履带,并产生驱动力使机械行驶。它安装在最终传动装置的从动轮的轮毂上。通常用中碳钢或低碳合金钢铸造。驱动轮的轮齿可以逐个依次地与链轨节销啮合(如东方红60型等小型推土机),也可以间隔一齿依次地与链轨节销啮合(如红旗100、120、150型及TY180推土机等)。这种间隔啮合的驱动轮的齿距,一般为链轨节距离(链轨节前后销孔间的距离)的一半,当奇数齿磨损后调换安装,让偶数齿再工作,以延长其使用寿命。
    
图2-3-22 齿圈节式驱动轮
1—齿圈节;2—固定螺栓;3—驱动轮毂
3.支重轮
支重轮用来传递机械重力和载荷给履带,在机械行驶中,它除了沿履带的轨面滚动外,还要夹持履带,不让其横向滑脱;转向时迫使履带在地面上横向滑移。
支重轮常在泥水、砂尘中工作,且承受强烈的冲击,工作条件差。因此要求它坚固、相对转动部分密封可靠、轮圈耐磨。
4.托轮
托轮用来承托上部履带,不让其下垂过多,以减小履带在运动中的跳振现象,有助于张紧装置发挥作用,防止履带横向滑脱。其结构形式与支重轮相似,由于它承受的载荷较小,工作条件也较好,所以它的结构较简单,尺寸也小。
5.引导轮和张紧装置
引导轮又可称为导向轮,用来引导履带正确地卷绕,同时与其后面的张紧装置一起使履带保持一定的张紧度,以便四种轮子在履带内正常运动,并缓和地面传来的冲击,从而减轻履带在运动中的振跳现象、冲击载荷和额外的功率消耗以及履带销、销套间的磨损。
(三)悬架
悬架是机架和支重轮之间的连接部件,其主要功用是将机体重力与载荷全部或部分地传给支重轮,同时也将地面的各种反力,包括冲击力传给机架。因此,悬架除了应结构合理,有足够强度外,还应具有一定的缓冲能力,以保证机械在行驶及作业中具有良好的行驶平稳性、零件工作可靠性和驾驶的舒适性。
目前,在国内外履带式工程机械上所采用的悬架结构主要有如图2-3-23所示的三种类型。
    
图2-3-23 履带式机械的悬架类型
(a)刚性悬架;(b)半刚性悬架;(c)弹性悬架
四、转向系
转向系的功用是按照使用要求使机械保持稳定的直线行驶性能或灵活地改变行驶方向。
按照行走装置的结构形式不同,可分为轮式机械转向系和履带式机械转向系两类。按照转向动力的不同,又可分为机械转向系与动力转向系两类。
下面我们重点介绍一下履带式机械转向系。履带式机械行走机构相对机体不能偏转,故其转向方式与轮式机械不同。它是靠改变两侧驱动轮上的驱动力矩,使两侧履带在不同的驱动力作用下产生不同的速度来实现转向的。
履带式机械转向系由转向机构和转向操纵机构两部分组成。其转向机构的型式有离合器式、行星齿轮式和双差速器式三种。通常采用的是离合器式转向机构和液压式转向操纵机构所组成的转向系。
1.转向原理
    
图2-3-24 履带式机械转向原理
履带式机械转向系的转向机构用来改变两侧驱动轮上的驱动力矩。离合器式转向机构是将两个转向离合器分别设置在后桥箱内中央传动两侧,以此向两侧的最终传动装置传递动力,并实现转向。
履带式机械转向原理如图2-3-24所示。当履带式机械直线行驶时,两个转向离合器处于完全接合状态,均等地向左右两侧的驱动轮传递扭矩;当向一侧慢转向时,将该侧转向离合器彻底分离,即切断该侧的动力传递,使该侧驱动力为零,则机械就会沿较大的转向半径缓慢转向;若将一侧转向离合器彻底分离,并将该侧制动器加以制动,直至完全制动使驱动轮不转,则机械以较小的转向半径转向,甚至以一侧履带的接地中心为圆心作原地转向。
2.转向离合器
转向离合器的结构。工作原理与主离合器大致相同,只是由于动力经变速箱和中央传动(主传动器)两级增扭减速后,使其所传递的扭矩比主离合器大得多,所以转向离合器通常采用多片式,并且也有干式与湿式之分。
图2-3-25为多片式转向离合器的结构简图。在主动轴上装有主动鼓,其外圆面上加工有齿状花键,内圆具有相应花键齿的主动摩擦片套装在主动鼓上。铆有摩擦衬片的从动摩擦片的外圆上有花键齿,与从动鼓内圆上齿状花键连接。主动摩擦片和从动摩擦片是相互交错放置的,靠压力弹簧的压力通过压盘将它们相互压紧,主、从摩擦片相互压紧时,转向离合器为接合状态,如图2-3-51(a),通过摩擦力的作用,动力从主动轴传动到从动轴上。
    
图2-3-25 转向离合器构造简图
(a)接合状态;(b)分离状态;1—压力弹簧;2—拉杆;3—压盘;4—主动轴;5—从动轴;6—从动鼓;7—主动鼓;8—从动摩擦片;9—主动摩擦片;10—弹簧座;
将压盘向右移而使压力弹簧进一步压缩时,主动摩擦片与从动摩擦片就逐渐分离,使其传递的扭矩逐渐减小,以致最后进入分离状态,如图2 3 27(b)。弹簧的左端抵靠在固定端弹簧座上,而另一端则通过拉杆与压盘连接。
3.典型转向系统(动力转向系统)
中型以上的公路工程机械,由于使用条件和工作环境恶劣,机体载荷沉重,轮胎尺寸又大,因此转向阻力很大。而且,公路工程机械在作业时工作装置要连续完成各种动作,若单靠人力来实现机械的转向,驾驶员疲劳强度很大,甚至机械的转向难以实现。为了提高其转向操纵的轻便性,必须采用动力转向。因此,绝大多数公路工程机械都在机械式转向系的基础上增设了转向加力装置。这样,转向时转动方向盘的操纵力不作为直接迫使车轮偏转的力,只作为使转向加力装置的分配阀进行工作的力,车轮偏转所需的力由转向加力装置产生。
根据传力工作介质的不同,动力转向可分为液压式和气压式。其中液压式的,工作压力(6~16MPa)远远高于气压式(0.6~0.8MPa)。因此,其外形尺寸小,质量轻,工作灵敏度较高。并且,由于油液的阻尼作用可以吸收路面的冲击能量,所以目前得到广泛应用。
液压式动力转向,按液流的型式可分为常流式和常压式两种。
常流式是指公路工程机械不转向时,系统内工作油液是低压,分配阀中滑阀在中间位置,油路保持畅通,即从油泵输出的工作油液,经分配阀回到油箱,一直处于常流状态。
常压式是指工程机械不转向时,系统内工作油液是高压,分配阀总是关闭的。油泵排出的高压油,储存在蓄能器中,达到一定的压力后,油泵自动卸载而空转。
常流式与常压式相比,前者结构简单,油泵寿命较长,泄漏较少,消耗功率也较小,后者因有蓄能器积蓄液压能,可以使用较小的转向油泵,而且还可以在油泵不运转的情况下,保持一定的转向加力能力,使公路工程机械有可能续驶一定距离。
目前国内外用得最多的是常流式动力转向。例如CL7型铲运机及PY160型平地机均采用此种型式。
    
图2-3-26 常流式液压转向加力装置示意图
1—转向油罐;2—转向油泵;3—安全阀;4—流量控制阀;5—单向阀;6—转向控制阀;7—机械转向器;8—转向动力缸
图2-3-26所示为常流式液压动力转向结构组成。它分为三大基本组成部分:动力源供能部分———供给转向加力装置驱动力,如油泵等;工作部分———转向加力装置的执行机构,如转向动力油缸;控制机构部分———控制供能装置与工作部分之间油液的流动,如转向控制阀等。
图示为中位,即机械直线行驶位置。此时,转向控制阀保持开启。转向动力缸由于其中活塞两边的工作腔都与低压回油管路相通而不起作用。转向油泵输出油液流入转向控制阀,又由此流回转向油罐。因转向控制阀的节流阻力很小,故油泵输出压力也很低,油泵实际上处于空转状态。当转向时,通过机械转向器7使转向控制阀处于某一与转弯方向相应的工作位置,转向动力油缸的相应工作腔与回油管路隔断,转而与油泵输出管路相通,另一腔则仍然通回油管路。地面转向阻力经转向传动机构传到转向动力油缸的推杆和活塞上,形成比转向控制阀节流阻力高得多的油泵输出管路阻力。于是转向油泵输出压力急剧升高,直到足以推动转向动力油缸活塞为止。方向盘停止转动后,转向控制阀随即回到中立位置,使动力油缸停止工作。
流量控制阀用以限定转向油泵的最大流量。油泵输出压力最高值由安全阀限制。为使结构紧凑并减少管路及接头,一般将流量控制阀和安全阀部装在转向油泵内。
单向阀在转向加力装置正常工作的情况下总是关闭的。在加力装置失效而不得不靠人力进行转向时,单向阀即自动开启,使转向油罐中的油液不能通过不运转的油泵流入动力油缸吸油腔填补真空而造成很大的附加转向阻力。可见单向阀的作用是将不工作的油泵短路,故有时称之为短路阀。
五、制动系
工程机械的行驶速度是随着路面条件及作业区域内情况的改变而不断变化的。如机械在转弯通过不平地段或会车等情况下,都需强制性降低机械的行驶速度;机械抵达运行终点或临时停车,甚至突然遇到行车障碍时,也需要以最短的时间迅速停车;此外,机械在下长坡时,为使车速保持稳定或在坡道上作短暂停车等,都必须对车辆进行制动。制动系可用来对行驶中的公路工程机械施加制动力,使其行驶速度降低直至停车,或对已停止行驶的机械保持其长时间的静止状态。制动系是一控制系统,它对公路工程机械完成作业任务、提高生产效率及保证行驶安全等都有着十分重要的意义。公路工程机械上产生制动力的一系列专门装置,称为制动系。
制动系按照制动能源可分为人力制动(以驾驶员的体力作为唯一制动能源)、动力制动(完全靠由内燃机的动力转化而成的气压或液压形式的能量进行制动)、伺服制动(其制动能源可以是内燃机驱动的空气压缩机或油泵,或兼用人力和内燃机动力进行制动)。
按照制动能量的传输方式,制动系可分为机械式、液压式,气压式和电磁式等。同时采用两种以上传输方式的可称为组合式制动系。
按照制动系作用的不同,制动系又可分为行车制动系和驻车制动系。专用于牵引挂车的还有惯性制动系(制动能源是在牵引车先行制动的情况下,挂车向牵引车靠拢的惯性动能)和重力制动系(制动能源是挂车某个组成部分———部件或零件的重力势能)。
下面,结合履带式底盘特点,介绍两种典型的制动系统。
1.气液综合式制动传动机构
这里介绍的是气压助推油液(俗称气推油)式制动系统,它是气液综合式制动传动机构中常用的一种形式。空压机输出的压缩空气,通过气推油加力器,将气压能转为液压能作为制动的力源。驾驶员按不同的制动强度要求,通过制动踏板操纵控制阀来控制加力气室中的空气压力和流动方向。这种制动系统操纵轻便,踏板行程小(一般不超过80~100mm)。这种制动系统的布置也可分为单回路式和双回路式两种。所谓单回路式系统,就是采用一套气推油传动机构来控制四个车轮上的制动器。双回路式系统有两套管路,前、后轮具有独立的气推油传动制动机构。
图2-3-27为ZL50型装载机采用的气推油双回路式制动系统示意图。由空压机产生的压缩空气,经过油水分离器后,通向前、后轮的贮气筒10和12,其内的压力由压力控制器控制,保持在68~70kPa。贮气筒的入口处分别装有单向阀,使两个贮气筒互相隔绝,保证两管路系统的独立性。双管路制动阀是双腔式的,由制动踏板直接操纵。踩下制动踏板,贮气筒10和12中的压缩空气便分别经双回路制动阀的上腔和下腔充入各自的气推油加力器5和9,使压力油推动前、后轮钳盘式制动器的油缸活塞,使车轮制动。当放松制动踏板时,气推油加力器中的空气经制动阀排入大气。
    
图2-3-27 ZL50型装载机制动系统示意图
1—空压机;2—油水分离器;3—压力控制器;4—制动轮缸;5—后气推油加力器;6—接变速阀软管;7—制动信号灯开关;8—双管路制动阀;9—前气推油加力器;10—前贮气筒;11—单向阀;12—后贮气筒;13—气喇叭;14—气刮水阀;15—压力表;
在制动阀上连有控制动力换挡变速箱断流阀的气路软管,以便在踩下制动踏板的同时,使动力换挡变速箱的离合器分离。
制动阀用来控制制动时充入加力器气室的压缩空气量,亦即控制空气加力器的压力,以取得不同的制动效能。
同理,制动阀应使驾驶员具有“路感”,能从制动踏板的行程和操纵力的大小感觉出车辆的制动程度。
2.全液压动力制动传动系统
采用气压作为动力源的制动系的工作压力较低,其制动部件与液压元件相比,尺寸较大,而且制动滞后现象较为严重。因此,在工作装置或转向机构采用液压传动系统的公路工程机械上,可以利用液压动力作为制动传动机构的力源。它有两种型式:一种是液压加力的制动传动机构,另一种是液压直接驱动的制动传动机构。
图2-3-28为液压加力制动传动机构的结构与工作原理图。它由总泵和动力缸两部分组成。
    
图2-3-28 液压加力制动系统
1—总泵;2—动力缸盖;3—推杆;4—活塞;5—轴套;6—压力阀;7—芯轴;8—中心孔
不制动时,从油泵来的油液由油道A进入E腔,经推杆与活塞之间的C口进入D腔,再由油道B流回油箱。因C口较大,压力降很小,这时的油泵几乎是在空载状态下运转。
制动时,踩下制动踏板,通过顶杆推动推杆向右移动,随之C口减小,产生节流作用,因而E腔的压力增高。在油压作用下活塞也向右移动,并促使轴套右移,从而推动总泵活塞。E腔的压力与活塞回位弹簧的弹力、总泵———侧压力相平衡。因此,当推杆停止移动时,E腔压力固定在某一数值、活塞停留在这一平衡位置。E腔压力与推杆的位移量成正比,作用在制动踏板上的力和位移也与制动力矩成正比,即具有“路感”。若C口全闭、E腔压力超过压力阀的控制压力后,压力油经压力阀至D腔,由油道B流回油箱。
若油泵停止运转,推杆右端推动芯轴,堵住中心孔后直接推动总泵活塞,使制动轮缸工作。
上一篇:数项级数的概念与性质
下一篇:我国的国情





.jpg)
.jpg)
