
第2章 重力坝
【学习指导】
目标:了解重力坝的概念、工作原理、特点和类型;掌握分析并计算作用于重力坝上的常用作用(荷载);掌握水利枢纽等别与洪水标准的对应关系;能够根据工作任务和具体条件,选择重力坝的形式和初拟断面基本尺寸;掌握重力坝进行稳定计算和校核;了解重力坝常见的泄洪方式;熟悉重力坝的材料和构造要求。
重点:重力坝的概念、工作原理、特点和类型;重力坝上的常用作用(荷载)、稳定计算和校核;重力坝的构造要求。
2.1 概 述
重力坝是用混凝土或石料等材料修筑,在荷载作用下,主要依靠坝体自重产生的抗滑力来满足稳定要求的挡水建筑物。重力坝的修建已有悠久的历史,早期的重力坝是用石灰浆一类的黏结料浆砌块石筑成的,自从有了水泥,大型重力坝多数用混凝土修筑;中小型工程中的重力坝也有很多是用水泥砂浆浆砌块石修建的。重力坝结构简单,工作可靠,是世界坝工史上最古老,也是采用最多的坝型之一,如图2.1所示。

图2.1 混凝土重力坝在河床中的位置
目前世界上最高的重力坝是瑞士于1962年建成的大狄克逊(Grand Dixence)整体式重力坝,坝高285m。我国已建成的重力坝有三峡大坝(185m)、刘家峡(148m)、新安江(105m)、三门峡(106m)、丹江口(110m)等,其中高坝20余座。而正在兴建的龙滩碾压混凝土重力坝高达216.5m。
2.1.1 重力坝的特点
重力坝和其他的坝型比较起来有以下几方面的优点:
①结构作用明确,设计方法简便,安全可靠。重力坝沿坝轴线用横缝分成若干坝段(图2.1),各坝段独立工作,结构简单,受力明确,稳定和应力计算都比其他坝型简便。重力坝剖面尺寸大,坝内应力较小,筑坝材料强度较高,耐久性好,因而抵抗洪水漫顶、渗漏、地震和战争等破坏的能力都比较强。据统计,在各种坝型中,重力坝的失事率是较低的。
②对地形、地质条件适应性强。重力坝的拉压应力一般低于相同坝高的拱坝,所以重力坝对地形、地质的要求也较拱坝低,任何形状的河谷都可以修建重力坝。无重大缺陷的一般强度的基岩均可修建重力坝,甚至在土基上也可以修建高度不大的重力坝。
③枢纽泄洪及导流问题容易解决。重力坝可以做成溢流式的,也可以在坝内不同高程设置泄水孔,一般不需另设溢洪道或泄水隧洞,枢纽布置紧凑。由于筑坝材料的抗冲能力强,所以在施工期可以利用坝体或预留底孔导流,一般不需要另设导流隧洞。另外,当非溢流坝坝顶溢过少量洪水时,一般也不会使重力坝有溃坝的危险,这是重力坝的一个最大优点。
④施工方便,运行期维护及检修工作量小。重力坝结构简单、体积大,有利于机械化施工,在放样、立模和混凝土浇筑方面都比较简单,并且补强、修复、维护或扩建也比较方便。尤其是采用碾压混凝土筑坝,可大大减少水泥用量,也可取消纵缝、取消或减少横缝数量、取消或减少冷却水管,因此明显加快了施工进度和降低了投资造价。
重力坝虽然具有以上诸多优点,但也存在下列缺点:
①剖面尺寸大,材料用量多。因抗滑稳定要求,重力坝与其他混凝土坝(如拱坝)相比,剖面尺寸大,筑坝材料用量多。
②材料强度一般不能充分发挥。由于重力坝的断面是根据抗滑稳定和无拉应力条件确定的,坝体内的压应力较小。对于中、低重力坝,即使采用低标号混凝土或浆砌石,其材料强度也不能充分发挥作用,这是重力坝的一个主要缺点。
③坝底扬压力较大。坝体与地基的接触面积大,因而坝底承受的扬压力较大。扬压力会抵消部分坝体的有效压力,对坝体的稳定不利,故必须采取各种有效的防渗排水设施,以减小扬压力,节省工程量。
④水泥水化热较大,可能导致坝体开裂。重力坝坝体体积大,水泥用量多,在施工期,由于混凝土的水化热和硬化收缩,将在坝体内产生不利的温度应力和收缩应力,可能导致坝体产生裂缝。因此,在浇筑混凝土时,需要有较严格的温度控制和散热措施。
2.1.2 重力坝的类型
(1)按坝的高度分类
坝高低于30m的为低坝;高于70m的为高坝;介于30~70m的为中坝。坝高是指坝基最低面(不含局部有深槽或井、洞部位)至坝顶路面的高度。
(2)按筑坝材料分类
按筑坝材料可分为混凝土重力坝和浆砌石重力坝。
(3)按泄水条件分类
按泄水条件可分为溢流重力坝和非溢流重力坝,如图2.1所示。溢流坝段和坝内设有泄水孔的坝段统称为泄水坝段。非溢流坝段也称为挡水坝段。
(4)按坝体结构形式分类
按坝体结构形式可分为实体重力坝、宽缝重力坝、空腹(腹孔)重力坝、预应力锚固重力坝及装配式重力坝,如图2.2所示。

图2.2 重力坝按结构形式的分类
实体重力坝是最简单的形式,其优点是设计和施工都比较方便,应力分布比较明确;缺点是坝底扬压力大,坝体材料强度不能充分发挥,工程量较大。
宽缝重力坝与实体重力坝相比,其优点是扬压力小,能较好利用材料强度,工程量小,便于坝内检查和维护;缺点是施工比较复杂,模板用量较多。
空腹(腹孔)重力坝,其优点是扬压力更小、工程量更省,还可以利用坝内空腔布置水电站厂房,坝顶溢流宣泄洪水,以便解决在狭窄河谷中布置发电厂房和泄水建筑物的困难;而缺点是空腔附近可能存在一定的拉应力,局部需要配置较多的钢筋,坝体应力分析和施工比较复杂。
预应力锚固重力坝,其特点是利用预应力措施来增加坝体上游部分的压应力,抵抗上浮力,削减坝踵拉应力,提高大坝坝基的抗滑稳定性能,从而减小坝体剖面尺寸,节省工程量。
装配式重力坝是采用预制块安装筑成的坝,其特点是不需现场建混凝土拌和站,避免了立模、拆模工作,可改善施工质量和降低坝的温升,但要求施工工艺精确,以便接缝有足够的强度和防水性能。
2.2 重力坝的荷载及荷载组合
荷载是重力坝设计的主要依据之一,荷载按其随时间的变异可分为永久作用、可变作用、偶然作用3类。设计时应正确选用其标准值、分项系数、有关参数和计算方法。
永久作用包括坝体及其上永久设备的自重、土压力、淤沙压力(枢纽建筑物有排沙设施时可列为可变作用)、预应力、地应力、围岩压力等。
可变作用包括静水压力、扬压力、动水压力及外水压力、浪压力、风荷载、雪荷载、冰压力、温度荷载、灌浆压力、楼面(平台)活荷载、桥机门机荷载等。
偶然作用包括地震作用、校核洪水位时静水压力等。
2.2.1 重力坝的荷载
作用在重力坝上的荷载主要有自重、静水压力、动水压力、扬压力、淤沙压力、浪压力、冰压力、地震荷载(取单位坝长(1m)计算)。
(1)自重(包括永久设备自重)
坝体自重由坝体材料的容重与体积相乘求得。单位宽度上坝体自重W标准值计算公式如下:
![]()
式中 A——坝体横剖面的面积,m2,常将坝体断面分解成简单的矩形、三角形计算,如图2.3所示;
γc——坝体混凝土的重度,kN/m3,根据选定的配合比通过试验确定,一般采用23.5~24kN/m3。

图2.3 重力坝自重和静水压力计算图
计算自重时,坝上永久性固定设备,如闸门、固定式启闭机的重量也应计算在内,坝内较大的孔洞应该扣除。坝体自重的作用分项系数为1.0。永久设备自重的作用分项系数,当其作用效应对结构不利时采用1.05,有利时采用0.95。
(2)静水压力
垂直作用于坝体表面某点处的静水压强p为
![]()
式中 H——计算点处的计算水头,即计算水位与计算点之间的垂直高差,m;
γ——水的重度,一般取9.8kN/m3。
静水压力是作用在上、下游坝面的主要荷载,可按水力学原理计算。计算时常将作用在坝面的水压力分解为水平水压力和垂直水压力,如图2.3所示,计算公式见式(2.3)、式(2.4)。
溢流堰前水平水压力以PH1表示,当坝顶闸门关闭挡水时,静水压力计算与非溢流坝段完全相同。泄水时,作用在上游坝面的水压力受溢流的影响,应通过水工模型试验测定。初步设计时,可近似按式(2.5)计算,如图2.4所示。

图2.4 溢流堰前水平水压力计算图
水平力:
![]()
垂直力:
![]()
溢流堰前水平水压力:
![]()
式中 H1,H2——分别为上、下游水深,m;
A——坝踵处所作的垂线与上游水面和上游坝面所围成图形的面积,m2;
m——下游坝面坡度;
h——堰顶溢流水深,m。
静水压力分项系数为1.0,合力作用点在压力图剖面形心处。
(3)动水压力
当溢流重力坝泄水时,在水流流经溢流坝面反弧段,由于流向改变,在该处会产生动水压力,如图2.5所示,则该处的动水压力可根据水流的动量方程求得。若假定水流为匀速流,忽略水重和侧面水压力,则作用在单位坝长反弧段上的水平方向动水压力Px和竖向动水压力Py可按下式计算:

式中 q——相应设计状况下反弧段上的单宽流量,m3/(s•m);
γ——水的重度,kN/m3,常用9.81kN/m3;
v——反弧段最低点处的断面平均流速,m/s;
φ1,φ2——分别为反弧段圆心竖线左、右的中心角,取其绝对值。
Px和Py的作用点可近似地认为在反弧段长度的中点,图2.5所示方向为正。反弧段上动水压力的作用分项系数采用1.1。

图2.5 溢流堰面动水压力计算图
(4)扬压力
混凝土内存在着空隙,而且有些空隙是互相连通的。混凝土和地基都具有一定的透水性,因此在上、下游水位差的作用下,水将通过坝体、坝基和绕过两岸坝肩向下游渗透,形成一个稳定渗流场。在此渗流场内的某个截面上,由于渗透引起的水压力称为渗透压力;由于下游水深淹没部分坝体引起的水压力称为浮托力。渗透压力与浮托力之和称为扬压力。
扬压力的分布与坝体结构、上下游水位、防渗排水设施等因素有关。不同计算情况有不同的扬压力,扬压力代表值是根据扬压力分布图形面积计算的,如图2.6所示。


图2.6 坝底扬压力分布图
1—排水孔中心线;2—主排水孔;3—副排水孔
1)坝底面的扬压力
坝底扬压力按下列3种情况确定:
①当坝基设有防渗帷幕和排水孔时,坝底面上游(坝踵)处的扬压力作用水头为H1,排水孔中心线处的扬压力作用水头为H2+α(H1-H2),下游(坝趾)处为H2,三者之间用直线连接,如图2.6(a)、(b)、(c)、(d)所示。

图2.7 坝体计算截面扬压力分布图
1—坝内排水管;2—排水管中心线
②当坝基设有防渗帷幕、上游主排水孔、下游副排水孔及抽排系统时,坝底面上游处的扬压力作用水头为H1,下游坝趾处为H2,主、副排水孔中心线处分别为α1H1、α2H2,其间各段用直线连接,如图2.7(e)所示。
③当坝基无防渗帷幕、排水孔幕时,坝底面上游处的扬压力作用水头为H1,下游处为H2,其间用直线连接,如图2.7(f)所示。
上述①、②中的渗透压力系数α、扬压力强度系数α1及残余扬压力强度系数α2可参照表2.1采用。应注意,对河床坝段和岸坡坝段,α取值不同,后者计及三向渗流作用,α2取值应大些。
表2.1 坝底面的渗透压力和扬压力强度系数

2)坝体内部扬压力
由于坝体混凝土是透水的,在上、下游水头差的作用下产生坝体渗流,引起坝内扬压力。坝体扬压力会影响坝内应力,甚至会使坝体上游边缘产生拉应力。为了降低坝体扬压力,常在坝体上游面附近3~5m范围内浇筑抗渗混凝土形成防渗层,并在紧靠防渗层的下游面设置坝身排水管,从而构成了坝体的防渗排水系统。坝体内计算截面的扬压力分布如图2.7所示。其中,排水管线处的坝体内部,渗透压力强度系数α3按下列情况采用:实体重力坝、拱坝及空腹重力坝的实体部位采用α3=0.2;宽缝重力坝、大头支墩坝的宽缝部采用α3=0.15。
3)扬压力作用分项系数
坝基面和坝体内部扬压力的作用分项系数按下列情况采用:
①浮托力的作用分项系数均采用1.0。
②渗透压力的作用分项系数:实体重力坝采用1.2;宽缝重力坝、大头支墩坝、空腹重力坝采用1.1。
③若坝基下游设置抽排系统,主排水孔之前的扬压力的作用分项系数采用1.1,主排水孔之后的残余扬压力的作用分项系数采用1.2。
(5)淤沙压力
水库建成后,入库水流挟带的泥沙逐渐在水库中淤积,在坝前的泥沙对坝面产生的压力叫淤沙压力。一般的规律是:粗粒泥沙首先沉淀在回水末端的库首地区;随着水深增加,流速沿程逐渐减小,较细的泥沙陆续沉淀,直至坝前。坝前泥沙逐年淤高固结,淤积泥沙重度和内摩擦角亦逐年变化,且各层不同,因而淤沙压力难以精确确定。根据朗肯主动土压力公式,单位坝长上的水平淤沙压力标准值Psk(一般淤积计算年限取50~100年)为:

式中 Psk——水平淤沙压力,kN/m;
γsb——淤沙的浮重度,kN/m3;
γw——水的重度,kN/m3;
γsd——淤沙的干重度,kN/m3;
hs——坝前泥沙淤积厚度,m;
n——淤沙孔隙率;
φs——淤沙的内摩擦角,(°)。
当上游坝面倾斜时,应计入竖向淤沙压力即淤沙重力,按淤沙的浮重度计算。淤沙压力的作用分项系数采用1.2。
(6)浪压力
水库水面在风力作用下形成波浪,对建筑物产生的拍击力称为浪压力。浪压力的大小与波浪要素有关,波浪要素包括波长L、波高hl及波浪中心高出静水位的高度hz。波长L为波峰到波峰(或波谷到波谷)的距离,波高hl为波峰到波谷的高度,如图2.8所示。

图2.8 波浪要素图
1)波浪要素计算
波浪要素计算一般采用以一定实测或试验资料为基准的半理论半经验公式。
①平均波高hm、平均波长Lm的计算
a.平原、海滨地区水库,hm采用南京水利科学研究院在福建莆田海浪试验站经6年观测分析的公式,即莆田试验站公式:


式中 hm——平均波高,m;
v0——计算风速,m/s,在正常运用条件下,采用相应季节50年重现期的最大风速,在非正常运用条件下,采用相应洪水期多年平均最大风速;
D——风区长度(有效吹程),m,通常情况下,沿风向两侧水域较宽时,采用计算点至对岸的直线距离,当沿风向有局部缩窄处宽度B小于12倍计算波长时,可采用5B,同时不小于计算点至对岸的直线距离,如图2.9所示。

图2.9 波浪吹程
由Hm和Tm可用理论公式计算出平均波长Lm,计算公式如下:
![]()
对于Hm≥0.5Lm的深水波,上式还可简写成
![]()
b.内陆峡谷水库,Lm和hm宜用官厅公式计算(用于v0<20m/s,D<20000m):

式中 h——当
时,为累积频率5%的波高h5%;当
=250~1000时,为累积频率
10%的波高h10%。
其他符号意义同前。
累计频率为p(%)的波高hp与平均波高hm的比值,按表2.2查取。

表2.2 累计频率为P(%)的波高与平均波高的比值

②hz的计算
由于空气阻力小于水的阻力,因此波浪中心线高出计算静水位hz,可按下式计算:

式中 h1%——累积频率1%的波高,m;
H——坝前水深,m。
2)直墙式挡水建筑物的浪压力
当波浪要素确定后,便可根据挡水建筑物前不同的水深条件,判断波态以确定其上的浪压力强度分布,然后计算波浪总压力。随着水深的不同,坝前有3种可能的波浪发生,即深水波、浅水坡、破碎波。不同的波浪分布如图2.10所示。

图2.10 波浪压力分布
临界水深Hcr的计算公式为:
![]()
①当坝前水深大于半波长,即H≥Hcr和H≥Lm/2时,波浪运动不受库底的约束,这种条件下的波浪称为深水波,如图2.10(a)所示。单位长度上浪压力标准值PL(单位:kN/m)的计算公式为:
![]()
②当坝前水深小于半波长,但不小于使波浪破碎的临界水深Hcr,即Hcr≤H<Lm/2时,如图2.10(b)所示,称为浅水波。单位长度上浪压力标准值PL的计算公式为:

式中 PLf——水下底面处浪压力的剩余强度,kN/m2。
③当坝前水深小于临界水深,即H<Hcr时,波浪发生破碎,称为破碎波,如图2.10(c)所示。此时单位长度上浪压力标准值PL可按下式计算:

式中 γ——水下底面处浪压力强度的折减系数,当H≤1.7h1%时采用0.6,当H>1.7h1%时采用0.5;
P0——计算水位处的浪压力强度,kN/m2;
K0——建筑物前底坡影响系数,与坝前一定距离库底纵坡平均值i有关,见表2.3。
表2.3 河底坡i对应的K0值

3)斜坡式挡水建筑物的浪压力
斜坡挡水建筑物的浪压力计算可参照DL 5077—1997规范。浪压力的作用分项系数应采用1.2。
(7)冰压力
在寒冷地区的冬季,冰对建筑物的作用力称为冰压力。冰压力分静冰压力和动冰压力两种。当水库表面结冰后,冰层厚度从数厘米至1m以上,体积增加约9%,如果气温升高,冰层将发生膨胀,受到坝面和库岸的约束,在坝面上产生的压力称静冰压力。当冰盖解冻后,冰块顺风顺水漂流撞击在坝面、闸门或闸墩上产生的撞击力称为动冰压力。静冰压力的作用分项系数采用1.1。动冰压力的作用分项系数也采用1.1。冰压力的计算详见《水工建筑物荷载设计规范》(DL 5077—1997)。
(8)地震荷载
在地震区建坝,必须考虑地震荷载。地震时,地震力施加于结构上的动态作用称为地震作用,它包括地震惯性力、地震动水压力、地震动土压力。至于地震对扬压力、坝前泥沙压力等的影响,常不予考虑。地震对建筑物的影响程度,常用地震烈度表示。地震烈度共分为12度。烈度越大,对建筑物的破坏越大,抗震设计要求越高。
抗震设计中常用到基本烈度和设计烈度两个基本概念。基本烈度是指水工建筑物所在地区一定时期内(约100年)可能遇到的地震最大烈度;设计烈度是抗震设计时实际采用的地震烈度,一般情况下采用基本烈度作为设计烈度。但对于Ⅰ级挡水建筑物,根据工程的重要性和遭受的危害性,其设计烈度可比基本烈度提高1度。设计烈度在6度以下时,设计时可不考虑地震作用;对基本烈度为6度或6度以上的地区,坝高超过200m或库容大于100亿m3的大型工程,以及基本烈度为7度或7度以上的地区,坝高超过150m的大型工程,其抗震设防依据应进行专门的地震危险性分析评定。
《水工建筑物抗震设计规范》(SL 203—97)规定,水工建筑物的工程抗震设防类别根据其重要性和工程场地基本烈度按表2.4确定。
各类工程抗震设防类别的水工建筑物,除土石坝、水闸应按其相关规定外,抗震作用效应的计算方法应按照表2.5的规定采用。
表2.4 工程抗震设防类别

表2.5 抗震作用效应的计算方法

1)地震惯性力
地震时,重力坝随地壳做加速运动时,产生了地震惯性力。地震惯性力的方向是任意的,一般情况下只考虑水平向地震作用,对于设计烈度为8,9度的1,2级重力坝,应同时计入水平和竖向地震作用。
地震惯性力可采用拟静力法计算,沿建筑物高度作用于质点i的水平向地震惯性力代表值应按下式计算:
![]()
式中 Fi——作用在质点i的水平向地震惯性力代表值,kN/m;
αh——水平向设计地震加速度代表值,由表2.6确定;
g——重力加速度,9.8m/s2;
ξ——地震作用的效应折减系数,除另有规定外,取0.25;
GEi——集中在质点i的重力作用标准值,kN;
αi——质点i的动态分布系数。
表2.6 水平向设计地震加速度代表值

对于重力坝,αi由下式计算确定:

式中 n——坝体计算质点总数;
H——坝高,m,溢流坝的H应算至闸墩顶;
hi,hj——质点i,j的高度,m;
GE——产生地震惯性力的建筑物总重力作用的标准值,kN。
竖向设计加速度的代表值αv应取水平设计地震加速度代表值的2/3。
当同时计算水平和竖向地震作用效应时,竖向地震作用效应需乘以0.5的遇合系数,总的地震作用效应可将竖向地震作用效应与水平向地震作用效应直接相加。
2)地震动水压力
地震时,坝前、坝后的水体随着震动,形成作用在坝面上的激荡力。
采用拟静力法计算重力坝地震作用效应时,直立坝面水深h处的地震动水压力代表值按下式计算:
![]()
式中 Pw(h)——作用在直立迎水坝面水深h处的地震动水压力代表值,kN/m;
φ(h)——水深h处的地震动水压力分布系数,应按表2.7的规定取值;
ρw——水体密度标准值,kN/m3;
H0——水深,m。
其他符号意义同前。
表2.7 重力坝地震动水压力分布系数φ(h)

单位宽度坝面总地震动水压力作用点在水面以下0.54H0处,其代表值F0(单位:kN/m)按下式计算:
![]()
当迎水坝面倾斜,且与水平面夹角为θ时,按式(2.23)计算的动水压力代表值应乘以折减系数ηc,可以按以下公式计算:
![]()
迎水坝面有折坡时,若水面以下直立部分的高度等于或大于水深H0的一半,可近似取作直立坝面,否则应取水面点与坡脚点连线代替坡度。
作用在坝体上、下游的地震动水压力均与坝面垂直,且两者的作用方向一致。例如,当地震加速度的方向指向上游时,作用在上、下游坝面的地震动水压力方向均指向下游。
(9)其他荷载
常见的其他荷载还有土压力、温度荷载、灌浆压力、风荷载、雪荷载、坝顶车辆荷载、永久设备荷载等。它们对重力坝的影响是次要的,当需要计算时,查相应规范。
2.2.2 重力坝的荷载(作用)组合
上述荷载除坝体自重外,其他荷载的大小和出现概率都有一定的变化范围。因此,在进行设计时,应根据工程具体条件,将各种荷载按可能同时出现的机会组合成几种情况,并按出现的几率采用不同的安全系数,分不同情况对稳定、应力等进行验算。根据《混凝土重力坝设计规范》(SDJ 21—78)规定,在设计混凝土重力坝坝体剖面时,荷载组合分基本荷载组合和特殊荷载组合。基本荷载组合由可能同时出现的基本荷载组成,属正常情况或设计情况;特殊荷载组合由可能同时出现的基本荷载和一种或几种特殊荷载组成,属校核情况或非常情况。
基本荷载有:
①坝体及永久性设备的自重;
②正常蓄水位或设计洪水位时的静水压力;
③相应于正常蓄水位或设计洪水位时的扬压力;
④淤沙压力;
⑤相应于正常蓄水位或设计洪水位时的浪压力;
⑥冰压力;
⑦土压力;
⑧相应于设计洪水位时的动水压力;
⑨其他出现较多的荷载。
特殊荷载有:
①校核洪水位时的静水压力;
②相应于校核洪水位时的扬压力;
③相应于校核洪水位时的浪压力;
④相应于校核洪水位时的动水压力;
⑤地震荷载;
⑥其他出现机会很少的荷载。
《混凝土重力坝设计规范》(SDJ 21—78)中规定的荷载组合详见表2.8。
表2.8 荷载(作用)组合表

注:1.根据各种作用和同时发生的概率,选择计算中最不利的组合。
2.根据地质和其他条件,考虑运用时排水设备由于堵塞需经常维修时,应考虑排水实效的情况,作为偶然组合。
根据不同的荷载组合,有不同的分项系数,见表2.9。
表2.9 荷载(作用)分项系数表

注:地震作用和校核洪水时的静水压力为偶然作用。
2.3 重力坝的抗滑稳定分析
在任何荷载组合作用下,重力坝都应保持稳定。
重力坝失稳可能有3种情况:①由于上游水平推力作用而发生滑动;②在不平衡力矩的作用下倾覆;③在扬压力的作用下上浮。对于混凝土重力坝,浮起一般不会发生,倾倒除特殊情况通常也可不进行审查,因此,一般只需进行抗滑稳定计算,抗滑稳定分析主要包括抗滑稳定计算截面的选择、计算公式的选用、计算参数的选择、计算成果分析以及增强坝体抗滑稳定的措施。
2.3.1 抗滑稳定计算截面的选取
重力坝的稳定应根据坝基的地质条件和坝体剖面形式选择受力大、抗剪强度较低、容易产生滑动的截面作为计算截面。由于坝体与地基接触面的结合一般较差,且坝体混凝土收缩和温降收缩常使接触面产生微小裂纹,因此坝基面往往是抗滑稳定的控制截面。重力坝抗滑稳定计算主要是核算沿坝基面的抗滑稳定性。另外,当坝基内有软弱夹层、缓倾角结构面及不利的地形时,也应核算沿这些薄弱面的深层抗滑稳定性。
2.3.2 重力坝稳定分析方法
目前,重力坝沿坝基面的抗滑稳定计算公式有抗剪强度公式和抗剪断强度公式两种。
(1)抗剪强度公式
①当坝体与基岩的接触面呈水平时,如图2.11(a)所示,其抗滑稳定安全系数Ks为:

式中 ΣW——作用于接触面以上的总铅直力(不包括扬压力),kN;
ΣP——作用于接触面以上的总水平力,kN;
U——作用在接触面上的扬压力,kN;
f——坝体与坝基接触面间的摩擦系数。

图2.11 重力坝抗滑稳定计算简图
②当坝体与基岩的接触面倾向上游时,如图2.11(b)所示,其抗滑稳定安全系数Ks为:

式中 β——接触面与水平面间的夹角;其他符号意义同前。
由式(2.26)可以看出,当接触面倾向上游时,对坝体抗滑有利;而当接触面倾向下游时,β为负值,使抗滑力减小,滑动力增大,对坝体稳定不利。
抗剪强度公式只将坝体与基岩间看成是一个接触面,而不是胶结面,从而忽略了坝体和基岩间的胶结作用,没有考虑坝体混凝土与基岩间的凝聚力,不能完全反应实际情况,求得的抗滑力和滑动力的比值偏小,所以规定的安全系数较低。用抗剪强度公式设计时,各种荷载组合情况下的安全系数不得小于表2.10中的规定。
表2.10 抗滑稳定安全系数Ks

(2)抗剪断强度公式
利用抗剪断公式时,认为坝体混凝土与基岩接触良好,直接采用接触面上的抗剪断参数f′和C′计算抗滑稳定安全系数,计算公式为:

式中 f′——抗剪断摩擦系数;
C′——抗剪断凝聚力;
A——坝底截面面积;
其他符号意义同前。
采用抗剪断强度公式计算的抗滑稳定安全系数K′s值不分坝的级别,基本组合不得小于3.0,特殊组合(1)不得小于2.5,特殊组合(2)不得小于2.3。
上述抗剪强度公式形式简单,对摩擦系数f的选择,在国内外应用广泛。但该式忽略了坝体与基岩间的胶结作用,不能完全反映坝的实际工作性态。而抗剪断公式直接采用接触面上的抗剪强度参数,物理概念明确,比较符合坝的实际工作情况,已日益为各国所采用。
2.3.3 抗滑稳定计算参数的选择
坝体混凝土与基岩间的抗剪摩擦系数f值、抗剪断摩擦系数f′值、凝聚力C′值的选定,直接关系到大坝的造价与安全。因此,必须慎重选定。
在确定f值时,最好能进行室内试验,根据经验常取为0.5~0.8。f值越小,为维持稳定所需的ΣW越大,即坝体剖面越大。以新安江工程重力坝为例,若f值减小0.01,坝体混凝土就要增多2万m3。
对于大、中型工程,在设计阶段,强度参数f′和C′应有野外及室内试验成果,并结合现场实际情况,参照已建类似的工程经验合理选用;在规划阶段和可行性研究阶段可参照规范给定的数值选用。
2.3.4 坝基深层抗滑稳定分析
当坝基岩体内存在不利于坝体稳定的软弱夹层或缓倾角断层构成的软弱面时,坝体有可能带动一部分基岩沿这些软弱面滑动,这种现象称为深层滑动,如图2.12所示。坝体深层抗滑稳定分析虽然是一个很复杂的问题,但其计算原理与坝基面抗滑稳定计算相同,具体计算方法可参考《混凝土重力坝设计规范》(DJ 5108—1999)附录F。

图2.12 重力坝深层滑动示意图
2.3.5 提高坝体抗滑稳定的工程措施
为了提高坝体的抗滑稳定性,常采取以下工程措施:
1)设置倾斜的上游坝面,利用坝面上的水重增加稳定
但应注意,上游面的坡度不宜过缓,应控制在1∶0.2~1∶0.1,否则在上游坝面容易产生拉应力,对强度不利。
2)采用有利的开挖轮廓线
开挖坝基时,最好利用岩面的自然坡度,使坝基面倾向上游,如图2.13(a)所示。有时,有意将坝踵高程降低,使坝基面倾向上游,如图2.13(b)所示,但这种做法将加大上游水压力,增加开挖量和浇筑量,故较少采用。当基岩比较固定时,可以开挖成锯齿状,形成局部倾向上游的斜面,如图2.13(c)所示,但能否开挖成锯齿状,主要取决于基岩节理裂隙的产状。

图2.13 坝基开挖轮廓
3)设置齿墙
如图2.14(a)所示,当基岩内有倾向下游的软弱面时,可在坝踵部位设齿墙,切断较浅的软弱面,迫使可能的滑动面由abc成为a′b′c′,这样既增大了滑动体的重量,同时也增大了抗滑体的抗力。如在坝趾部位设置齿墙,将坝趾放在较好的岩层上,如图2.14(b)所示,则可更多地发挥抗力体的作用,可在一定程度上改善坝踵应力,同时由于坝趾的压应力较大,设在坝趾下的齿墙的抗剪能力也会相应增加,对坝体稳定十分有利。
4)抽水降压措施
当下游水位较高,坝体承受的浮托力较大时,可考虑在坝基面设置排水系统,定时抽水以减小坝底浮托力。如我国的龚嘴工程,下游水深达30m,采取抽水措施后,浮托力只按10m水深计算,节省了许多浇筑量,效果显著。

图2.14 重力坝齿墙设置
1—泥化夹层;2—齿墙
5)加固地基
加固地基包括帷幕灌浆、固结灌浆及断层、软弱夹层的处理等。
6)横缝灌浆
将部分坝段或整个坝体的横缝进行局部或全部灌浆,以增强坝的整体性和稳定性。
7)预加应力措施
在靠近坝体上游面,采用深孔锚固高强度钢索,并施加预应力,既可增加坝体的抗滑稳定,又可消除坝踵处的拉应力。
8)防渗排水
在坝基内设置防渗排水幕,保证排水畅通,降低扬压力,有利于坝体稳定。
9)空腹抛石
如果是空腹重力坝或宽缝重力坝,可在空腔内填块石,提高坝体稳定性。
2.4 重力坝的应力分析
2.4.1 重力坝应力分析的目的和方法
1)重力坝应力分析的目的
重力坝应力分析的目的主要有以下几点:
①检验在施工期和运行期等工作条件下,坝体各部位的应力是否满足强度要求;
②根据坝体各部位应力大小的分布规律进行坝体材料分区;
③为设计穿过坝体的廊道、管道、孔口等提供依据;
④为坝体某些部位的配筋提供依据;
⑤验算坝体断面的设计是否合理等。
2)重力坝应力分析方法
重力坝应力分析方法有理论计算和模型试验两大类。理论计算方法主要有材料力学法和有限元计算法。对于中、低坝,当地质条件较简单时,可只按材料力学方法计算坝的应力,有时可只计算坝的边缘应力。对于高坝,尤其当地质条件复杂,地基与坝体材料的弹性模量相差较大时,除用材料力学方法计算外,还应进行模型试验来验证,或采用有限元法进行计算。对于修建在复杂地基上的中、低坝,亦可根据需要进行上述研究。本章仅对材料力学法进行介绍。
(1)材料力学法的基本假定
①假定坝体混凝土为均质、连续、各向同性的弹性材料;
②不考虑廊道等对坝体应力的影响,假定坝体任意水平截面上的正应力σy呈直线分布;
③视坝段为固结于坝基上的悬臂梁,不考虑地基变形对坝体应力的影响,并认为各坝段独立工作,横缝不传力。因此,可以沿坝轴线方向截取单位坝长(1m)按平面问题进行计算。
材料力学法是一种常用的计算方法,其优点是简单,应用范围广,适用于各种坝体外形和各种荷载。由于坝体最大应力和最小应力一般都出现在坝面,因此本章仅论述坝体边缘应力的计算。对于坝体内部各点应力可根据边缘应力用插值法估算,详细参考《混凝土重力坝设计规范》(DL 5108—1999)。
(2)边缘应力的计算
1)水平截面上的正应力
水平计算截面的位置一般取在坝基面、折坡处、坝体削弱部位(如廊道、泄水管道、坝内有孔洞的部位),以及认为需要计算坝体应力的部位。计算时,坐标原点取在计算截面与下游坝面的交点处,水平轴X指向上游为正,竖轴Y向下为正,计算简图如图2.15所示。正应力正负号规定为:压为正,拉为负。

图2.15 坝体应力计算简图
因为假定水平截面上正应力σy按直线分布,所以可按材料力学偏心受压公式计算上、下游边缘正应力σyu和σyd(单位:kPa):

式中 ΣW——作用于计算截面以上全部荷载的铅直分力的总和,kN;
ΣM——作用于计算截面以上全部荷载对截面形心的力矩总和,kN•m,以使上游面产生压应力为正;
B——计算截面的长度,m。
2)边缘剪应力
计算边缘剪应力时,可分别在计算截面上、下游边缘取微分体,如图2.16所示。

图2.16 重力坝边缘应力计算图
由上游微分体的平衡条件ΣFy=0可得:
![]()
经整理后,可得上游边缘剪应力τu(单位:kPa)为:
![]()
同理,由下游微分体的平衡条件ΣFy=0可得下游边缘剪应力τd(单位:kPa):
![]()
式中 pu——上游面水压力强度,kPa;
pd——下游面水压力强度,kPa;
n——上游坝坡坡率,n=tanφu;
m——下游坝坡坡率,m=tanφd;
φu,φd——上、下游坝面与铅直面的夹角,见图2.16(a)。
3)水平正应力
已知τu和τd以后,仍利用图2.16(a)所示的三角形为单元体,根据力的平衡条件ΣFx=0,对上游边缘有:
![]()
经整理后,可得上游边缘水平正应力σxu(单位:kPa)为:
![]()
同理可得下游边缘水平正应力σxd(单位:kPa)为:
![]()
4)主应力
取微分体,如图2.16(b)所示,上、下游坝面仅受垂直于坝面的水压力,没有剪应力,因此上、下游坝面为主应力面。另一主应力面则应与坝面垂直。根据力的平衡条件,可求得上、下游边缘主应力(单位:kPa)分别为:

显然,上、下游坝面另一个主应力就是作用在坝面上的水压力强度,分别为:
![]()
由式(2.35)可以推得,当上游坝面倾向上游(坡率n>0)时,随着n的增大,上游面主应力σ1u<0,即为拉应力。因此,为了消除拉应力,岩基上的重力坝常把上游面做成铅直的(n=0)或小坡率(n<0.2)的折坡坝面。
以上各式算得的各种应力都是不考虑截面上扬压力的,但坝体和坝基都不是绝对不透水的,当坝建成后,在长期蓄水运行的情况下,水会沿着坝体和坝基的孔隙渗透,从而产生渗透水压力,这时应考虑扬压力对坝体应力的影响。
当计入截面上扬压力的作用时,将扬压力视为外荷载与其他荷载一起进行计算。因此,在计算上、下游正应力时,计算式中的ΣW和ΣM均应包括作用在水平计算截面上的扬压力。
若考虑地震作用,计算式中的ΣW、ΣM应加上由地震惯性力和地震动水压力等产生的铅直力和力矩,式中的压力强度pu,pd应分别加入上、下游坝面地震动水压力在该点的压强。但应注意,上游加的是正值,下游加的是负值。
2.4.2 坝体和坝基应力控制指标
(1)重力坝坝基面坝踵、坝趾的垂直应力控制
1)运用期
①在各种荷载组合下(地震荷载除外),坝踵垂直应力不应出现拉应力,坝趾垂直应力应小于坝基容许压应力。
②在地震荷载作用下,坝踵、坝趾的垂直应力应符合《水工建筑物抗震设计规范》(SL 203—97)。
2)施工期
坝趾垂直应力允许有小于0.1MPa的拉应力。
(2)重力坝坝体应力控制
1)运用期
①坝体上游面的垂直应力不出现拉应力(计扬压力)。
②坝体最大主压应力不应大于混凝土的允许压应力值。
③在地震情况下,坝体上游面的应力控制标准应符合《水工建筑物抗震设计规范》(SL 203—97)的要求。
2)施工期
①坝体任何截面上的主压应力不应大于混凝土的允许压应力。
②在坝体的下游面,允许有不大于0.25MPa的主拉应力。
混凝土的允许应力应按混凝土的极限强度除以相应的安全系数确定。坝体混凝土抗压安全系数,基本组合不应小于4.0,特殊组合(不含地震情况)不应小于3.5。当局部混凝土有抗拉要求时,抗拉安全系数不应小于4.0。
2.5 非溢流重力坝的剖面设计
非溢流重力坝剖面形式、尺寸的确定,将影响到荷载的计算、稳定分析和应力分析。因此,非溢流坝剖面的设计及其他相关结构的布置,是重力坝设计的关键步骤。
2.5.1 剖面设计的基本原则
非溢流坝剖面设计的基本原则主要有以下几点:
①满足稳定和强度要求,保证大坝安全;
②工程量小,造价低;
③结构合理,运用方便;
④便于施工,维修方便。
2.5.2 剖面拟定的步骤
首先拟定基本剖面;其次根据运用及其他要求,将基本剖面修改成实用剖面;得到实用剖面之后,对实用剖面进行应力分析和稳定验算,按规范要求,经过多次反复修正和计算后,最终得到合理的设计剖面。
2.5.3 重力坝的基本剖面
自重、静水压力和扬压力是重力坝的3个主要荷载,稳定和强度要求则是控制剖面尺寸的两个主要因素。由于作用在坝上游面的静水压力呈三角形分布,所以重力坝的基本剖面是指坝体在自重、静水压力(上游水位为正常蓄水位,水位与坝顶齐平)和扬压力3个主要荷载作用下,满足稳定和强度要求,并且使工程量最小的三角形剖面,如图2.17所示。如果三角形剖面满足对坝基面的抗滑稳定要求和坝基面的坝体强度要求,则坝基以上坝体各截面也一定满足抗滑稳定和强度的要求。

图2.17 重力坝的基本剖面
从满足强度要求来看,对基本三角形的要求如下:
①当图2.18中的夹角φ>90°,即上游坝坡为倒坡时,在库空情况下,坝体下游端会产生拉应力,因而不满足强度要求。另外,倒坡的施工也极不方便。
②当φ<90°时,可利用上游面的水重,对坝体稳定有利,但φ小到一定程度后,库满时可能使上游面产生拉应力。因此,上游面坡角不宜太小。
根据上述分析,一般情况下,上游面常做成铅直的,即φ=90°。工程实践证明,混凝土重力坝上游面也可做成折坡,折坡点一般位于1/3~2/3坝高处,以便利用上游坝面水重增加坝体的稳定性;上游坝坡系数常采用n=0~0.2,下游坝坡系数常采用m=0.6~0.8,坝底宽B=(0.7~0.9)H(H为坝高或最大挡水深度)。
2.5.4 非溢流重力坝的实用剖面
在简化条件下得到的基本剖面还应根据实际情况进行修正才能得到实用剖面。
(1)坝顶宽度
根据交通、施工及运行管理的需要,坝顶应有足够的宽度,一般可采用坝高的8%~10%,且不小于3m,碾压混凝土坝的坝顶宽不小于5m;当坝顶布置移动式启闭机时,坝顶宽度还要满足安装门机轨道的要求。
(2)坝顶高程
为防波浪漫过坝顶,在静水位以上还应留有一定的超高。坝顶或坝顶上游防浪墙高于静水位的超高Δh可按下式计算:
![]()
式中 hl——波浪高度,m,由式(2.9)或式(2.13)计算;
hz——波浪中心线至静水位的高度,m,由式(2.15)计算;
hc——安全超高,m,可查表2.11。
表2.11 安全超高h c 单位:m

因设计与校核情况下的计算风速不同,由表2.10查出的hc也不同,故Δh的计算结果不同,因此坝顶高程按下式计算,并取较大值作为坝顶高程。
坝顶高程=设计洪水位+Δh设计
坝顶高程=校核洪水位+Δh校核
(3)剖面形态
非溢流重力坝的剖面形态见图2.18。
图2.18(a)采用铅直上游坝面,适用于坝基摩擦系数较大,由应力条件控制坝体剖面的情况。优点:便于布置和操作坝身过水管道进口控制设备。缺点:在上游面铅直的基本三角形剖面上增加坝顶重量,空库时下游坝面可能产生拉应力。
图2.18(b)是工程上常用的实用剖面,上游坝面上部铅直、下部倾斜。优点:既可以利用部分水重增加坝的稳定性,又可保留铅直的上部,以便于管道进口布置设备和操作。上游坡起坡点位置应结合应力控制条件和引水、泄水建筑物的进口高程确定,一般为坝高的1/3~2/3。设计时也要验算起坡点高程水平截面的强度和稳定条件。

图2.18 非溢流重力坝剖面形态
图2.18(c)是上游略呈倾斜的基本三角形加坝顶而成,适用于坝基摩擦系数较小的情况。优点:倾斜的上游坝面可增加坝体自重和利用一部分水重,以满足抗滑要求。修建在地震区的重力坝,为避免空库时下游坝面拉应力过大,可采用此剖面。
实用剖面不拘泥于这些形式,应根据具体条件,参考已建工程,选取合理剖面。
2.6 溢流重力坝
溢流重力坝既是挡水建筑物,又是泄水建筑物,在水利枢纽中,可承担泄洪、向下游输水、排沙、放空水库和施工导流等任务。所以,溢流重力坝在满足稳定和强度要求的同时,还应满足泄洪的几个设计要求:
①有足够的孔口尺寸和泄水时具有较大的流量系数,以满足泄洪要求;
②有良好的孔口体型,以便使水流平顺地通过坝体,不产生不利的负压和振动,避免发生空蚀现象;
③保证下游河床不产生危及坝体及其他建筑物安全的冲坑和冲刷;
④溢流坝段在枢纽中的位置,应使下游流态平顺,不产生折冲水流,不影响枢纽中其他建筑物的正常运行;
⑤如设有闸门、启闭机等,其控制和运用应灵活可靠。
因此,溢流重力坝剖面设计除要满足稳定和强度要求外,还要满足泄水的要求,同时还要考虑下游的消能问题。
2.6.1 溢流坝的孔口设计
(1)孔口形式
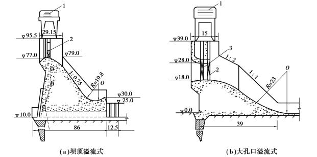
溢流坝的泄水方式有堰顶溢流式和大孔口溢流式两种,如图2.19所示。
1)坝顶溢流式
坝顶溢流式(图2.19(a))的溢流孔除宣泄洪水外,还能排除冰凌和其他漂浮物。根据运用要求,堰顶可设闸门,也可以不设闸门。
不设闸门时,堰顶高程等于水库的正常蓄水位,库水位超过正常蓄水位后就溢过堰顶泄向下游。这种形式的优点是结构简单,可自动泄洪,管理方便。缺点是增加了库内的淹没损失、非溢流坝的坝顶高程和坝体工程量。它适用于洪水流量较小,淹没损失不大的中小型水库。

图2.19 溢流坝泄水方式(单位:m)
1—门机;2—工作闸门;3—检修闸门
设有闸门时,堰顶高程低于水库的正常蓄水位,可利用闸门的不同开启度调节库内水位和下泄流量,减少上游淹没损失和非溢流坝的高度及坝体的工程量。与深孔闸门比较,堰顶闸门承受的水头较小,可以采用较大的孔口尺寸。当闸门全开时,下泄流量与堰上水头的3/2次方成正比,随着库水位的升高,下泄流量迅速增大,具有较大的超泄能力,对保证枢纽的安全有较大的作用。由于闸门安装在堰顶,操作、检修均比深孔闸门方便,因此在大、中型水库工程中得到了广泛的应用。
2)大孔口溢流式
大孔口溢流式在闸墩上部设置有胸墙(图2.19(b)),既可利用胸墙挡水,又可减少闸门的高度和降低堰顶高程。当库水位较低时,水流为堰顶溢流,即与堰顶开敞溢流式相同;随着水位升高,逐渐由堰流变为大孔口出流。这种形式可以根据洪水预报提前放水,腾出较大的防洪库容,提高水库的调洪能力,适用于挡水位较高而流量相对较小的水闸。
(2)孔口尺寸
1)单宽流量的确定
单宽流量的选择是关键,单宽流量越大,下泄水流的动能越集中,消能问题就越突出,下游局部冲刷就会越严重,但溢流前缘短,对枢纽布置有利。因此,一个经济而又安全的单宽流量,必须综合地质条件、下游河道水深、枢纽布置和消能工设计多种因素,通过技术经济比较后选定。单宽流量一经选定,就可以初步确定溢流坝段的净宽和堰顶高程。
工程实践证明,对于软弱岩石常取q=20~50m3/(s•m),中等坚硬的岩石取q=20~100m3/(s•m),特别坚硬的岩石取q=100~150m3/(s•m),地质条件好的可以选取更大的单宽流量。
2)孔口尺寸的确定
溢流孔口尺寸主要取决于通过溢流孔口的下泄洪水流量Q溢,根据设计和校核情况下的洪水来量,经调洪演算确定下泄洪水流量Q总,再减去泄水孔和其他建筑物下泄流量之和Q0即得Q溢:
![]()
式中 Q0——经由电站、船闸及其他泄水孔下泄的流量,m3/s;
α——系数,考虑电站部分运行,或由于闸门障碍等因素对下泄流量的影响,正常运用
时取0.75~0.90,校核情况下取1.0。
单宽流量q确定以后,溢流孔净宽B(不包括闸墩厚度)为
![]()
设有闸门的溢流坝,用闸墩将溢流段分隔为若干个等宽的孔,分孔数目及每孔净宽则根据所用闸门形式、尺寸、启闭设备及混凝土坝分段长度等条件确定。应尽量将孔口数量定为奇数,以有利于闸门对称开启,使过闸水流平顺均匀。
设孔口总数为n,孔口宽度为b=B/n,d为闸墩厚度,则溢流前缘总宽度L0为
![]()
经调洪演算求得设计洪水位及相应的下泄流量后,可利用相关公式计算包括流速水头在内的堰顶水头Hz。用设计洪水位减去堰顶水头Hz(此时堰顶水头应扣除流速水头)即得堰顶高程。
2.6.2 溢流坝的剖面设计
(1)溢流坝的基本剖面
溢流坝的基本剖面也呈三角形。其上游坝面可以是铅直面,也可以是折坡面。溢流坝面由顶部曲线段、中间直线段和底部反弧段三部分组成,如图2.20所示。

图2.20 溢流坝剖面
1—顶部曲线段;2—直线段;3—反弧段;
4—基本剖面;5—溢流水舌
1)顶部曲线段
顶部溢流段可以采用真空实用剖面堰和非真空实用剖面堰。当采用真空实用剖面堰溢流段一般采用曲线形溢流时,溢流坝面会产生负压,容易引起空蚀,水流也不稳定,故很少采用。
顶部溢流段一般采用曲线形非真空实用剖面堰。采用较广泛的非真空剖面曲线有克—奥曲线和幂曲线(或称WES曲线)两种。克—奥曲线不给出曲线方程,只给定曲线坐标值,因此插值计算和施工放样均不方便,且流量系数较小。而WES曲线给定了曲线方程,便于计算和放样,且流量系数比克—奥曲线的流量系数大(最大值为0.502),因此,近年来堰面曲线多采用WES曲线。
2)中间直线段
中间直线段的上端与堰顶曲线相切,下端与反弧段相切,坡度与非溢流坝段的下游坡相同,如图2.20所示。
3)底部反弧段
溢流坝面反弧段的作用是使下泄水流平顺地与下游水面衔接,反弧通常采用圆弧曲线,其半径通常取R=(4~10)h,h为校核水位闸门全开时反弧最低点的水深。反弧最低点的流速越大,要求反弧半径越大。当流速小于16m/s时,取下限;流速较大时,宜采用较大值。当采用底流消能,反弧段与护坦相连时,宜采用上限值。
(2)溢流坝的实用剖面
溢流坝的实用剖面是基本剖面结合堰面曲线拟合修改而成的。
①一般情况下,将溢流坝的上游坝面设计成铅直或上部铅直、下部倾向上游,如图2.21(a)所示。
②如果坝基较差、孔口较大,则三角形基本剖面顶部去掉的面积较多,自重减小,影响了坝的稳定性,为了增加坝体稳定性,可将下游坝坡略微放缓,如图2.21(b)所示。
③如果地基较好,溢流断面过于肥大,超出基本三角形较多,为节省工程量,可使下游面与基本三角形一致,而将堰顶部伸向上游,将堰顶做成具有突出的悬臂,如图2.21(c)所示,悬臂高度h1应大于H/2(H为堰上水头)。

图2.21 溢流重力坝实用剖面
1—溢流段;2—直线段;3—反弧段
2.6.3 溢流坝的消能防冲
通过溢流坝下泄的水流具有很大的动能,若不妥善进行处理,势必导致下游河床被严重冲刷,威胁建筑物的安全或其他建筑物的正常运行,甚至造成岸坡坍塌和大坝失事。所以,消能防冲措施的合理选择和设计,对枢纽布置、大坝安全及工程造价都有重要的意义。
消能工的设计原则是:①尽量使下泄水流的大部分动能消耗在水流内部的紊动中,以及水流与空气的摩擦上;②不产生危及坝体安全的河床或岸坡的局部冲刷;③下泄水流平稳,不影响枢纽中其他建筑物的正常运行;④结构简单,工作可靠;⑤工程量小,造价低。
常用的消能方式有:挑流消能、底流消能、面流消能和消力戽消能等。消能方式的选择主要取决于水利枢纽的具体条件,根据水头和单宽流量的大小,下游水深和变幅,坝基地质、地形条件和枢纽布置情况等,经技术经济比较后选定。挑流消能应用最广,底流消能次之,面流消能和消力戽消能一般应用较少,本节重点介绍挑流消能。
(1)挑流消能
挑流消能是利用溢流坝下游反弧段的挑流鼻坎,将下泄的高速水流抛向空中,利用水流在空中扩散、掺入大量空气时消耗部分能量,而后落到距坝较远的下游河床水垫中产生强烈的旋滚,大量能量消耗在水流旋滚的摩擦、撞击之中,从而达到消能的目的,如图2.22、图2.23所示。挑流消能一般适用于落差和流量较大,下游有一定的水垫深度,基岩比较坚固的中、高溢流重力坝,我国采用较多。

图2.22 连续式挑流鼻坎示意图

图2.23 挑流鼻坎示意图
(2)底流消能
底流消能是在坝下设置消力池、消力坎或综合式消力池和其他辅助消能设施,促使下泄水流在限定的范围内产生水跃。主要通过水流内部的旋滚、摩擦、掺气和撞击达到消能的目的,以减轻对下游河床的冲刷。底流消能工作可靠,但工程量较大,多用于低水头、大流量的溢流重力坝。
(3)面流消能
面流消能是利用鼻坎将下泄的高速水流挑至水面,使坎上射流与下游尾水在表层衔接,在鼻坎附近的表面主流与河床之间形成流向坝址的旋滚,将高速水流与河床隔开,避免了对临近坝址部分河床的冲刷,主流则在水面的逐渐扩散中消除能量,如图2.23所示。面流消能适用于下游尾水较深且水位变化不大的情况。
2.7 重力坝的材料及构造
2.7.1 重力坝的材料
重力坝的建筑材料主要是混凝土。水工混凝土,尤其是筑坝混凝土,具有不同于一般混凝土的特点。重力坝混凝土除应有足够的强度外,还应有一定的抗渗性、抗冻性、抗冲刷性、抗侵蚀性、抗裂性及低热性等。
(1)混凝土强度等级
大坝常用混凝土强度等级有C10,C15,C20,C25,C30。C7.5只用于应力很小的次要部位或作回填用;高于C30的混凝土应尽量少用,一般只用于重要构件和部位。
(2)混凝土的耐久性
1)抗渗性
大坝的上游面、基础层和下游水位以下的坝面均为防渗部位,这些部位的混凝土应具有抵抗压力水渗透的能力,即应具有一定的抗渗性能。抗渗性能通常用抗渗等级W表示。
大坝混凝土抗渗等级应根据所在部位和水力坡降确定,抗渗等级有W2,W4,W6,W8,W10。
2)抗冻性
混凝土的抗冻性能是指混凝土在饱和状态下,经多次冻融循环而不破坏,不严重降低强度的性能。通常用抗冻等级F来表示。
抗冻等级一般应根据气候分区、冻融循环次数、表面局部小气候条件、水分饱和程度、结构构件重要性和检修的难易程度确定,抗冻等级有F50,F100,F150,F200,F300。
3)抗磨性
混凝土的抗磨性是指抵抗高速水流或挟沙水流的冲刷、磨损的能力。目前,尚未制定出定量的技术标准,一般而言,对于有抗磨要求的混凝土,应采用高强度混凝土或高强硅粉混凝土,其抗压强度等级不应低于C20,要求高的不应低于C30。
4)抗侵蚀性
抗侵蚀性使指抵抗环境水的侵蚀性能。当环境水具有侵蚀性时,应选用具有抗侵蚀性的水泥和尽量提高混凝土的密实性。
5)抗裂性
为了防止大体积混凝土结构产生温度裂缝,提高坝体的抗裂性,除采取合理分缝、分块和温控措施外,还应选用水化热较低的水泥、合理的掺合料,减少水泥用量,再适当掺入粉煤灰或外加剂等。
(3)混凝土重力坝的材料分区
由于坝体各部分的工作条件不同,对混凝土强度等级、抗掺、抗冻、抗冲刷、抗裂等性能要求也不同。为了节省和合理使用水泥,通常将坝体不同部位按不同工作条件分区,采用不同等级的混凝土。图2.24所示为重力坝3种坝段的材料分区。
Ⅰ区为上、下游最高水位以上坝体外部表面混凝土,Ⅱ区为上、下游水位变动区的坝体外部表面混凝土,Ⅲ区为上、下游最低水位以下坝体外部表面混凝土,Ⅳ区为坝体基础混凝土,Ⅴ区为坝体内部混凝土,Ⅵ区为抗冲刷部位(如溢洪道溢流面、泄水孔、导墙和闸墩等)。大坝分区特性见表2.12。

图2.24 坝体分区示意图
表2.12 大坝分区特性

注:表中有“++”的项目为选择各区等级的主要控制因素,有“+”的项目为需要提出要求的,有“-”的项目为不需提出要求的。
坝体为常态混凝土的强度等级不应低于C7.5,碾压混凝土强度等级不应低于C5。同一浇筑块中混凝土强度等级不宜超过两种,分区厚度尺寸最少为2~3m,以便于施工。
2.7.2 重力坝的构造
(1)坝体的防渗与排水设施
1)坝体的防渗
在混凝土重力坝坝体上游面和下游面最高水位以下部分,应多采用一层具有防渗、抗冻、抗侵蚀的混凝土作为坝体防渗设施,防渗指标根据水头和防渗要求确定,防渗厚度一般为作用水头的1/20~1/10,但不小于2m。
2)坝体排水设施
靠近上游坝面应设置排水管幕,以减小坝体渗透压力。排水管幕距上游坝面的距离一般为作用水头的1/15~1/25,且不小于2m。排水管间距为2~3m,管径为15~20cm。排水管幕沿坝轴线一字排列,管孔铅直,与纵向排水、检查廊道相通,上下端与坝顶和廊道直通,便于清洗、检查和排水,如图2.25(a)所示。
排水管一般用无砂混凝土管,可预制成圆筒形和空心多棱柱形,如图2.25(b)所示。

图2.25 重力坝内部排水构造(单位:mm)
在浇筑坝体混凝土时,应保护好排水管,以防止水泥浆漏入排水管内,阻塞排水管道。
(2)重力坝的坝身廊道及泄水孔
1)坝内廊道
重力坝的坝体内部,为了满足灌浆、排水、观测、检查和交通等要求,在坝体内设置了不同用途的廊道,这些廊道可沿纵向、横向及竖向进行布置,相互连通,构成了坝体内部廊道系统,如图2.26所示。

图2.26 坝内廊道系统
1—坝基灌浆排水廊道;2—基面排水廊道;3—集水井;4—水泵室;5—横向排水廊道;
6—检查廊道;7—电梯井;8—交通廊道;9—观测廊道;10—进出口;11—电梯井
①坝基灌浆廊道。通常沿纵向布置在坝踵附近,一般距上游坝面不应小于0.05~0.1倍水头,且不小于4~5m,廊道底距基岩面3~5m,在两岸则沿岸坡布置。如岸坡过陡,则分层设置廊道,并用竖井将它们连接起来。廊道尺寸要满足钻机尺寸,一般最小为2.5m×3.0m(宽×高)。
②检查和观测廊道。用以检查坝身工作性能,并安放观测设备,通常沿坝高每15~30m设一道。此种廊道最小尺寸为1.2m×2.2m。
③交通廊道和竖井。用以通行与器材设备的运输,并将有关的廊道连通起来,各层廊道左右岸各有一个出口,要求与竖井、电梯井连通。
④坝基的排水廊道。此廊道由坝基排水孔收集基岩排出的水,经过设在廊道底角的排水沟流入集水井,并排至下游。若排水廊道低于下游水位,则应用水泵将水送至下游。收集坝身渗水的排水廊道沿坝高每隔15~20m布置一道。渗水由坝身排水管进入廊道排水沟,再沿岸坡排水沟流至最低排水廊道的集水井。
坝内廊道的布置应力求一道多用,综合布置,以减少廊道的数目。一般廊道离上游的坝面不应小于2~2.5m。廊道的断面形式一般采用城门洞形,这种断面应力条件较好。也可采用矩形断面。此外,还可根据需要设专门性廊道。
2)坝内泄水孔
在水利枢纽中,为了满足泄洪、灌溉、发电、排沙、放空水库及施工导流等要求,需在重力坝身设置多种泄、放水的孔口。这些孔口一般布置在设计水位以下较深的部位,工程上称为深式泄水孔,如图2.27所示。泄水孔无论孔口的用途如何,按孔内水流状态分为有压或无压泄水孔两大类。发电压力输水孔为有压孔,其他用途的泄水、放水孔可以是有压孔,也可以是无压孔。有关泄水孔布置结构组成、高程及应力计算,可参考有关技术手册。

图2.27 坝身泄水孔(单位:m)
1—泄水孔;2—弧形门;3—检修门槽;4—通气孔;5—锥形阀;6—排水管;7—拦污栅;8—廊道;9—检查井;10—导流底孔
尽管各种泄水孔口用途不同,但在技术允许的条件下,应尽可能一孔多用,如导流与泄洪孔结合,放空水库与排沙相结合,或放空水库与导流相结合,灌溉与发电相结合等。
(3)重力坝的分缝与止水
1)坝体分缝
由于地基不均匀沉降和温度变化,施工期的温度应力、施工浇筑能力和温度控制等因素,一般要求将重力坝坝体进行分缝。
按缝的作用可分为沉降缝、温度缝及工作缝。沉降缝是将坝体分成若干段,以适应地基的不均匀沉降,防止产生沉降裂缝,常设在地基岩性突变处。温度缝是将坝体分块,以减小坝体伸缩时地基对坝体的约束,以及新旧混凝土之间的约束,从而防止产生裂缝。工作缝(施工缝)主要是便于分期分块浇筑、装拆模板及混凝土的散热而设的临时缝。
按缝的位置可分为横缝、纵缝、水平缝。
①横缝
横缝是垂直于坝轴线的竖向缝,如图2.28(a)所示,可兼作沉降缝和温度缝,一般有永久性缝和临时性缝两种。永久性横缝是指从坝底至坝顶的贯通缝,它将坝体分为若干独立的坝段,若缝面为平面,则不设缝槽,不进行灌浆,使各坝段独立工作。横缝间距(坝段长度)一般可为12~20m,有时可达到24m(温度缝)。若做沉降缝考虑间距可达50~60m。当坝内设有泄水孔或电站引水管道时,还应考虑泄水孔和电站机组间距;对于溢流坝,可将缝设在闸墩中;地基若为坚硬的基岩,也可将缝布置在闸孔中央。
横缝也可做成临时缝。主要用于岸坡较陡、坝基地质条件较差或强地震区,为提高坝体的抗滑稳定性,在施工期用横缝将坝体沿轴线分段浇筑,以利于温度控制,然后对横缝进行灌浆,形成整体重力坝。
②纵缝
纵缝是为适应混凝土浇筑能力和减小施工期温度应力而设置的临时缝,可兼作温度缝和施工缝,平行于坝轴线设置。其布置形式有竖直纵缝、斜缝和错缝。
竖直纵缝将坝体分成柱块状,如图2.28(b)所示。混凝土浇筑施工时干扰小,是应用最多的一种施工缝,间距视混凝土浇筑能力和施工期温度控制而定,一般为15~30m。纵缝须设在水库蓄水运行前,混凝土充分冷却收缩,坝体达到稳定温度的条件下进行灌浆填实,使坝段成为整体。

图2.28 重力坝的横缝及纵缝
斜缝是大致沿主应力方向设置的缝,如图2.28(c)所示。由于缝面剪应力很小,从结构的观点看,斜缝比直缝合理。斜缝张开度很小,一般不必进行水泥灌浆。但斜缝对相邻坝块施工干扰较大,对施工程序要求严格,加之缝面应力传递不够明确,故目前已很少采用。
错缝浇筑类似砌砖方式,是采用小块分缝,交错地向上浇筑。缝的间距一般为10~15m,浇筑高度一般为3~4m,在靠近基岩面附近为1.5~2.0m。错缝浇筑在坝段内没有通到顶的纵缝,结构整体性较强,可不进行灌浆。由于错缝在施工中各浇筑块相互干扰大,温度应力较复杂,故此法只在低坝中应用,我国用得极少。
③水平工作缝
水平工作缝是上下层新老混凝土浇筑块之间的施工接缝,是临时性的。施工时需先将下块混凝土表面的水泥浮皮及浮渣用风水枪或压力水冲洗掉,并使表面成为干净的麻面,再铺一层2~3cm厚的水泥砂浆,然后在上面浇混凝土。国内外普遍采用薄层浇筑,每层厚1.5~4.0m,以便通过表面散热,降低混凝土温度。
2)止水
重力坝横缝的上游面、溢流面、下游面最高尾水位以下及坝内廊道和孔洞穿过分缝处的四周等部位应设置止水设施。
止水有金属的、橡胶的、塑料的、沥青的及钢筋的。金属止水片有铜片、铝片和镀锌片,止水片厚一般为1.0~1.6mm,两端插入的深度不小于20~25cm。橡胶止水和塑料止水适应变形能力较强,在气候温和的地区可用塑料止水片,在寒冷的地区则可采用橡胶止水,应根据工作水头、气候条件、所在部位等选用标准型号。沥青止水置于沥青井内,井内设有蒸汽或电热设备,加热可使沥青玛脂熔化,使其与混凝土有良好的接触。钢筋止水是把做成的钢筋塞设置在缝的上游面,钢筋塞与坝体间设有沥青油毛毡层,当受水压时,钢筋塞压紧沥青油毛毡层而起止水作用。

图2.29 横缝止水构造示意图
1—横缝;2—沥青油毡;3—止水片;4—沥青井;5—加热电极;6—预制块;7—钢筋混凝土塞;8—排水井;9—检查井;10—闸门底槛预埋件
高坝的横缝止水常采用两道金属止水片和一道防渗沥青井,如图2.29所示。当有特殊要求时,可考虑在横缝的第二道止水片与检查井之间进行灌浆止水的辅助设施。中、低坝的横缝止水可适当简化。如中坝第二道止水片可采用橡胶或塑料片等。低坝经论证也可采用一道止水片,一般止水片距上游坝面0.5~2.0m,以后各道止水设施之间的距离为0.5~1.0m。
在坝底,横缝止水必须与坝基岩石妥善连接。通常在基岩上挖一道深30~50cm的方槽,将止水片嵌入,然后用混凝土填实。
2.8 其他形式的重力坝
2.8.1 碾压混凝土重力坝
碾压混凝土重力坝是用水泥含量比较低的超干硬性混凝土,经碾压建成的混凝土坝。与常态混凝土坝相比,具有如下优点:
①施工工艺程序简单,可快速施工,缩短工期,提前发挥工程效益。
②单位体积胶凝材料用量少,一般在120~160kg/m3,其中水泥用量为60~90kg/m3。
③由于水泥用量少,结合薄层大仓面施工,因而坝体内部混凝土的水化热小,散热面大,从而简化了温控措施。
④可不设纵缝,节省了模板及接缝灌浆等费用。
⑤可采用大型通用施工机械设备,加快施工进度。
⑥工程造价低。
世界上第一座碾压混凝土坝为1980年建于日本的岛地川坝,坝高89m。据不完全统计,至1998年底,已建和在建的碾压混凝土坝(坝高大于15m)已有200余座。我国已建的最高碾压混凝土坝为广西龙滩水电站大坝,最大坝高为216.5m,也是目前世界上最高的碾压混凝土坝。
碾压混凝土重力坝的断面设计、水力设计、应力和稳定分析与常态混凝土重力坝相同,但在材料与构造方面需要适应碾压混凝土的特点。
2.8.2 浆砌石重力坝
浆砌石重力坝与混凝土重力坝相比,具有就地取材、节省水泥、节省模板、不需要另设温控措施、施工技术简单,易于掌握等优点,因而在中小型工程中得到了广泛应用。但由于是人工砌筑,砌体质量不易控制,防渗性能差,且修整、砌筑机械化程度较低,施工期较长,耗费劳动力,故很少在大中型工程中采用。
2.8.3 宽缝重力坝
宽缝重力坝是将坝段间的横缝部分扩宽(仅在上游端和下游端闭合)的重力坝。
与实体重力坝相比,具有以下两个优点:
①坝底扬压力较小,坝体混凝土方量比实体重力坝可节省10%~20%。
②设置宽缝后,水平截面形状接近工字形,该截面形状比实体重力坝的矩形截面具有较大的惯性矩,可以改善坝体的应力条件。
宽缝重力坝的主要缺点是增加了模板用量,立模也较复杂,分期导流不便。
宽缝重力坝的抗滑稳定分析,基本原理和实体重力坝相同,但需以一个坝段作为计算单元。
2.8.4 空腹重力坝
在实体重力坝底部沿坝轴线方向设置大尺寸的空腔,即为空腹重力坝。
与实体重力坝相比,其优点是:
①由于空腹下部不设底板,减小了坝底面上的扬压力。
②节省混凝土方量20%~30%左右,减少了坝基的开挖量。
③空腹为布置水电站厂房及进行检查、灌浆和观测提供了方便。
空腹重力坝的缺点是施工复杂,钢筋模板用量大。
空腹重力坝的腹孔净跨度一般为坝底全宽的1/3,腹孔高一般为坝高的1/4~1/5,为便于施工,空腹重力坝上游边大都做成铅直的,下游边的坡率为0.6~0.8。空腹重力坝的坝体应力情况比较复杂,其坝体应力可采用有限元法和结构模型进行分析,材料力学法一般不适用。
复习思考题
1.重力坝的工作原理和重力坝的工作特点是什么?
2.重力坝的主要荷载有哪些?如何计算?
3.重力坝抗滑稳定分析方法有哪些?提高坝体抗滑稳定性的措施有哪些?
4.溢流坝的剖面设计原则和步骤各是什么?
5.溢流重力坝常用的消能方式有哪几种?各自适用的条件是什么?
6.坝体材料为什么要分区?如何分区?
7.坝内廊道有哪些?各有何作用?各自的设置部位和尺寸如何?
8.为什么重力坝要分缝?缝有哪几种类型?施工中如何处理?
练习题
一、填空题
1.非溢流坝的坝顶或防浪墙顶必须高出库水位,其高出库水位的高度为Δh=hl+hz+hc,其中hl表示________,hz表示________,hc表示________。
2.重力坝按坝高可分为________、________、________3类。按泄水条件可分为_______、_______。按坝体结构形式可分为_______、________、________和________。
3.挑流消能的挑射角度一般为20°~25°。若挑射角度加大,________增大,且________加深。
4.溢流坝既是________,又是________,因此,坝体剖面设计时除要满足稳定和强度要求外,还要满足________的要求,同时要考虑下游的消能问题。
5.重力坝的泄水孔按其作用分为________、________、________、________、灌溉孔和放水孔。按水流的流态可分为________、________。
二、选择题
1.重力坝的主要荷载包括( )。
A.扬压力 B.自重
C.温度荷载 D.水压力
2.实体重力坝的结构形式简单,设计施工比较复杂,其缺点是( )。
A.扬压力大 B.扬压力小
C.工程量较小 D.工程量较大
上一篇:工程项目建设程序
下一篇:液晶体与液晶体显示器





.jpg)
.jpg)
