
一、电阻式加热设备
根据焦耳定律,通电导体在通过一段时间的电流后,会发出热量,即将电能转化为热能。根据此原理,将电阻(电热元件中的电热材料)发出的热量用来加热食物,即可实现电能向热能的转化。平常我们接触的大部分厨房电加热设备都属于此类电阻式加热设备,如电饭锅、电灶、电油炸锅、电饼铛、电热水器、电热恒温设备以及西餐中应用的扒炉等。
【提示】
电饼铛又称为自动恒温煎饼机,主要是利用金属管作为电热元件,与铛体铸为一体,升温快,适用于各种饼类食品的烙制,是饮食业不可缺少的电阻式加热设备。
电热恒温设备,在饮食业中主要用于对食品的恒温加热,主要有浸水式电热恒温设备以及移动式恒温设备。浸水式电热恒温设备以电热棒为热源,在水中加热。有用做饭、粥、汤等的保温的电热保温饭桶;有用于面包原料发酵的面包醒发柜;有用于带汤汁的菜肴保温的电热保温售饭柜;此外还有电热卤水恒温柜和各种抽屉式恒温柜等。电热式的恒温设备一般可根据实际营业需要随时设计。
(一)电扒炉
扒炉又称铁扒炉,它是利用铁条架或铁板导热,使生的原料直接摆放或串起置放炉中加热而产生独特的香鲜味,经过扒炉制作的菜品,外脆里嫩,鲜香扑鼻。扒炉是各大酒店、中西餐馆厨房设备中必备的加热工具。近几年来,铁扒炉在中餐烹饪中蔓延和扩展,特别是大型自助餐、烧烤中餐铁扒菜品与日俱增。以其香浓的风味不断满足着各地顾客的需求。其具有使用简便、省时、省工、卫生、实用等特点。
扒炉按使用的能源可分为燃气扒炉和电扒炉。最常用的是电扒炉,以电为热源,用于煎扒肉类、海鲜,煎蛋、炒面、炒饭等很方便和卫生,因而得到广泛推广。
按加热铁板的外形又可分为平扒炉、坑扒炉、半平半坑的扒炉。坑扒炉即是用铁条架导热,受热面积不匀,但需要的就是这种效果,通过铁条的干扒,烙印,而呈现出一种独特的风格。平扒炉,也称铁板炉,是利用铁板导热,其受热面均衡,类似于平底锅煎烙。各色荤素原料都可以扒制食用。
有的扒炉还与炸炉、焗炉、多士炉、面火炉、炉灶和烤箱等设备一起组合成连体西餐灶。
1.主要结构
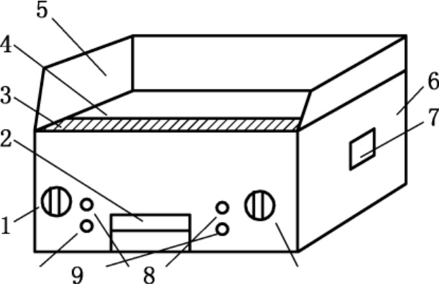
一般的电扒炉内发热材料以线圈状置于金属管(一般为不锈钢管)电热元件中,发热元件一般装在铁板的下面,通电发热后热传导给铁板。比如由无锡市金城环保炊具设备有限公司生产的电热扒炉采用优质不锈钢制作;炉面经过精度抛光的钢炉板制成,方便清理杂物及维修保养;每12英寸配置双根共计4kW发热管,电热管嵌入在扒炉面板里面,可增加热交换面积50%以上,能量利用率高,而且电热管和炉板固定牢固;正面有一个温控器,进行控制,具有很强的分区操作及加热性。电扒炉外形图见图3-50所示。
2.安装要求
通过调整4只脚将扒炉调整平稳。炉具的安装地点不能和易燃材料接近。安装时必须加漏电开关。
3.使用
(1)准备工作 在扒制之前,先将原料处理成所需的形状后,撒上盐和胡椒粉等调味品,再刷上一层油。所用原料厚薄应适中。偏薄会影响菜肴形态,成熟后原料发干,影响菜肴的品味。
(2)首先接通电源,开铁扒炉预热调节一个待机温度(一般为120℃),然后根据烹制不同的食物调节温度(一般180~200℃),以提高烹调食物的效率。
(3)待红色指示灯亮,绿色指示灯熄灭时,表示已达到所需温度,抹油放食物扒炙,见原料面上扒出铁条的烙印后即翻转。
(4)扒制较厚的原料要先用较高的温度扒上色,再降低温度扒制成熟。根据原料的厚度和客人要求的火候掌握扒制的时间一般在5~6分钟之间。
(5)使用完毕后,将炉体开关关闭,切断电源。

图3-50 电扒炉外形图
1—温控开关;2—接油槽;3—上油槽;4—精扒面板;
5—遮挡板;6—不锈钢护身;7—电源接线;
8—绿色指示灯;9—红色指示灯
4.保养及其注意事项
(1)每天工作完毕后,需要清理铁板,清除油盒内的残渣和油,保持油盒、铁板的清洁。
(2)切勿将易燃物品放在炉面任何位置,否则可能引起燃烧,发生火灾事故。
(3)每天检查扒炉的温控开关,保持扒炉温控开关的灵敏度,控制电路内有干电池,半个月或一个月根据情况更换一次。
(4)切勿在表面使用浮石、扒炉石或磨料。切勿使用锋利工具刮铲、敲击扒炉表面。切勿使用钢刷。切勿在扒炉表面上使用工业用的液体清洁剂。
5.简单使用故障(见表3-2)
表3-2 扒炉简单使用故障

(二)电炸锅
电炸锅是用来专门生产油炸食品的热设备,与电煎锅相比,锅内油的液位较深,能使食品全部浸入油中。根据油炸压力的不同,油炸设备分为常压油炸、真空油炸和高压油炸(大于1个大气压)设备。
1.无烟型常压多功能油炸蒸煮锅
传统的饭店中应用的常压间歇式油炸锅在菜品炸制过程中容易出现烧焦、冒烟、耗油过大并产生大量有害物质(丙烯醛,油烟的主要成分),严重影响使用者的健康。为克服此问题,现在的油炸锅都考虑采取中间加热式、油循环加热式及间接加热式等方式。其中,无烟型多功能油炸蒸煮锅即属于中间加热式,如图3-51所示。
【小资料3-8】
中间加热式、油循环式、间接加热式
中间加热式,即在油层的中间设置加热管。这样,油温分成两个区域,加热管上层的油区为高温区,下层为冷温区,避免了油炸残渣在高温中的反复油炸。其传热面积和热效率都得到了提高。缺点是加热管下面的油的循环回流速度减小;此外,由于加热管的存在,使得冷温区的清扫工作不易。因此,近年来用水代替冷温区的油,待工作完毕后,将水和残渣一起放掉。此种形式又称为清洁油炸锅。如日本某公司推出的所谓生态油炸锅,能让金鱼在滚烫的热油下的20℃的水中自在游弋。无烟型多功能油炸蒸煮锅即属于清洁油炸锅。
油循环式,即为在油锅外另设一热交换器,将油从油锅内抽出,经热交换器加热后再泵入油锅,不断循环。其特点是热效率高,且不产生过热;操作人员可远离高温,改善工作环境。
间接加热式,以从锅炉来的高压蒸气作为热交换器的热源,对油进行加热。可通过调节蒸气和油的循环量来控制温度。

图3-51 圆桶型油水混合式油炸蒸煮装置
1—箱体;2—操作系统;3—锅盖;4—蒸笼;5—滤网;6—冷却循环系统;7—排油烟管;8—温控数显系统;
9—油位显示仪;10—油炸锅;11—电气控制系统;12—放油阀;13—冷却装置;14—蒸煮锅;
15—排油烟孔;16—加热器;17—排污阀;18—脱排油烟装置
(1)结构与工作原理 炸制食品时,将滤网5置于加热器16上,在油炸锅10内先加入水至油位显示仪9规定的位置,再加入油至油面高出加热器上面约60mm的位置,由电气控制系统11控制的加热器可以将其上部的油层温度控制在180~230℃之间。并通过温控数显系统8准确地将油层最高温度显示出来。炸制过程中产生的食物残渣,从滤网5漏下,经过油水分界面进入油炸锅下部的冷却水中,积存在锅底部,定期由排污阀17排除。炸制过程中产生的油烟从排油烟孔15进入排油烟管7,通过脱排油烟装置18排除。放油阀12具有放油和加水的双重作用。由于加热器16设计为只在上表面240℃的圆周上发热,再加上油炸锅10的上部外侧涂有高效保温隔热材料,故加热器产生的热量就能有效地被油炸层所吸收,热效率得到进一步提高。而加热器下面的油层温度则远远低于油炸层的温度。当油水分界面的温度超过50℃时,由电气控制系统11控制的冷却装置13即强制地将大量冷空气通过布置于油水分界面上的冷却循环系统6抽出,形成高速气流,将大量热带走,使油水分界面的温度能自动控制在55℃以下,并通过数显系统8显示出来。
如将油炸锅内的油和水排净,取出滤网,将配套设计的蒸煮锅14置于加热器上,则又可用于煎、炒、蒸、煮等多种烹饪功能。
(2)特点 该锅彻底改善了油质状况,去除了油烟污染,不仅提高了油炸食品的质量,而且大大降低了油料消耗,节省了能耗。
2.压力炸锅(高压式)
压力炸锅采用不锈钢制造,气、电两用,外形美观,油温、炸制时间自动控制,并具有报警装置和自动排气功能;操作安全可靠,元油烟污染。该机能炸制多种食品,可炸制鸡、鸭、鱼、肉、糕点、蔬菜、薯类等食品。如中式食品有:香酥鸡、牛排、羊肉串;西式食品有:美国肯德基家乡鸡、派尼鸡及加拿大帮尼炸鸡等。主要用于中、西快餐厅、宾馆、饭店、机关工厂食堂及个体经营。其外形图如图3-52所示。

图3-52 压力炸锅
压力炸锅比普通开启式炸锅效率高,能在短时间内将食品内部炸透。色、香、味俱佳,营养丰富,风味独特,外酥里嫩,老少皆宜。且能炸多种食品,如鸡、鸭、鱼各种肉类,排骨、牛排和蔬菜、土豆等。温度、压力和炸制时间选定后,实现自动控制,因而操作简单。因为采用不锈钢材料制造,安全、卫生、无污染。自动滤油装置,能够使锅内油质保持清洁。操作方便,自控系统性能高,能源消耗低,适应范围广,可采用两种电压电源(380V或220V)工作。
允许一次炸制食品量:6~7kg;锅内容油量:23~24kg;可调工作温度:50~200℃;额定工作压力:0.085MPa(表压);工作时间:0~20min;供应电源:380V,50Hz,三相四线制;额定功率:9kW;外形尺寸(宽×深×高):460mm×1000mm×1330mm(锅盖关闭时);机器重量:110kg。
(三)电热开水机
电热开水机应用于宾馆、酒店、工厂、机关、学校等大量需要饮用开水的地方,属于电加热设备技术领域。申请专利号CN200420108987.0的电热开水机(由无锡市金城环保炊具设备有限公司生产)的外形如图3-53所示。

图3-53 电热开水机外形图
1.结构组成
主要采用温度传感器、水位传感器、回水管、加热管紧固在内胆盖板上,内胆盖板固定在内胆的上部,电脑控制板装在控制板支架的上面安装在内胆的后部,溢水杯装在底板上,进水系统安装在壳体后面。其原理如图3-54所示。

图3-54 电热开水机原理图
2.开水机的一般操作
因该机是微电脑控制的智能设备,所以它的一般操作十分简单,按规定接好电源和进水管后,使用者只须按下本机后面的电源开关到“ON”的位置,机器就开始自检,并根据当时机器的状态进入相应的程序作出相应的指示。一般来说经过补水和几分钟的加热后,只要READY指示灯亮,就可以取水饮用。
3.特点
开水机全部由不锈钢制成,内胆有良好的保温层;具有最新的电脑控制,能自动检测、控制水位和水温。加热方式有连续加热和脉冲加热,以保证水温精确控制在设定温度,无蒸气泄漏,有效节约能源,大大降低使用成本,还设有故障自检及警报,使维修直观方便。设有防干烧、防溢水、防过热,对加热管和设备起到有效保护,有效延长设备的使用寿命。
4.维护保养
为了确保开水机能安全、经济地正常使用,必须定期保养。保养时一定要关闭进水阀门、切断电源,非专业人士不得擅自拆卸开水机。日常保养每月一次。
(1)外壳的清洁 用清洁的湿布擦拭外壳,必要时使用中性的洗洁净,擦去外壳上的污垢。
(2)内胆的清洁 使用专用的清洗剂,浸泡内胆30分钟,然后用清水冲洗。请不要打湿控制板和电器元件。
(3)水位和温控探头的清洁 使用专用的清洗剂,擦洗探头,然后用请水冲洗。
(4)电热管的清洁 用清洁的湿布擦拭即可。
(5)如有一段时间不用开水机,应将外接电源断开,并且切断进水水源。
5.简单故障检查及保养
开水机出现故障,应由专业维修人员进行检修,或与经销商联系。但实际上在使用中的一般故障即可自行解决,当然在解决时需要切断电源。简单使用故障及排除措施见表3-3所示。
表3-3 电热开水机简单使用故障及排除措施

上一篇:消费者的购买行为模型
下一篇:中国贸易顺差的规模





.jpg)
.jpg)
