
第四章 排灌机械
第一节 概述
一、灌溉的种类
为了保证作物生长和发育所需水分的供给,就应有计划地将水源的水输送到田间。农田灌溉通常有地面灌溉、喷灌、滴灌和渗灌等方法。
(一)地面灌溉
将水源的水提到地面以上,再通过沟、渠或管道送往田间,借助重力或毛细管作用浸润土壤。该种方法简单,应用广泛,投资少,但水量消耗大,易形成径流。
(二)喷灌
将水源的水以一定压力送往田间,然后通过喷头把水喷向空中,呈两滴状散落于地面浸润土壤。这种方法省水,有利于土壤团粒结构的保持,对地形的适应性强,但投资高,维护要求较高。
(三)滴灌
将水增压后,经过滤再通过低压管道送到田间的滴头上,以点滴的方式滴入作物根部满足作物对水的需求。该方法省水,利于增产,是一种较好的灌溉方法,但投资高,滴头维护困难。
(四)渗灌
在田间的地下设置专用管道,借毛细管作用自下而上浸润熟土层。这种方法灌水质量好,多雨时还可以排水,但造价高,检修困难,应用较少。
二、农田灌溉设备的组成
(一)农田灌溉抽水机组
它由水泵、动力机、输水管路及附件组成(图4-1)。
(二)喷灌设备
它由水泵、输水管、动力机和喷头组成(图4-2)。分为固定式、半固定式和移动式三种。半固定式机组的泵、动力机和干管固定不动,支管和喷头可以移动,喷灌灵活,管路利用率高,应用较多。移动式机组将喷灌设备联为一体,在田间设置的水源处定点喷洒,使用方便,但供水点设置不合理会影响整个灌区的效果。
(三)滴灌设备
由泵、管路、化肥罐、过滤器、控制阀和滴头等组成(图4-3)。

图4-1 水泵机组
1.底阀;2.吸水管;3.弯头;4.变径管;5.真空表;
6.水泵;7.压力表;8.逆止阀;9.闸阀;10.压水管

图4-2 固定式喷灌设备
1.泵站;2.竖管;3.喷头;4.干管;5.支管

图4-3 滴灌设备
1. 水源;2. 水泵;3. 流量计;4. 压力表;5. 减压阀;
6. 化肥罐;7. 过滤器;8. 阀门;9. 干管;10. 流量调节器;
11. 支管;12. 毛细管和滴头;13. 果树;14. 绕树毛细管和滴头
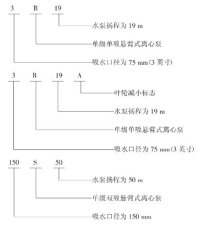
三、水泵的类型与型号
农业灌溉用水泵根据工作原理不同,可以分为:叶片泵、容积泵和其他类型泵(射流泵、水锤泵等)。应用最多的为叶片泵。
(一)叶片泵的类型
叶片泵按工作原理、轴位和叶轮分类如下:

(二)型号及含义
1.离心泵
一般用字母B(泵)、S(双吸泵)、D(多级泵)表示。字母前的数字表示口径,字母后面的数字表示扬程。例如:


20世纪80年代中期,我国根据ISO国际标准设计定型了新系列水泵,它比一般水泵效率和汽蚀性能都有较大提高,噪声低,振动小。但生产厂家尚少。新系列泵型号的含义如下:

2.轴流泵
通常用字母ZLB、ZWB、ZLQ、ZL、ZX、ZW等表示。字母前后的数字分别表示出口内径和比转数。字母含义为:
Z——轴流泵;
Q——叶片为全可调;
W——卧式结构;
B——叶片为半可调;
L——立式结构;
X——斜式结构。
型号表示方法如下:

3.混流泵
常用HB、HW、HD等表示,也有用汉字表示的。字母前面数字表示泵进、出口直径,字母后面的数字表示扬程或比转数。例如:

第二节 农用水泵
一、农用水泵的工作原理
(一)离心泵的工作原理
当动力机驱动叶轮高速旋转时,充满叶轮流道内的水被带动旋转,水在离心力作用下由叶轮中心甩向外缘,水的流速越来越高,从而使水增能,最后导向出口。水甩出后,叶轮中心便产生了一定的真空度,在水源水面大气压的作用下,水源源不断地沿吸水管进入叶轮内。叶轮不停地旋转;水也不断地吸入和甩出,实现了水的增能输送(图4-4)。

图4-4 离心泵的工作原理
1.压水管;2.叶轮;3.泵壳;4.吸水管;5.底阀
(二)轴流泵的工作原理
它与离心泵不同,叶轮外形与螺旋桨相似,叶轮断面与飞机机翼断面相似,当其叶轮旋转时,便对水产生推力,完成了水的增能输送过程。改变叶片安装角,可以改变其推力大小,从而调节水泵性能。
(三)混流泵的工作原理
混流泵的叶轮叶片形状介于离心泵与轴流泵之间,对水施加离心力和推力而增能输送。
二、离心泵的构造
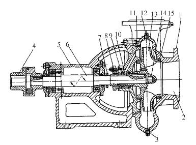
(一)单级单吸离心泵
泵内只有一个叶轮,水从叶轮的一侧进入。主要由叶轮、泵体、泵盖、减漏环、轴封装置、泵轴轴承和托架等组成(图4-5)。

图4-5 B型离心泵的构造
1.泵体;2.进水口;3.放水螺塞;4.联轴器;
5.托架;6.泵轴;7.挡水圈;8.填料压盖;9.填料;
10.水封环;11.后盖;12.放气螺塞;13.叶轮;
14.叶轮螺母锁片;15.减漏环
1.叶轮
叶轮的作用是将动力机的机械能传给水,转变为水的动能和势能。它是水泵的主要零件。叶轮有封闭式、半封闭式、开式三种。封闭式叶轮用于清水输送;半封闭式或开式叶轮用于含有杂质的水的输送(图4-6)。

图4-6 离心泵叶轮的种类
1.后盖板;2.叶片;3.前盖板;4.轮毂
2.泵体
泵体用于汇集叶轮甩出的水并导向出水管,降低水流速度,将水的部分动能变为势能。离心泵泵体流道为蜗壳形(图4-7)。

图4-7 蜗壳形泵体示意图
1.流道;2.叶轮;3.泵体
3.泵轴
它是传递动力的零件。由托架内的单列向心球轧承支承。轴的一端安装叶轮,另一端则安装皮带轮或联轴器。
4.减漏环
又称口环,由铸铁制成,压装在泵体与叶轮进口的配合处,使叶轮与泵体间保持较小的间隙,减少高压水的回流损失。减漏环当其磨损到一定程度时,可以更换。
5.轴封装置
用于密封泵轴与泵壳间的间隙,防止空气进入泵内和阻止压力水从泵内渗出。常见的轴封装置有填料密封装置、骨架橡胶密封装置和机械密封装置。
(1)填料密封装置由填料箱、填料、水封环、填料压盖等组成(图4-8)。是应用最广的一种,结构简单,更换方便,但填料松紧度难于控制,寿命短,密封性能较差。

图4-8 水泵填料密封装置
1.引水沟;2.填料箱;3.水封环;
4.填料;5.填料压盖;6.泵轴
(2)骨架橡胶密封装置结构简单,体积小,密封效果好,但寿命较短,主要用于小泵(图4-9)。

图4-9 水泵用骨架橡胶密封
1.泵轴;2.密封圈;3.外壳
(3)机械密封属于端面密封,磨损后能自补偿,密封性能好,使用寿命长,应用日趋广泛,但加工要求高,安装较麻烦(图4-10)。

图4-10 水泵用单端面机械密封
1. 紧定螺钉;2. 传动座;3. 弹簧;4. 推环;5. 动环密封圈;
6. 动环;7. 静环;8. 静环密封圈;9. 防转销
(二)双吸离心泵
其构造如图4-11所示。泵的吸水口和进水口均在轴线的垂直下方,泵体为水平中开式。叶轮为双吸式,即有两个进水口。

图4-11 双吸离心泵的结构
1.轴承座;2.轴承;3.引水管;4.泵盖;5.叶轮;
6.泵轴;7.水封环;8.填料压盖;9.联轴器;
10.轴套;11.填料;12.泵体;13.减漏环;14.填料套

图4-12 轴流泵的构造
1.联轴器;2.短管;3、10.橡胶轴承;4.泵轴;
5.出水弯管;6.导叶体;7.导叶;8.叶轮;
9.进水喇叭;11.填料
三、轴流泵
轴流泵由进水喇叭、导叶体、出水弯管、叶轮、泵轴、轴封装置和轴承等组成(图4-12)。
(一)进水喇叭
装于水泵下部,便于引导水流,减少泵入水处的水力损失。
(二)叶轮
它是轴流泵的主要工作部件,装在泵轴末端,由轮毂、叶片和导水锥组成。按叶片与轮毂的安装方式可分为:固定式叶轮、半调式叶轮和全调式叶轮。固定式叶轮的叶片固装在轮毂上,叶片安装角不能调整,用于小型水泵。半调式叶轮的叶片安装角可调,用它可调节流量,调节时需停机。全调式叶轮叶片安装角可在水泵工作时进行调整,调节方便,主要用于大、中型轴流泵。
(三)导叶体
安装在叶轮上方,构成泵的主要部分,其流道由下而上制成扩散型,而与叶轮相邻端则加工成球形,其上固装有导叶。主要作用是将水流的旋转运动导为轴向运动,减少水力损失。
(四)轴承
轴流泵在其出水弯管和导叶体中部均装有橡胶轴承。它用水润滑,运转中可以吸收和消除振动。启动前应通过其上的短管注水,以免启动困难或损坏轴承。
(五)泵轴
轴流泵的泵轴细长,在与轴承或填料接触的地方进行镀铬处理或嵌不锈钢套,增强其抗锈蚀和耐磨性能。
四、混流泵
混流泵通常分为蜗壳式和导叶式两种,其结构如图4-13和4-14所示。蜗壳式的构造类似于单吸离心泵,而导叶式的构造类似于轴流泵。

图4-13 蜗壳式混流泵
1.泵盖;2.叶轮;3.泵体;4.填料;
5.轴承;6.皮带轮;7.泵轴;8.轴承体

图4-14 导叶式混流泵
1.刚性联轴器;2.填料压盖;3.填料;4.填料箱;
5.橡胶轴承;6.泵轴;7.出水弯管;8.导叶体;
9.叶轮;10.进水喇叭;11.短管
五、深井泵
深井泵是专用于抽取井水的立式多级离心泵。一般都由两个以上的叶轮串联安装,逐级增能,扬程很高,可以从几十米到几百米的井下抽水,运行可靠,使用方便,但检修困难,主要用于北方靠地下水灌溉的地区。
深井泵的结构由泵体、泵座、扬水管、滤网和电机构成(图4-15)。泵体有一个进水节(下导流壳)、若干个中间节和一个出水节(上导流壳),它们之间各装有一个叶轮,叶轮采用锥形套及锁紧螺母固定在轴上,传动轴间有联轴器,扬水管为钢管,两相连水管的端面夹一轴承支架,内装橡胶轴承。

图4-15 长轴深井泵的构造
l.吸水管;2.下导流壳;3.锥形套筒;4.导流壳中段;
5.叶轮;6.橡胶轴承;7.上导流壳;8.联轴器;
9.轴承支架;10.联管器;11.法兰;12.底座;13.填料;
14.加润滑水管;15.电动机;16.传动头;17.调整螺母
六、管路及附件
输水系统除水泵和动力机外,还包括水管、底阀、弯头、变径管、逆止阀、闸阀、真空表和压力表等(图4-16)。

图4-16 水泵配用的管路及附件
1. 底阀;2. 吸水管;3. 弯头;4. 变径管;5. 真空表;
6. 水泵;7. 压力表;8. 逆止阀;9. 闸阀;10. 压水管
(一)水管
水管用于输水管路的直线段,可分为吸水管和压水管。农田灌溉常用钢管和铸铁管。若铺管容易,也可采用钢筋混凝土管和钢丝网水泥管。对移动式小泵抽水机组,也可配用胶管和塑料管。
(二)底阀和滤网
底阀用于启动前密封吸水管的下端,便于灌引水,滤网用于抽水时防止杂物进入泵内。通常滤网和底阀装为一体,装有底阀和滤网后,增大了水力损失,易引起故障,故常取消底阀,改为无底阀抽水(图4-17)。

图4-17 底阀和滤网示意图
1.阀体;2.橡皮垫;3.单向阀门;4.滤网
(三)弯头和变径管
弯头用于改变水流方向,实现直管间的连接,常见为90°和45°弯头两种,也可以根据地形,现场制作弯头。变径管用于连接与泵进、出口尺寸不一致的水管,它分为同心变径管和偏心变径管两种。同心变径管用于泵出口处的连接,偏心变径管用于水泵进口处的连接(图4-18)。

图4-18 变径管示意图
(四)逆止阀和拍门
逆止阀是一个单向阀,装于水泵的出口附近,其作用是防止水泵突然停机时所产生的水击对泵的破坏,常用于大流量、高扬程的离心泵,但其水力损失较大,故障率高,尽量少用。拍门装于压力水管的出水口,对水锤的防止有一定作用,闲置期封闭出口,可防异物进入管路系统,应用广泛。逆止阀和拍门的结构如图4-19所示。

图4-19 逆止阀与拍门
1.拍门体;2.拍门;3.阀门;4.阀盖;5.阀体
(五)闸阀
闸阀装于离心泵出水口附近(图4-20)其主要作用是:无底阀抽水时,用于封闭水泵出水口,以便抽真空引水;离心泵启动时,关闭闸阀可以降低启动功率;可用闸阀的开度变化,改变泵的运行工况点。轴流泵不应装配闸阀,混流泵最好也不装闸阀,否则容易过载而损坏水泵或电动机。
(六)真空表和压力表
分别安装在水泵进、出口的管路上,用以测量水泵进口的真空度和水泵出口的压力,以便了解或监视水泵的运行情况。
(七)真空泵
真空泵用于无底阀抽水系统。泵站常用的是水环式真空泵或手动活塞泵,图4-21为水环式真空泵的联结示意图。

图4-20 闸阀
1.手轮;2.丝杆;3.阀盖;4.阀瓣;5.阀体

图4-21 水环式真空泵联结示意图
1.放水阀;2.气水分离室;3.排气管;4.补水管;
5.补水阀;6.进气管;7.真空泵
水环式真空泵的工作原理如图4-22所示,在泵壳内装有一偏心的星状叶轮,启动前向泵壳内注入适量的水,启动后水在叶轮的作用下转动,由于离心力作用使得泵壳内形成一圈厚度相等的水环,叶轮的偏心,使得上部水环的边缘刚好与叶轮的轮毂外缘相切,而下部叶片头部刚好与水环内缘接触,这样就将泵内腔分成了左、右两部分。当叶片旋转时,右边的空间逐渐增大,容积增加则压力降低,空气便不断地从泵壳上的月牙形进气孔吸入。当空气到达左边时,空间逐渐减小,空气压力增大,空气便从泵壳上的月牙形排气孔中排出。为了保证水环式真空泵的可靠工作和散热,工作过程中应适当补充水量,图4-21中的补水管和补水阀就是为补水而设置的。

图4-22 水环式真空泵的工作原理
1.叶片;2.星状叶轮;3.进气孔;
4.水环;5.泵壳;6.排气孔
第三节 水泵的性能
一、水泵的性能参数
水泵的性能参数主要为流量、扬程、功率、效率、转速和允许吸上真空度等。
(一)流量Q
流量指水泵单位时间内的输水量,单位为m3/h或L/h。
(二)扬程H
扬程是指水泵进、出口水的能量差,即水泵传给水的能量(单位:m)。水泵铭牌上所标扬程为水泵最高效率时的扬程,又称为额定扬程。
在实际输水系统中,水泵工作扬程可按下式计算:
H=HB+HW
式中:H——泵的工作扬程(m);
HB——实际扬程(m);
HW——输水系统的损失扬程(m)。
(三)功率N
水泵功率分为有效功率Ne、轴功率N和配套功率Np三种。
水泵有效功率Ne是单位时间内水流过水泵所获得的能量,又称为水泵的输出功率。可按下式计算:
Ne=ρQH/102
式中:Ne——水泵的有效功率(kW);
ρ——水的密度(kg/m3);
Q——水泵的流量(m3/s);
H——水泵的扬程(m)。
轴功率N是水泵从动力机获得的功率,又称为水泵的输入功率。
配套功率Np是水泵配用动力机的功率,要求有一定的功率储备。根据水泵的轴功率可按下式计算配套功率。
Np=kN/ηe
式中:Np——配套功率(kW);
N——水泵的轴功率(kW);
ηe——传动效率(联轴器传动时,取1;三角皮带传动时,取0.95~0.98;平皮带传动时,ηe取0.85~0.95);
k——功率储备系数。
功率储备系数可由表4-1查取。
表4-1 功率储备系数

(四)效率η
水泵的效率是评价水泵设计、制造与使用经济性的重要指标,由下式计算:
(五)转速
转速为水泵叶轮每分钟转动的转数。铭牌上标注的转速为水泵的额定转速。使用时,水泵可以降速使用,但降后转速不应低于额定转速的50%。
(六)比转数
比转数也称为比转速,是反映水泵特性的综合性能参数。比转数相同的泵,其叶轮几何相似,泵的性能也相似。泵的比转数可由下式计算:

式中:ns——泵的比转数(r/min);
n——泵的额定转速(r/min);
Q——泵最高效率点的流量(m3/s)(若为双吸泵应除以2);
H——泵最高效率点的扬程(m)(若为多级泵则是单级叶轮的扬程)。
(七)允许吸上真空度[Hs]
水泵工作时,泵进水口处不产生气蚀时的最低压力。水泵工作时,若入口处压力低于该极限压力,水便会气化,生成大量的气体,这些气体与水混合后形成许多小气泡,当气泡进入高压区时便立即凝结,此时四周的水便突然向原气泡中心冲击,产生很高的局部压力,若该高压频频作用于泵的金属表面,金属便产生疲劳剥蚀,这就是气蚀,气蚀会使水泵性能变坏,还会破坏叶轮。使用时,应控制泵的安装高度,以避免气蚀的产生。
泵的允许吸上真空度为[Hs]时,不发生气蚀的安装条件为:
![]()
式中:Hg——水泵安装高度(m)(距水源水面的高度);
[Hs]——水泵的允许吸上真空度(m);
V1——水泵进口断面处的流速(m/s);
Hw1——水源水面至水泵入口处的管路损失(m);
Ha——水泵使用地点的大气压(mH2O);
Ht——当地水温下的饱和蒸汽压(mH2O)。
Ha和Ht可由表4-2和表4-3查得。
表4-2 不同海拔高度处的大气压Ha

表4-3 不同水温时水的饱和蒸汽压Ht

二、水泵的性能曲线
水泵在一定转速下运行,如改变其流量,则扬程、轴功率、效率和允许吸上真空度等都要发生变化。参数间的变化关系可以用曲线形式表示,这些曲线称为水泵的性能曲线。性能曲线可用于正确选择和使用水泵。离心泵、轴流泵和混流泵的性能曲线如图4-23所示。

图4-23 三种水泵的性能曲线
(一)流量—扬程曲线(Q—H)
离心泵关死点(流量为零)扬程比额定扬程高10%~30%,H随Q的增加而减小,变化缓慢,应用范围较宽。轴流泵关死点扬程比额定扬程高100%左右,H随Q变化急剧,而且形成了马鞍形的不稳定区,因此它的适应范围较窄。混流泵的Q—H曲线介于离心泵和轴流泵之间,关死点扬程比额定扬程高50%~80%,曲线变化较急。
(二)流量—功率曲线(Q—N)
离心泵的Q—N曲线为一条上升曲线,Q为零时,N最小,因此离心泵宜关闸启动,以降低动力机负荷,缩短启动时间。轴流泵的Q—N曲线与离心泵相反,呈下降曲线,Q为零时,轴功率比额定功率高20%~100%,故在轴流泵管路上不应装闸阀。混流泵的Q—N曲线也呈下降曲线,但变化较平缓,流量变化时,功率变化不大,流量为零时,轴功率为最大,因此也不宜关闸启动。
(三)流量—效率曲线(Q—η)
离心泵的流量—效率曲线变化较缓,特别是在效率最高点附近,因而高效范围较宽,在特性曲线上通常用分隔符(§)标明高效区,便于水泵的正确选用。轴流泵的Q—η曲线变化较陡,高效区较窄,运行时稍偏离设计工况点,效率就会下降许多。为了满足不同流量要求,大多数轴流泵叶轮的叶片安装角度是可调的。混流泵的Q—η曲线的变化介于离心泵与轴流泵之间。
(四)流量—允许吸上真空度曲线(Q—Hs)
流量—允许吸上真空度曲线随流量的增加而下降。因此离心泵在大流量下工作时,容易发生气蚀。
三、水泵的运行工况点
对一确定的输水系统,水泵的运行工况点是由泵的性能曲线和管路系统共同决定的。泵应在其高效区运行。
(一)管路系统的损失
由流体力学可知,水沿管路系统流动时,由于管壁的摩擦和水流方向的改变,将产生沿程损失和局部损失。管路系统的总损失可表示为:
Hw=hf+hj
式中:Hw——管路总损失(m);
Hf——管路沿程损失(m);
hj——管路局部损失(m)。
1.沿程损失hf可以用下述方法计算:
(1)达西—魏斯巴哈公式:
![]()
式中:λ——沿程阻力系数;
L——直管长度(m);
R——水力半径(圆管R=D/4,D为圆管管径)(m);
g——重力加速度(m/s2);
V——管内水流平均速度(m/s)。
(2)查图计算法
查流体力学的相关手册,从图中确定每100m管道的沿程损失为hk,则管路的沿程损失为:
![]()
式中:hk——每100m管路的沿程损失(m);
L——管路直管总长度(m)。
图4-24为钢管每100m的沿程损失。

图4-24 钢管每100m长的沿程损失
2.局部损失hj可由下式计算:
![]()
式中:ζ——局部阻力系数。
(二)管路性能曲线
输水系统工作所需扬程Hz与管路中流量的关系曲线称为管路性能曲线。其函数关系为:
Hz=HB+Hw=HB+CQ2
它为一条过Q=0、Hz=HB点的一条抛物线(图4-25)。
(三)水泵运行工况点
水泵运行时,其工作点必然在本身的Q—H曲线上,同时也必然在Q—Hz曲线上。
工作点可由作图法求得(图4-26)。

图4-25 管路性能曲线示意图

图4-26 水泵运行工况点示意图
第四节 水泵的选型与配套
一、设计流量与设计扬程的确定
设计流量和设计扬程是由农田灌区规划确定的,是配套水泵和管路系统的基本依据。
(一)设计流量
设计流量通常按灌区内最大流量计算。计算式为:
![]()
式中:Q——灌溉设计流量(m3/h);
m——用水高峰期作物的灌水定额(m3/m2),可查当地的农业资料;
A——作物的种植面积(m2);
T——轮灌天数(指农田连续两次灌水的间隔)(d);
t——每昼夜开机时间(h/d);
η——渠系利用系数,一般为60%~90%。
(二)设计扬程
指输水系统的总扬程,又称为系统所需扬程,可用下式计算:
H=HB+HW
实际扬程HB,由选定的抽水站地址的地况和水源状况决定,它等于进、出水池水位的高差。进水池的水位应以作物生长期内水源的平均水位为依据。
损失扬程HW,在水泵和管路未定之前,常用下面公式估算:
HW=(0.1~0.2)HB
二、水泵的选型
(一)初选泵型
根据设计流量和设计扬程可以初定泵型,其方法如下:
1.利用水泵综合型谱图选择水泵
综合型谱图如图4-27所示。在型谱图的横坐标上找到与设计流量对应的Q值,在纵坐标上找到与设计扬程相对应的H值,由(H、Q)确定的点将落在某一型号水泵的工作框内,则工作框所对应的型号即为初选的水泵型号。
2.用水泵性能表选择水泵
水泵性能常以表格形式给出。从表中可查出与设计流量和设计扬程相符的水泵,即为初选的泵型。水泵性能表见附表。

图4-27 部分B型泵的型谱图
3.利用快速选型表选择水泵
在表4-4中,由设计流量和设计扬程查出对应的水泵,即为初选的泵型。
表4-4 快速选型表

*经变速调节后使用,调后的水泵转速为右下方数值,单位为r/min。
(二)确定泵型
初选水泵后,应配置管路系统,再校核水泵工作点,只有工作点在高效区(性能表或型谱图上给出的为高效区参数;泵的性能曲线上对高效区做有标记),泵的选择才是合理的。
1.管路系统的确定
根据输水站址的具体地貌确定管路和附件,应尽量减少水力损失,提高管路效率。确定了管路系统后,应作管路特性曲线。
2.水泵工作点校核
求出水泵的运行工况点,若落在高效区,则泵的运行合理,否则应重新考虑管路或选用其他型号的水泵。
3.水泵气蚀性校核
根据站址地形确定实际安装高度Hgl,它等于水泵叶轮中心与水源水位的高度差。若枯水期仍要工作,水源水位应为枯水位。合理的安装条件为:Hgl≤Hg。
若不能满足气蚀要求,应降低实际安装高度或重新选择气蚀性能较好的水泵。
表4-5 快速选型表

表4-6 快速选型表

第五节 水泵的安装与使用
一、水泵的安装
(一)水泵的安装位置
在地理环境许可的条件下,水泵应尽量靠近水源,以减少吸水管的长度。水泵安装处的地基应牢固,对固定式泵站应修专门的基础。应有足够的空间,以便水泵的安装、维护和修理。
(二)水泵的基础
固定式泵站,必须修建泵的专用基础。修建时采用混凝土浇筑,泵用基础最好与泵房基础分开建造,以利隔震,若分开建造有困难,也应采取隔震措施。
(三)水泵与动力机的安装
机、泵底座应水平,与基础的联结应牢固。采用联轴器传动时,机、泵必须同轴线,检查方法(图4-28)。直尺在联轴器的上、下、前、后均与两联轴器紧贴为正确,否则应在机、泵下面加装垫片予以调正。两个半联轴器之间应留有适量的间隙,使轴有微量的轴向移动余地。间隙视泵的口径大小而定:300mm以下的间隙为2~4mm;350~500mm的间隙为4~6mm;600mm以上的间隙为6~8mm。可用塞规测量。
二、管路的安装
(一)进水管的安装
进水管必须有专用支承,不可吊装在水泵上,也不可直接支承在泵房的墙上。装有底阀的进水管,为了使底阀关闭严密,应尽量使底阀轴线与水平面垂直安装。如因地形所限,底阀安装时,其轴心线与水平面的夹角不得小于45°,图4-29为蝶形阀的安装正、误示意图。

图8-6 用直尺检查两轴同心
1.直尺;2.联轴器

图4-29 蝶形阀的安装
(二)进水管上的弯头和变径管的安装
弯头安装时,不应产生积气现象,应利于抽真空或灌引水排气,否则要影响泵的效率或产生振动。与泵进口相连的变径管,应为偏心变径管,安装后不应有积气现象。弯头不应直接与水泵进口相连,在弯头与泵之间应加装一定长度的整流管,使水进入泵后流线较好,利于泵的工作(图4-30)。
(三)底阀在进水池内的安装
底阀在进水池内的安装,应使抽水时水进入底阀内有较好的流线,以减少进口处的水力损失(图4-31)。

图4-30 进水管路的安装

图4-31 底阀的正确安装
(四)出水管的安装
出水管应尽可能短直,少用弯头。出水管的支承应可靠,设置支墩的密度应合理。在转弯处应设镇墩,以防抽水时水管侧移。
三、水泵的使用
(一)水泵的运转
启动前应做如下检查:用手转动泵轴看是否正常,检查连接螺钉的紧固情况和润滑状态。检查完毕,确认正常,便可关闭闸阀引水排气,或灌引水(有底阀)。排气完毕,便可以启动动力机,待转速正常后逐渐打开闸阀。运行中应随时查看真空表和压力表,监视和记录水泵的工作情况,水泵轴承温度不应超过50℃,应无振动和噪声。
(二)水泵的停机
高扬程水泵停机时,应禁止突然中断动力,否则容易产生水击而损坏水泵或管路。对装有闸阀的输水系统,停机时应缓慢地关闭闸阀,然后停机。对以柴油机为动力的抽水机组,也应逐渐减油后停机。
四、水泵的维护
泵在使用中,应注意润滑状态,必要时添加润滑油。冬季停机时,应将泵内的水放净,以防锈蚀或冻裂。长期停机时,应将各部件拆开、擦干、检查和修理,然后装配,贮存在干燥处。
第六节 喷、滴灌的喷头与滴头
一、喷灌用喷头
(一)喷头的类型
1.按工作压力
分为低压喷头、中压喷头和高压喷头三种。其具体分法见表4-7。
表4-7 喷头分类

低压喷头喷水量小,射程近,雾化程度较好,适于灌浅根蔬菜和果园。中压喷头的流量和射程范围较广,雾化程度好,主要用于大田作物的灌溉。高压喷头主要用于草原的灌溉。
2.按结构形式
分为固定式和旋转式两种。
(1)固定式。又称漫射式喷头,在喷洒过程中,喷头与竖管间无相对运动。它有折射式、缝隙式、离心式和孔管式等类型。
应用特点为:工作压力低,喷洒水滴对作物的打击小,喷灌强度低,主要用于温室、菜地和公园等。
(2)旋转式。又称射流式喷头,在喷洒时,喷头要相对于竖管转动。按驱动方式可分为:摇臂式、射流式和反冲式等类型。
摇臂式喷头应用广泛,性能稳定,已有系列化产品可供选用。
(二)喷头结构和工作
1.摇臂式喷头
(1)摇臂式喷头的结构。主要由喷头体、驱动机构、密封装置和换向装置构成(图4-32)。

图4-32 PYX30型摇臂式喷头
1.轴套;2.减磨密封圈;3.拨杆;4.限位环;5.防砂弹簧;6.空心轴;7.换向器;
8.摆块;9.摇臂;10、12.摇臂轴衬套;11.摇臂弹簧;13.摇臂调整螺钉;14.钢球;
15.摇臂轴;16.打击块;17.导流板;18.偏流板;19.喷嘴;20.稳流器;21.喷管;22.弯管
喷头体由喷嘴、喷管、稳流器、弯头、空心轴和轴套等组成。喷嘴内孔常为锥形,主要将水流的压力势能最大限度地转化为水流的动能,利于喷洒。喷管是联结喷嘴的一段直管或锥管,其长度大于管径的5~7倍,为使流线更好,在管内还装有稳流器,常用稳流器截面形状如图4-33所示。弯头用于控制喷头的喷射仰角,常为28°~30°,以保证一定的射程。它与喷管的联结采用螺栓或螺纹联结形式。空心轴上端与弯头联结,内部过水,外部相对于轴套转动。

图4-33 各种稳流器的截面形状

图4-34 摇臂的悬挂结构
1. 调节螺钉;2. 锁紧螺帽;3. 摇臂上轴套;
4. 钢球;5. 销钉;6. 弹簧座;7. 摇臂轴;
8. 摇臂弹簧;9. 摇臂下轴套;10. 摇臂
驱动机构由摇臂、摇臂轴、摇臂弹簧和弹簧座组成,用于驱动喷头旋转、调节水量分布和粉碎水流。如图4-34所示。摇臂通过调整螺钉支承在摇臂轴上部中心的钢球上,摇臂弹簧的一端勾住摇臂耳环,另一端勾住弹簧座的耳环,弹簧座用销钉与摇臂轴固定。摇臂头部有导流板和偏流板,工作时在水流的冲击和弹簧的配合下,来回摆动并撞击喷管和粉碎水流,使喷头转动。
密封装置是防止压力水从空心管和轴套间泄漏。常用端面密封和径向密封两种。端面密封是在空心轴下端凸缘与轴套的轴向间隙装设橡胶垫圈和减磨密封圈,工作时靠水压压紧而起密封作用,停机时由防砂弹簧压紧(图4-35)。径向密封是在空心轴下端与轴套间装V形密封圈,多用于高压喷头。
换向机构用于控制喷头做往复扇形喷洒的部件。由换向器座、摆块、拨杆、换向弹簧和限位环等构成(图4-36)。

图4-35 端面密封
1.空心轴;2.空心轴套;
3.减磨密封圈;4.橡胶垫圈

图4-36 摆块式换向器
1.摆块;2.换向弹簧;3.摆块轴;
4.换向器座;5.拨杆轴;6.拨杆;7.盖板

图4-37 射流式喷头
1.拨杆;2.步进器和开关;3.弯管;4.稳流器;
5.喷管;6、8.导管;7.射流器;9.副喷嘴;
10.雾化器;11.限位环

图4-38 全射流式喷头工作原理
1.相互作用体;2.控制阀开关;3.控制孔;
4.喷口;5.喷头旋转方向
(2)摇臂式喷头的工作过程。喷头可做圆形喷洒和扇形喷洒。
圆形喷洒时,来自水泵的压力水,通过弯管、稳流器,从喷嘴喷出,在空气阻力和摇臂作用下,粉碎呈滴状落于田间;同时水流作用于摇臂的导流板和偏流板使摇臂摆动,摆动时,冲击喷管上的打击块而使喷头旋转,实现了圆形喷洒。
扇形喷洒时,喷头运动的两个极限位置由限位环控制。当换向机构的摆块处于竖立位置时,摇臂外摆且其尾部撞击摆块上部,使喷头反时针转动,到达极限位置时,限位环作用于拨杆而使换向机构动作,控制摆块倒下,此时摇臂在回摆时撞击喷管上的打击块,实现了喷头的顺时针喷洒,当到达限位环位置时,限位环又作用于拨杆,控制摆块升起,使喷头又反时针方向运动,从而实现了扇形喷洒。
2.射流式喷头
射流式喷头与摇臂式喷头相近,不同的是喷管前端装有射流器代替了喷嘴,无摇臂,运动时无机械撞击,喷洒仍为间歇的步进运动,结构如图4-37所示。
射流器如图4-38所示,其内壁具有特殊的形状,与水流垂直方向钻有控制用孔。工作时,若控制阀打开,两边空气孔都与大气相通,高速水流作用于射流器左侧内壁,使喷头逆时针转动;当控制阀关闭时,右侧控制孔关闭,两侧压力不平衡,高速水流偏向右侧,作用于射流器右侧内壁的水流使喷头顺时针转动,从而完成了喷头的换向,换向控制阀的开、闭由与摇臂式喷头换向器相类似的机构控制。
3.反冲式喷头
采用改变流道方向,侧向开孔或装设挡片等方法,使喷头获得转动的驱动力,工作中喷头转动的快慢受风向、风速的影响较大。其结构如图4-39所示。
4.折射式喷头
由喷嘴、折射锥和支架等组成,结构如图4-40所示。压力水从喷嘴射出后,与折射锥相遇,从而形成薄水层向四周射出。
(三)喷头的使用
喷灌的质量主要取决于喷头和喷洒组合,应能满足农业技术要求,降低能耗。使用时应注意以下几点:
1.喷灌强度应合理
喷灌强度是指单位时间内喷洒在田间的水层厚度mm/h,是喷头的性能指标,可以从产品说明书中查得。选用时应使喷灌强度小于土壤的渗水速度,否则会产生径流。
2.喷灌的雾化程度应恰当
雾化程度是喷头的一个性能指标,它的大小反映了喷头喷洒时水滴对作物和土壤的打击强度。大田作物喷灌时,取小的雾化指标值。蔬菜、作物苗期应选大值(喷头工作压力与喷嘴直径的比值则称为雾化指标,常为2.5~3.5)。

图4-39 反冲式喷头的工作原理
1.射流方向;2.侧向小股射流;3.挡片;
4.喷头旋转方向

图4-40 折射式喷头
1.折射锥;2.喷嘴;3.支架;4.螺纹接口
喷灌时,农田内喷头的配置应利于水量的分布均匀性。
二、滴灌用滴头
滴头是滴灌设备的主要工作部件,要求出水均匀,根据作物要求,一般单个滴头的出水量为每小时2~8L,工作压力为10kPa左右。常用滴头及使用如下:
(一)滴头的结构
1.发丝管滴头
是将内径约1mm的空心塑料管插入毛细管上的孔内构成的,毛细管内的水经发丝管缓慢滴出。其结构如图4-41所示。
2.孔口滴头
利用小孔节流降低水流压力,从而使水呈滴状流出。有时可在出水口上加一细长的管子作为附加降压装置,以达到流量的调节。孔口滴头的结构如图4-42所示。

图4-41 发丝管滴头
1. 发丝;2. 毛细管

图4-42 孔口滴头
1.滴头;2.毛细管管壁;3.减压孔;
4.进水孔;5.滴头罩;6.出水孔
3.管式滴头
又称长管式滴头,由带锥度的圆管外套和螺纹芯子组成,水从进水口进入,经过狭长的螺旋通道降压节流后,从出口滴入作物根部土壤中。其结构如图4-43所示。
4.螺母式滴头
如图4-44所示,滴头嵌在毛细管上,毛细管上的水从入水孔进入滴头,经螺纹流道的降压节流后从低压端滴出。

图4-43 管式滴头
1.毛细管管路;2.进水口;
3.螺旋通道;4.滴头;5.出水口

图4-44 螺母式滴头
1. 滴头帽;2. 滴芯;3. 出水口;4. 进水孔
(二)滴头的使用
1.进入滴头的水必须经可靠过滤,水压应稳定。同一毛细管上的滴头的滴水量应一致。
2.滴头使用中易堵塞,应采用下述方法进行清理维护。
(1)酸液冲洗法。在水中加入0.5%~2%的盐酸(其浓度为36%),用1m水头压入滴灌系统,滞留10分钟,可以清除管中的碳酸钙,使局部堵塞的滴头恢复正常。但对堵死的滴头无效。
(2)压力疏通法。用709kPa(7个大气压)的空气和水冲洗滴灌系统,对疏通有机物堵塞效果甚好。但易损坏管道,对碳酸钙类堵塞的滴头无效。
(3)拆卸清洗滴头。对可拆卸的滴头,拆卸清洗能清除任何堵塞物。
复习思考题
1.农田灌溉有哪些方法?
2.农田灌溉设备有哪些类型?
3.B型离心泵由哪些零件组成,各有何作用?
4.水泵性能参数有哪些?
5.离心泵的流量—轴功率曲线有何特点,对用好离心泵有何指导意义?
6.水泵选型有哪些方法?
7.如何求解水泵的运行工况点?
8.如何防止水泵的气蚀?
9.高扬程水泵用于较低扬程处,对泵和动力机有何影响?
10.安装进、出水管应注意些什么?
11.试述摇臂式喷头进行扇形喷洒时的工作过程。
12.滴灌系统中必须装有可靠过滤器的原因是什么?
上一篇:运用宣白承气汤治疗儿科疾病的经验
下一篇:拉普拉斯变换的基本性质





.jpg)
.jpg)
