
第7章 水工隧洞与坝下涵管
【学习指导】
目标:理解水工隧洞与坝下涵管的作用、类型及适用范围;掌握水工隧洞与坝下涵管各自的工作特点、组成部分及构造;了解隧洞衬砌的荷载及结构计算方法、步骤,会选用衬砌及相应的计算方法;掌握水工隧洞与坝下涵管的选线与总体布置的原则。
重点:水工隧洞与坝下涵管的概念、功能及类型、工作特点、适用条件、选线与总体布置的原则。
7.1 水工隧洞概述
7.1.1 水工隧洞的功能与类型
为满足水利水电工程各项任务而穿山凿石修建在岩层之中的水流隧洞称为水工隧洞。其主要功能是:
①配合溢洪道宣泄洪水,有时也作为主要泄洪建筑物。
②引水发电,或为灌溉、供水和航运输水。
③排放水库中的泥沙,延长水库使用年限,有利于水电站等的正常运行。
④放空水库,用于人防或检修建筑物。
⑤在水利枢纽施工期用来导流。
按上述功用,水工隧洞可分为泄洪隧洞,引水发电隧洞和尾水隧洞,灌溉和供水隧洞,放空和排沙隧洞,施工导流隧洞等。
按隧洞内的水流状态,又可分为有压隧洞和无压隧洞。从水库引水发电的隧洞一般是有压的;灌溉渠道上的输水隧洞常是无压的,有的干渠及干渠上的隧洞还可兼用于通航;其余各类隧洞根据需要可以是有压的,也可以是无压的。同一条隧洞可以设计成前段是有压的而后段是无压的。但在同一洞段内,除了流速较低的临时性导流隧洞外,应避免出现时而有压时而无压的明满流交替流态,以防引起振动、空蚀和对泄流能力的不利影响。
在设计水工隧洞时,应根据枢纽的规划任务,按照一洞多用的原则,尽量设计为多用途的隧洞,以降低工程造价,如导流洞在完成导流任务后可以改装成泄洪洞和排沙洞等,采用“临时变永久”或“二洞合一”等形式。
“临时变永久”,是指工程竣工后,将施工导流洞改为放空、排沙、泄洪隧洞;也可改为发电、灌溉的引水隧洞。当导流洞的进口高程较低,不满足其他隧洞承担的任务时,可设置成“龙抬头”形式——导流洞上方另设进水口,如图7.1所示。

图7.1 导流洞改泄洪洞的“龙抬头”布置(单位:m)
“二洞合一”,是指泄洪与灌溉、泄洪与发电引水相结合布置;泄洪、排沙、放空相结合布置;发电引水与灌溉供水相结合(见图7.2)布置等。只设一个进水口,适当的位置分岔。需注意的是,多功能的隧洞虽可简化枢纽布置,节省造价,但隧洞工作条件较复杂,水流不稳定,分岔处容易产生空蚀、振动。
有压隧洞和无压隧洞在工程布置、水力计算、受力情况、运行条件等方面差别较大,对于一个具体工程,究竟采用有压隧洞还是无压隧洞,应根据工程的任务、地质、地形及水头大小等条件提出不同方案,通过技术经济比较后确定。
7.1.2 水工隧洞的特点
1)水流条件
高速水流的泄洪洞,对建筑物的体型、水力条件及结构布置均有较高的要求。如考虑不周,极易产生空蚀破坏。因此,在隧洞的体形设计及水流边壁的平整度方面均应予以特别重视。对于容易发生空蚀的部位,还应采用防蚀、抗磨材料或其他防蚀措施。有压隧洞往往承受很大的内水压力,衬砌渗漏,压力水将渗入围岩裂隙,形成附加的渗透压力,破坏岩体稳定,因此要求围岩要有足够的厚度。

图7.2 泄洪隧洞与发电隧洞“合二为一”的布置(单位:m)
2)结构条件
隧洞是在山体中开挖出来的建筑物,其结构形状及受力与围岩密切相关。开挖隧洞后改变了围岩原来的应力平衡状态,引起应力重分布,使围岩产生变形。因此,隧洞中常需设置临时性支护和永久性衬砌,以承受山岩压力等荷载。
3)施工条件
隧洞是地下结构,开挖、衬砌的工作面小,洞线长、工序多、干扰大。因此,虽然隧洞石方工程量不一定很大,但工期往往较长,尤其是兼作导流的隧洞,其施工进度往往控制整个工程的工期。因此,改善施工条件,加快施工进度,提高施工质量,是隧洞施工的重要课题。
4)运行条件
水工隧洞在水下工作,可靠性差、检修困难、闸门承受水压较大。
7.2 水工隧洞各组成部分
水工隧洞主要包括下列3部分(见图7.2):
①进口段。位于隧洞进口部位,包括拦污栅、进水喇叭口、闸门室及渐变段等,用以控制水流。
②洞身段。用以辅送水流,断面比较固定或变化不大。
③出口段。用以连接消能设施。无压泄水隧洞因工作闸门布置在洞身段的上游,出口段一般不再设置闸门;压力泄水隧洞的出口一般设有渐变段及工作闸门室。
7.2.1 进水口的形式及构造
隧洞进水口高程主要根据其负担的任务确定。例如,发电隧洞,其进水口顶部高程应保证上游在最低运行水位时能取得发电所需要的流量,灌溉隧洞应保证上游为最低工作水位时能引入设计流量等,有压隧洞进水口应保证在上游最低运行水位以下有足够的淹没深度,以免产生贯通式旋涡,引起振动,降低水轮机出力。该淹没深度可按经验公式估算,最小值不得小于1m。进水口底板应高于水库的淤砂高程。对多种用途的隧洞,进水口高程的选择应照顾到各方面的要求。
(1)深孔式进水口的形式
深孔式进水口按其布置和结构形式不同,可分为竖井式、塔式、岸塔式和斜坡式4种。
1)竖井式进水口
在进水口附近的岩体中开挖竖井,闸门安装在井底中,井上设置启闭设备,拦污栅设于洞外,如图7.3所示。这种进口形式构造简单,不受风浪、冰冻影响,抗震性能好,安全可靠。缺点是施工开挖困难,门前洞段不易检修。适于岩体完整、稳定、坚固的岸坡。

图7.3 竖井式进水口(单位:m)
2)塔式进水口
当进水口处岸坡较缓或地质情况较差时,可采用塔式。塔的形式有封闭式和框架式(见图7.4),塔独立于岸坡用钢筋混凝土建造,顶部设操作平台和启闭机室,并通过工作桥与岸边或坝顶相联系。封闭式塔的水平截面可为圆形、矩形或多角形,可在不同高程设进水口,根据库水位的变化启用不同的进水口,以引取表层温度较高的库水,以利于灌溉。塔式进水口的优点是可在任何水位下检修,方便可靠,但造价较高。当在工作水头较低或根据运用条件只需在进口处设置一道闸门时,可采用框架式塔。这种形式构造简单,施工方便,但只能在低水位时检修。

图7.4 塔式进水口(单位:m)
3)岸塔式及斜坡式进水口
岸塔式是将控制塔斜靠在洞口岩坡上的建筑物,如图7.5所示。由于塔身斜靠岩坡,故易满足稳定要求,对岸坡也起到一定的支撑作用,施工、安装及维修均较方便。岸塔式进水口的结构可以是封闭式或框架式的。这种形式适用于岸坡较陡、岩石坚固的情况。如果岸坡的岩石完整、稳定,则可稍加开挖平整并进行衬砌后,直接将闸门及拦污栅轨道安置在斜坡上而不设置控制塔,这种布置的形式称为斜坡式,如图7.1(b)所示。其优点是工程量小、造价较低、施工安装方便。适用于岸坡地形地质条件合适的中小型工程或仅安装检修闸门的进水口。岸塔式及斜坡式进口的闸门是斜放的,故面积较大,不仅启门力较大,而且难以靠自重下降。

图7.5 岸塔式进水口(单位:高程为m;尺寸为cm)
1—清污台;2—固定拦污栅;3—通气孔;
4—闸门轨道;5—锚筋
7.2.2 进口段的组成部分
进口段包括进水喇叭口、闸门室、通气孔、平压管和渐变段等几个部分。
1)进水喇叭口
隧洞进水口常采用顶板和边墙顺水流方向三面收缩的平底矩形断面,其体形应符合孔口泄流形态,既避免产生不利的负压和空蚀破坏,又应尽量减少局部水头损失,提高泄流能力。
喇叭口的顶板和边墙常采用椭圆曲线。对于重要工程,为保证喇叭口具有良好的体形,进口曲线应通过水工模型试验确定。
2)通气孔
在泄水隧洞的进水口或中部闸门之后应设通气孔,其作用是:
①工作闸门在各级开度情况下承担补气任务,补气可以降低门后负压,稳定流态,避免建筑物发生振动和空蚀,减小作用在闸门上的下拖力和附加水压力;
②检修时在下放检修闸门之后放空洞内水流过程中用以补气;
③检修完成后,需要向检修闸门和工作闸门之间充水,以便平压开启检修闸门,此时,通气孔用以排气。所以,通气孔在泄水隧洞的正常泄流、放空和充水过程中,承担补气和排气任务,对改善流态,避免运行事故起着重要的作用。
3)拦污栅
泄水隧洞一般不设拦污栅,当需要拦截水库中的较大浮沉物时,可在进口设置固定的栅梁或粗拦污栅。引水发电的有压隧洞进口应设细栅,以防污物阻塞或破坏阀门及水轮机叶片。
4)渐变段和平压管
①为设置闸门,泄水隧洞进口一般都做成矩形,当有压泄水隧洞断面为圆形时,在进口闸门后需要设渐变段,以便水流平顺过渡,防止负压和空蚀的产生。渐变段可采用在矩形四个角加圆弧的办法逐渐过渡,如图7.1或图7.2所示,当工作闸门布置在出口时,出口断面也需做成矩形,因此在出口段同样需要设置渐变段。
渐变段施工复杂,所以不宜太长。但为使水流平顺,也不宜太短,一般采用洞身直径的1.5~2.0倍。边壁的收缩率控制在1∶8~1∶5。
②为了减小检修闸门的启门力,应当在检修闸门和工作闸门之间设置与水库连通的平压管。开启检修闸门前先在两道闸门中间充水,这样就可以在静水中启吊检修闸门。平压管直径根据规定的充水时间决定。当充水量不大时,也可将平压管设在闸门上,充水时先提起门上的充水阀,待充满后再提升闸门。
7.2.3 洞身段
(1)洞身断面形式
隧洞洞身断面形式选择涉及的因素很多,就水力条件而言,要求洞身断面具有平顺的轮廓,力求减小水头损失,能以最经济的断面通过设计流量;就静力条件而言,应根据围岩特性和地应力的分布特点,选择合理的断面形状和几何尺寸,以改善围岩受力条件,保持围岩稳定;同时还应照顾到施工方便等诸方面的要求。
1)无压隧洞的断面形式
无压隧洞的断面形式和尺寸在很大程度上取决于围岩特性和地应力情况,常采用以下几种形式:圆拱直墙形(城门洞形)断面[图7.6(a)],马蹄形及蛋形[图7.6(b)、图7.6(c)、图7.6(d)]。

图7.6 无压隧洞的横断面形状(单位:cm)
圆拱直墙形适用于地质条件较好,垂直山岩压力较小而无侧向山岩压力的情况。顶部为平拱或半圆拱,圆拱的中心角在90°~180°之间。圆拱的中心角越小,产生的拱端推力就越大。断面的高宽比一般为1.0~1.5,洞内水位变化较大时取大值。此外应与地应力条件相适应,垂直山岩压力大于水平地应力时,宜采用较大的高宽比;反之取用小值。当地质条件较差,侧向山岩压力较大时,宜采用马蹄形或蛋形断面。当地质条件差或地下水压力很大时,也可采用圆形断面。
无压隧洞的断面尺寸应根据水力计算确定。低流速的无压洞,若通气条件良好,水面线以上的空间不宜小于隧洞断面积的15%,其净空高度不小于40cm。高流速的无压洞,在掺气水面以上的空间一般为断面积的15%~25%。当采用圆拱直墙形断面时,水面线(高速水流含掺气)不得超过直墙范围。无压隧洞考虑施工要求的最小断面尺寸为:高度不小于1.8m,宽度不小于1.5m;圆形断面的内径亦不小于1.8m。
2)有压隧洞的断面形式
有压隧洞的断面多为圆形,其水力条件好,水力特性也最佳,与其他形式断面相比,面积一定时,过水能力最大。当围岩坚硬且内水压力不大时,也可采用更便于施工的非圆形断面。
有压隧洞的断面尺寸应根据水力计算确定,主要核算其泄流能力和沿程压坡线水头。泄流能力按管流计算,压坡线水头应高于洞顶2m以上。其最小断面尺寸应同时满足施工和检修要求。
(2)洞身衬砌
1)衬砌的作用
为了保证水工隧洞安全有效地运行,通常需要对隧洞进行衬砌。
衬砌的作用是:承受围岩压力和其他各种荷载;加固和保护围岩,使围岩长期保持稳定,免受破坏;减小隧洞表面糙率,减小水头损失;防止渗漏。
2)衬砌的类型
衬砌的类型按设置衬砌的目的可分为平整衬砌和受力衬砌两类。
按衬砌所用的材料分为混凝土衬砌、钢筋混凝土衬砌和浆砌石衬砌等。
除此以外,还有预应力衬砌、装配式衬砌和喷锚衬砌、限裂衬砌和非限裂衬砌等。
①平整衬砌。当围岩坚固、内水压力不大时,用混凝土、喷浆、砌石等做成平整的护面。它不承受荷载,只起减小糙率、防止渗水、抵抗冲蚀、防止风化等作用。无压隧洞的平整衬砌可以只在水流湿周范围内衬砌。只为降低糙率的衬砌,平均厚度约为15cm即可;若有防冲、抗渗要求,则衬砌厚度应为20~30cm。
为了使衬砌表面尽量光滑,最好用金属模板浇筑混凝土,但比较费工,用模板也较多。用喷混凝土的方法进行平整衬砌不需模板,施工进度快,透水性小,其主要缺点是平整度差。为改进这一缺点,可在喷混凝土之后再喷一层水泥砂浆抹光。
②混凝土、钢筋混凝土衬砌。当围岩坚硬、内水压力不大时,可采用混凝土衬砌。当承受较大荷载或围岩条件较差时,则应采用钢筋混凝土衬砌。衬砌的厚度(不包括围岩超挖部分)应根据计算和构造要求确定其最小厚度。但为了保证施工质量,从施工要求出发,混凝土和单层钢筋混凝土衬砌不小于25cm,双层钢筋混凝土衬砌不小于30cm,强度等级不宜低于C15。
③预应力衬砌。预应力衬砌是对混凝土或钢筋混凝土衬砌施加预压应力,以抵消内水压力产生的拉应力,克服混凝土抗拉强度低的缺点,可使衬砌厚度减薄,节约材料和开挖量。其缺点是施工复杂,工期较长。适用于作用高水头的圆形隧洞。
最简单的预加应力方法是向衬砌与围岩之间进行压力灌浆,使衬砌产生预压应力。为了保证灌浆效果,围岩表面应用混凝土进行修整,并与衬砌之间留2~3cm的空隙,以便灌浆。浆液应采用膨胀性水泥,以防干缩时预压应力降低。这种预加应力的方法要求围岩比较坚硬完整,必要时可先对围岩进行固结灌浆。
④喷锚衬砌。喷锚衬砌是指利用锚杆和喷射混凝土进行围岩加固的总称。由于喷射混凝土能紧跟掘进工作面施工,缩短了围岩的暴露时间,使围岩的风化、潮解和应力松弛等不致有大的发展。所以,喷混凝土施工给围岩的稳定创造了有利条件。
锚杆支护是将特定形式的锚杆锚固于岩石内部,把原来不够完整的围岩固结起来,从而增加围岩的整体性和稳定性。其对围岩的加固原理可归结为3个方面:一是悬吊作用,如图7.7(a)所示,用锚杆将可能塌落的不稳定岩体悬吊在稳定岩体上;二是组合作用,如图7.7(b)所示,用锚杆将层状岩体结合在一起,形成类似的组合梁,增加其抗弯和抗剪能力;三是固结作用,如图7.7(c)所示,不稳定的断裂岩块在许多锚杆的作用下固结起来,形成一个“有支撑能力的岩石拱”。对一具体隧洞而言,这3种作用往往是综合发生的。

图7.7 锚杆的支护作用
喷混凝土支护的主要作用是:充填岩体表面张开的裂隙,使围岩结成整体;填补不平整表面,缓和应力集中;保护岩体表面,阻止岩块松动。喷混凝土施工时,应先撬除危石,清洗岩面,然后喷一层厚约1cm的小水灰比的水泥砂浆或厚约2~3cm的富水泥混凝土。喷完上述底层后,即可分次喷混凝土,每次厚3~8cm。如同时采用锚杆,则可在第一层混凝土喷完后设置,必要时还可加设钢筋网,然后再喷第二、三层,直至达到预定设计厚度。喷混凝土衬砌的厚度一般不小于5cm,最大不宜超过20cm。
锚喷支护是20世纪50年代配合新奥法(新奥地利隧洞工程施工方法的简称)逐渐发展起来的一项新技术。它的基本概念是将隧洞四周的围岩作为承载结构的主要部分来考虑,而不是把围岩单纯地作为荷载考虑。新奥法的基本原理是:
①支护要适时,即在支护受力最小的时候进行支护;
②支护刚度要适中,使围岩与支护在共同变形过程中取得稳定,刚柔度适宜;
③支护应与围岩紧贴,以保证支护与围岩共同工作。
工程实践证明,采用新奥法施工可以减少混凝土衬砌量,不用模板,施工安全,造价降低,是一种多、快、好、省的施工方法。但需注意研究内外水压力、抗渗、允许流速以及糙率等问题。
(3)衬砌的构造
1)衬砌的分缝和止水
在混凝土及钢筋混凝土衬砌中,一般设有永久性的横向变形缝(垂直水流方向)和施工工作缝。
变形缝是为防止不均匀沉陷而设置的,其位置应设于荷载大小、断面尺寸和地质条件发生变化之处。如洞身与进口或渐变段接头处以及断层、破碎带的变化处,均需设置变形缝,缝内贴沥青油毛毡,并做好止水。在断层、破碎带处,还应增加衬砌厚度并配置钢筋,其构造如图7.8所示。

图7.8 伸缩变形缝(单位:cm)
1—断层破碎带;2—沉陷缝;
3—沥青油毛毡;4—止水片或止水带
围岩地质条件比较均一的洞身段,可只设置施工缝。施工缝有纵向缝和横向缝两种。横向施工缝间距一般为6~12m,底板和边墙、顶拱的缝面不得错开。无压隧洞的横向施工缝一般可不作特殊处理。对有压隧洞和有防渗要求的无压隧洞,横向施工缝应根据具体情况采取必要的接缝处理措施。
纵向工作缝的位置及数目则应根据结构形式及施工条件决定,一般应设在内力较小的部位。衬砌的分缝、分块情况见图7.9(b)中1,2,3,4为分块浇筑的顺序编号。无论是无压隧洞还是有压隧洞,其纵向施工缝均须凿毛处理。还可设一些插筋以加强其整体性,必要时还可设置止水片,如图7.10所示。

图7.9 某泄洪隧洞衬砌施工缝(单位:cm)

图7.10 衬砌的纵向工作缝
2)衬砌的灌浆、防渗与排水
为了充填衬砌与围岩之间的缝隙,改善衬砌结构传力条件和减少渗漏,常进行衬砌的回填灌浆。一般是在衬砌施工时,顶拱部分预留灌浆管,待衬砌完成后,通过预埋管进行灌浆。如图7.11所示,回填灌浆的范围一般在顶拱中心角90°~120°以内,孔距和排距一般为4~6m,灌浆压力为200~300kPa。

图7.11 灌浆孔布置图
l—回填灌浆孔;2—固结灌浆孔;3—伸缩缝
为了提高围岩的强度和整体性,改善衬砌结构受力条件,减少渗漏,隧洞衬砌后还常对围岩进行固结灌浆。
固结灌浆孔通常对称布置,排距为2~4m,每排不少于6孔。孔深一般约为1.0倍的隧洞半径,灌浆压力为内水压力的1.5~2.0倍。灌浆时应加强观测,防止洞壁变形破坏。回填灌浆孔与固结灌浆孔通常分排间隔排列,如图7.11所示。
当地下水位较高时,外水压力可能成为无压隧洞的主要荷载之一,为此可采取排水措施以降低外水压力。
无压隧洞的排水,可在洞内水面高程以上设置排水孔来实现,如图7.6(a)所示。孔距和排距为2~4m,孔深2~4m。应注意排水钻孔应在灌浆之后进行,以防堵塞。当无压隧洞边墙很高时,也可在边墙背后水面高程以下设置暗的环向及纵向排水系统。
有压隧洞一般不设排水。确有必要设置排水时,也只能采用环向、纵向排水暗管,环向暗排水可用砾石铺成,每隔6~8m设一道,收集的渗水汇集后由衬砌下部的纵向排水暗管(如无砂混凝土管)排向下游。
7.2.4 出口段及消能设施
有压泄水隧洞的出口常设有工作闸门及启闭机室,闸门前设有渐变段,闸门后设有消能设施,如图7.12所示。有压泄水隧洞出口段的体形对有压隧洞的压力状况起控制作用。为不使洞身出现负压,其出口断面应逐渐收缩,使出口断面小于洞身断面,但不宜收缩过多,以免降低泄流能力。根据工程经验,出口断面与洞身断面的收缩比一般为0.8~0.9。对水流条件差、洞身沿程体形变化多者取大值。

图7.12 有压隧洞出口
无压泄水洞的出口则较为简单,常在出口的洞顶上加设一道门框墙,以防洞脸及其上部的岩石坍塌并与扩散消能措施的翼墙相衔接,如图7.13所示。

图7.13 无压隧洞出口
泄水隧洞出口水流的特点是单宽流量集中,所以常在隧洞出口外设置扩散段,使水流扩散,使得单宽流量减小,然后再以适宜的方式进行消能。泄水隧洞常用的消能方式有挑流消能和底流消能。当出口高程高于或接近于下游水位,并且下游水深和地质条件适宜时,应优先选用挑流消能。
底流式消能具有工作可靠、对下游水面波动影响范围小的优点,所以应用较多。消力池的宽度和深度可按水力学方法计算,水流出洞后的扩散连接段,水平向可采用1∶6~1∶8,垂直向宜采用水流质点的抛物轨迹线与消力池连接。
7.3 隧洞衬砌的结构计算
7.3.1 隧洞衬砌的荷载
隧洞是地下结构,衬砌与围岩有相互的作用,作用于衬砌的荷载种类与大小既取决于隧洞的工作条件,同时也取决于围岩的地质条件及施工情况。作用于衬砌的荷载有自重、围岩压力、内水压力、外水压力、温度荷载、灌浆压力、地震荷载等。
另外,当与围岩紧密接触的衬砌受荷载后有趋向围岩变形时,围岩可施加反作用于衬砌的荷载,即为弹性抗力。它是能协助衬砌抵抗其他荷载的有利的作用力,但它不是独立存在的荷载,只是被动地有条件地依附于其他荷载而存在。荷载计算对象与结构计算相同,为单位洞长。
(1)围岩压力
围岩压力也称山岩压力。隧洞开挖后,由于围岩变形(隧洞开挖破坏了岩体原来的平衡,从而引起围岩应力重分布,引起变形)或塌落而作用在衬砌上的压力,称围岩压力。按作用的方向,山岩压力主要有两种:作用于衬砌顶部的垂直山岩压力;作用于衬砌两侧的侧向山岩压力。一般岩体中,作用在衬砌上的主要是垂直向下的围岩压力,对软弱破碎岩层还需考虑侧向山岩压力。
计算山岩压力的方法很多,但目前工程中常用的方法主要有自然平衡拱法和经验法。我国2002年颁布的《水工隧洞设计规范》(SL 279—2002)规定,围岩作用在衬砌上的荷载应根据围岩条件、横断面形状和尺寸、施工方法以及支护效果确定,围岩压力的计取应符合下列规定。
①自稳条件好,开挖后变形很快稳定的围岩,可不计围岩压力。
②薄层状及碎裂散体结构的围岩,作用在衬砌上的围岩压力如下:
![]()
式中 qv——垂直均布围岩压力,kN/m2;
qh——水平均布围岩压力,kN/m2;
γ1——岩石的重度,kN/m3;
B——隧洞开挖宽度,m;
H——隧洞开挖高度,m。
③不能形成稳定拱的浅埋隧洞,宜按洞室顶拱的上覆盖层岩体重力作用计算围岩压力,再根据施工所采取的支护措施予以修正。
④块状、中厚至厚层状结构的围岩,可根据围岩中不稳定块体的作用力来确定围岩压力。
⑤采取了支护或加固措施的围岩,根据其稳定状况,可不计或少计围岩压力。
⑥采用掘进机开挖的围岩,可适当少计围岩压力。
⑦具有流变或膨胀等特殊性质的围岩,可能对衬砌结构产生变形压力时,应对这种作用进行专门研究,并宜采取措施减小其对衬砌的不利作用。
(2)弹性抗力
在荷载作用下,衬砌向外变形时受到围岩的抵抗,这种围岩抵抗衬砌向外变形而作用在衬砌外壁的作用力,称为弹性抗力。弹性抗力是一种被动力。它与地基反力不同,后者是由力的平衡决定的,其数值与围岩的性质无关;而前者的产生是有条件的。围岩考虑弹性抗力的重要条件是岩石本身的承载能力,而充分发挥弹性抗力作用的主要条件是围岩与衬砌接触程度。当岩石比较坚硬,且有一定的厚度(一般要求大于3倍的洞径),无不利的滑动面,围岩与衬砌紧密接触时,才可考虑弹性抗力的作用,否则不考虑围岩的弹性抗力,只考虑衬砌底部的地基反力。
(3)内、外水压力
内水压力是有压隧洞衬砌上的主要荷载。当围岩坚硬完整,洞径小于6m时,可只按内水压力进行衬砌的结构设计。内水压力可根据隧洞压力线或洞内水面线确定。在有压隧洞的衬砌计算中,常将内水压力分为均匀内水压力和非均匀内水压力两部分。均匀内水压力是洞顶内壁以上水头h产生的,其值为γh;非均匀内水压力是指洞内充满水,洞壁各点的压强值为γd(1-cosθ)/2(θ为计算点半径与洞顶半径的夹角,d为隧洞内直径)时的压力。非均匀内水压力的合力方向向下,数值等于单位洞长内的水重(见图7.14)。
对有压发电引水隧洞,还应考虑机组甩负荷时引起的水击压力,对于无压隧洞的内水压力则由洞内的水面线来计算。
外水压力的大小取决于水库蓄水后形成的地下水位线,由于地质条件的复杂性,很难准确计算,一般来说,常假设隧洞进口处的地下水位线与水库正常挡水位相同,在隧洞出口处与下游水位或洞顶齐平,中间按直线变化。考虑到地下水渗流过程的水头损失,工程中实际取用外水压力的数值应等于地下水的水头乘以折减系数β(根据地下水活动状况及地下水对围岩稳定的影响在0~1.0之间变化)。设计中,当与内水压力组合时,外水压力常用偏小值;当隧洞放空时,采用偏大值。

图7.14 有压隧洞内水压力分解
(4)衬砌自重
沿隧洞轴线1m长的衬砌重量,一般根据衬砌厚度的不同,沿洞线分段进行计算,认为自重是均匀作用在衬砌厚度的平均线上,衬砌单位面积上的自重强度g=γch,γc为材料重度(kN/m3),h为衬砌厚度(m)。
除上述主要荷载外,隧洞衬砌上还作用有灌浆压力、温度荷载和地震荷载等。由于对衬砌影响较小,荷载组合时均不予考虑。
7.3.2 隧洞衬砌的荷载组合
衬砌计算时,应根据荷载特点及同时作用的可能性,按不同情况进行组合。设计中常用的组合有:
①正常运用情况。山岩压力+衬砌自重+宣泄设计洪水时的内水压力+外水压力。
②施工、检修情况。山岩压力+衬砌自重+可能出现的最大外水压力。
③非常运用情况。山岩压力+衬砌自重+宣泄校核洪水时的内水压力+外水压力。
正常运用情况属于基本组合,用以设计衬砌的厚度、配筋量和强度验算,其他情况用作校核。工程中视隧洞的具体运用情况还应考虑其他荷载组合。
7.3.3 衬砌结构计算
衬砌结构计算的目的是确定衬砌厚度、材料强度等级以及配筋量。
衬砌结构计算的对象,是根据隧洞沿线荷载、断面形状与尺寸的不同将其分为若干段,每段选取一代表性的单位洞长。
衬砌结构计算步骤主要包括:选择衬砌形式并初步拟定其厚度;分别计算单位洞长上各种荷载产生的内力,并按不同的荷载组合叠加;进行强度核定,确定配筋量,判定初拟衬砌厚度是否合理并进行修改。
当前有两种衬砌结构计算的方法:一种是以衬砌为计算对象的结构力学法;另一种是以隧洞整体为计算对象的弹性力学法。
(1)结构力学法
将衬砌与围岩相互分开,以衬砌本身为研究对象。认为衬砌是构件,是承受荷载的主体,围岩是基础,围岩的作用是以弹性抗力的形式施加给衬砌,并按文克尔假定考虑。结构力学法的主要缺点是:仅能求得衬砌的应力,而不能求出围岩的应力,也无法对围岩的稳定性进行分析;其次,这种方法将围岩与衬砌相互分开,将衬砌作为承荷主体,消极地承受荷载,而实际上衬砌与围岩两者紧密结合,是一个整体,共同承受荷载,因而使衬砌尺寸过大。此外,衬砌与围岩间的相互关系复杂,不能简单地用弹性抗力来反映两者之间的相互作用,并且弹性抗力的理论假定——文克尔假定,与实际存在较大出入。尽管结构力学法存在上述问题,但在多年应用中已形成一套完整的体系,在一定程度上反映了隧洞的工作状态,并为广大设计人员所熟悉,因此在一定条件下还得以运用。
(2)弹性力学法
将围岩与衬砌视为整体,两者共同承受荷载。其特点是能对围岩进行分析,并能严格按衬砌与围岩共同工作进行分析而无须采用弹性抗力的概念。由于弹性理论仅能对某些特定条件下的隧洞给出精确解,其使用受到限制。随着计算机的发展与运用,弹性力学的数值方法,即有限元法,已得到广泛应用,它能模拟复杂的岩体结构,并能得出较符合实际的成果。
《水工隧洞设计规范》规定,衬砌结构计算应按各设计阶段的要求,根据衬砌的结构特点、荷载作用形式、围岩和施工条件等,选用不同的方法进行计算。
以内水压力为主要荷载,围岩为Ⅰ、Ⅱ类的圆形有压隧洞宜采用弹性力学解析法;
Ⅳ、Ⅴ类围岩中的隧洞,宜采用结构力学法;无压隧洞可采用结构力学法;
Ⅱ、Ⅲ类围岩中的隧洞,视围岩的条件和所能取得的基本资料选用合适的方法。如围岩稳定性较好,有较强的自承能力,衬砌目的主要是用来加固围岩者,或者隧洞跨度大,围岩很不均匀者,宜采用有限元法。
7.4 水工隧洞的选线与总体布置
线路选择和工程布置是隧洞设计的关键问题。我国已建的隧洞工程实践证明,布置上所造成的缺陷是难以弥补的,故要高度重视隧洞线路选择和工程布置。这两个问题是一项工作的两方面,是紧密联系,相互兼顾的。
7.4.1 隧洞选线
洞线选择关系到围岩的稳定、施工进度、工程造价、安全运行等各个方面。洞线选择应根据枢纽总体布置及隧洞的用途,并综合考虑地形、地质、施工、水流、埋藏深度等各种因素,拟定几条洞线,通过技术经济比较选定。由于自然条件千差万别,要选出满足各方面要求的理想洞线是很困难的,在洞线比较中,应根据工程的具体特点,抓住主要矛盾,兼顾其他。通常起主导作用的地形、地质条件应给予充分的重视。这里仅介绍隧洞选线时应注意的一般原则。
①尽量避开地质条件不良地段。隧洞的路线选择应尽量避开山岩压力大、地下水位高、漏水严重的岩层,以及断层、破碎带和可能滑坡的不稳定地段。当隧洞轴线与岩层面及主要节理裂隙相交时,应尽量成较大夹角。在整体块状结构的岩体中,其夹角不宜小于30°,在层状岩体中,其夹角不宜小于45°。
②力求洞线短、水流平顺。隧洞路线应力求短而直,以减少工程费用和水头损失。如由于地形、地质条件和枢纽布置的原因必须转弯时,对低流速隧洞,转弯半径不宜小于5倍的洞径(或洞宽),偏转角一般不宜大于60°。曲线段两端用直线连接,其长度不宜小于5倍的洞径(或洞宽),以使弯道水流平顺。对于高流速的无压隧洞,应力求避免在平面上设置曲线段。
③进、出口位置合适。隧洞进、出口应选择在岩层风化浅、岩石较坚硬完整、边坡稳定的地段。进出口的水流应平顺对称,避免产生涡流。若拦河坝为土石坝,隧洞进出口应与土石坝间隔一定距离,以防止水流对上游坝坡和下游坝脚的冲刷。
④洞顶以上和傍山隧洞岸边一侧的岩体应有足够的围岩厚度,以保证围岩的稳定。其最小厚度应根据围岩承载能力及渗透稳定性、隧洞断面形状及尺寸、施工条件、内水压力等因素综合分析决定。对有压隧洞,当围岩坚硬完整时,为使围岩的承载能力得到保证,洞身部位的最小覆盖层的厚度应不小于该部位的内水压力,即不小于0.4倍内水压力水头(取岩体容重为25kN/m3),对于无压隧洞及有压隧洞的进、出口,洞口应尽量选在岩体坚硬完整和地质构造简单的地段。进、出口岩体最小厚度涉及明挖量的大小、进洞工期、洞口岩体的边坡稳定的问题。一般以施工成洞条件为准,并采取合理的施工工序和工程措施,以减少明挖,争取工期。对于相邻两隧洞间岩体的厚度,应根据地质条件、布置需要、围岩受力状况、隧洞形式及尺寸、施工方法及运行条件等综合分析决定。一般不宜小于l~2倍的洞径(或洞宽)。
⑤应兼顾施工方便。对于长隧洞,洞线的选择还应考虑设置施工竖井或支洞问题,以便于增加开挖工作面,改善施工条件,加快施工进度。
7.4.2 水工隧洞总体布置
(1)水工隧洞总体布置
①根据枢纽的任务、建筑物的特性和相互关系、过水流量、地形、地质、施工、运行等条件对建筑物进行总体规划与综合研究,并经技术经济比较确定水工隧洞的布置。如果枢纽中同时采用岸边溢洪道和泄水隧洞,两岸地形和地质条件合适,一般宜分别布置于两岸,以便施工和运行。
②根据地形、地质及水流条件,选定进口位置及进口结构形式,确定隧洞的闸门布置。
③确定洞身纵坡及洞身断面形状和尺寸。
④根据地形、地质、尾水位等条件及建筑物之间的相互关系选定出口位置、高程及消能方式。
(2)闸门在隧洞中的布置
水工隧洞的闸门按其工作性质分为工作闸门、检修闸门和事故闸门。
工作闸门主要用于调节流量和控制孔口,应能在动水中启闭。它可以设在进口、出口或隧洞中的任一适宜位置。
泄水隧洞一般都布置两道闸门,一道是工作闸门,用以控制流量,要求能在动水中启闭。一道是检修闸门,设在隧洞进口,当工作闸门或隧洞检修时,用以挡水。隧洞出口如低于下游水位时,也要设检修闸门。深水隧洞的检修闸门一般需要能在动水中关闭,静水中开启,也称“事故闸门”。泄水隧洞的闸门位置,相当程度上决定着隧洞的工作条件,因此是隧洞布置的关键之一。
无压隧洞一般将闸门设置在隧洞进口处。按隧洞进口和水面的相对位置,进水口可以分为表孔溢流式和深孔式。
①表孔溢流式多属于龙抬头的布置形式,其作用主要是泄洪,闸门布置与岸边溢洪道相似,只是由隧洞替代了溢洪道的泄水槽,如毛家村、流溪河、冯家山等无压泄洪洞都采用了这种布置方式,如图7.15所示。

图7.15 表孔溢流式泄洪隧洞布置
1—导流洞;2—混凝土塞;3—水面线
②深孔式进水口也可采用无压泄水隧洞,为保证隧洞内水流为无压状态,闸门后洞顶需高出洞内水面一定高度,并向闸门后通气。其优点是,工作闸门和检修闸门均设在首部,运行管理方便,易于检查和维修;洞内不受压力水流作用,有利于山坡稳定。缺点是洞壁流速大的部位容易发生空蚀。
有压隧洞一般将工作闸门设置在出口处。泄流时洞内流态平稳,工作闸门便于部分开启,控制简单,管理方便。但洞内经常承受较大的内水压力,对山坡的稳定不利,因此对围岩地质条件的要求比无压隧洞高。实际工程中,常在进口设置事故检修闸门,平时可用于挡水,以免洞内长时间承受较大的内水压力。
有些泄水隧洞因受地形、地质和枢纽布置等因素的限制,为了获得良好的水流及结构受力条件,常将工作闸门布置在洞内,工作闸门前为有压洞段,工作闸门后为无压洞段,如图7.16所示。我国三门峡、小浪底、碧口、新丰江、鲁布革等泄洪洞都采用了这种布置方式。

图7.16 三门峡1号泄洪排沙洞布置(单位:m)
1—叠粱门槽;2—事故检修闸门;3—平压管;4—弧形工作闸门
7.5 坝下涵管
在土石坝水库枢纽中,主要泄水建筑物应是河岸溢洪道或隧洞。当由于两岸地质条件或其他原因不宜开挖河岸溢洪道或隧洞时,可以采用坝下设涵管的方法来满足泄、放水的要求,坝下设涵管的设计流量一般不大。
坝下涵管结构简单、施工方便、造价较低,故在小型水库工程中应用较多。但其最大的缺点是:如设计施工或运用管理不当,极易影响土石坝的安全。由于管壁和填土是两种不同性质的材料,若两者结合不紧密,库水就会沿管壁与填土之间的接触面产生集中渗流,特别是当管道由于坝基不均匀沉陷或连接结构方面等原因发生断裂、漏水等情况时,后果更加严重。实践证明,管道渗漏是引起土石坝失事的重要原因之一。所以坝下涵管不如隧洞运用安全,但若能将涵管置于比较好的基岩上,加上精心设计施工,是可以保证涵管及土石坝安全的。
在软基上,除经过技术论证外,不得采用涵管式底孔。对于高坝和多地震区的坝,在岩基上也应尽量避免采用坝下涵管。
7.5.1 涵管的类型和位置选择
(1)坝下涵管的类型
涵管按其过流形态可分为具有自由水面的无压涵管、满水的有压涵管、闸门前段满水但门后具有自由水面的半有压涵管。
涵管管身断面形式有圆形、圆拱直墙形(城门洞形)、箱形等。涵管材料一般为预制或现浇混凝土和钢筋混凝土或浆砌石。无压涵管的断面形式如图7.17所示。

图7.17 无压涵管的断面形式
1—截渗环;2—浆砌石拱圈;3—浆砌条石;4—浆砌块石;5—钢筋混凝土盖板
(2)涵管的位置选择
在进行涵管的位置选择及布置时,应综合考虑涵管的作用、地基情况、地形条件、水力条件、与其他建筑物(特别是土坝)之间的关系等因素,选择若干方案进行分析比较,加以确定。在进行线路选择及布置时,应注意以下几个问题。
1)地质条件
应尽可能将涵管设在岩基上。坝高在10m以下时,涵管也可设于压缩性小、均匀而稳定的土基上。但应避免部分是岩基,部分是土基的情况。
2)地形条件
涵管应选在与进口高程相适宜的位置,以免过多的挖方。涵管进口高程的确定应考虑运用要求、河流泥沙情况及施工导流等因素。
3)运用要求
引水灌溉的涵管应布置于灌区同岸,以节省费用;两岸均有灌区,可在两岸分设涵管。涵管最好与溢洪道分设两岸,以免水流干扰。
4)管线宜直
涵管的轴线应为直线,并与坝轴线垂直,以缩短管长,使水流顺畅。若受地形或地质条件的限制,涵管必须转弯时,其弯曲半径应大于5倍的管径。
7.5.2 涵管的布置与构造
(1)涵管的进口形式
小型水库的坝下涵管大多数是为灌溉引水而设,常用的形式如下:
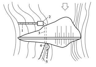
1)分级斜卧管式
这种形式是沿山坡修筑台阶式斜卧管,在每个台阶上设进水口,孔径为10~50cm,用木塞或平板门控制放水。卧管的最高处设通气孔,下部与消力池或消能井相连,如图7.18所示。该形式进水口结构简单,能引取温度较高的表层水灌溉。有利于作物生长。缺点是容易漏水,木塞闸门运用管理不便。
2)斜拉闸门式
该形式与隧洞的斜坡式进水口相似,如图7.19所示。其优缺点与隧洞斜坡式进水口相同。

图7.18 分级式卧管
1—卧管;2—消力池;3—坝下涵管;
4—消力池;5—渠道

图7.19 斜拉闸门式
1—斜拉闸门;2—支柱;3—通气孔;4—拉杆;
5—截渗环;6—涵管;7—消能井
3)塔式和井式进水口
该形式适于水头较高、流量较大、水量控制要求较严的涵管,其构造和特点与隧洞的塔式进口基本相同。井式进口是将竖井设在坝体内部,如图7.20所示,以位置Ⅱ为佳。位置Ⅰ,如竖井和涵管的接合处漏水,将使坝体浸润线升高,而且竖井上游段涵管检修不便。位置Ⅲ,竖井稳定性差,实际已成塔式结构。竖井应设于防渗心墙上游,以保证心墙的整体性。

图7.20 涵管布置图(单位:m)
1—工作桥;2—通气孔;3—控制塔,4—爬梯;5—主闸门槽;6—检修闸门;7—截渗环;
8—伸缩缝;9—渐变段;10—拦污栅;11—黏土心墙;12—消力池;13—岩基;14—坝顶;
15—马道;16—干砌石;17—浆砌石;18—黏土
(2)管身布置与构造
1)管座
设置管座可以增加管身的纵向刚度,改善管身的受力条件,并使地基受力均匀,所以管座是防止管身断裂的主要结构措施之一。管座可以用浆砌石或低标号混凝土做成,厚度一般为30~50cm。管座和管身的接触面成90°~180°包角,接触面上涂以沥青或设油毛毡垫层,以减少管身受管座的约束,避免因纵向收缩而裂缝。
2)伸缩缝
土基上的涵管应设置沉陷缝,以适应地基变形。良好的岩基,不均匀沉陷很小,可设温度伸缩缝。一般将温度伸缩缝与沉陷缝统一考虑。对于现浇钢筋混凝土涵管,伸缩缝的间距一般为3~4倍的管径,且不大于15m。当管壁较薄,设置止水有困难时,可将接头处的管壁加厚。对于预制涵管,其接头即为伸缩缝,多用套管接头,如图7.21所示。

图7.21 伸缩缝的构造
1—管壁;2—止水片;3—二期混凝土;4—沥青材料;5—两层油毛毡、三层沥青
3)截渗环
为防止沿涵管外壁产生集中渗流,加长管壁的渗径,降低渗流的坡降和减小流速,避免填土产生渗透变形,通常在涵管外侧每隔10~20m设置一道截渗环。土基上的截渗环不宜设在两节管的接缝处,而应尽量靠近每节管的中间位置,以避免不均匀沉降引起破坏。岩基上的截渗环可设在管节间的接缝处。截渗环常用混凝土建造。
(3)涵管的出口布置
坝下涵管通常流量不大,水头较低,多采用底流式消能。
复习思考题
1.简述水工隧洞的类型及工作特点。
2.水工隧洞的闸门应如何布置?
3.水工隧洞线路选择应遵循的原则是什么?
4.试述水工隧洞进口建筑物的类型、构造特点及适用条件。
5.水工隧洞的洞身断面形式有哪些?它们各适用于什么情况?
6.水工隧洞的衬砌有什么作用?有哪些类型?它们各适用于什么情况?
7.水工隧洞的衬砌分缝、洞身灌浆及排水的目的是什么?在构造上它们各有什么特点和要求?
8.什么叫围岩压力?有哪些影响因素?
9.什么叫弹性抗力?有哪些影响因素?
10.水工隧洞衬砌设计中常需考虑哪些荷载组合?
11.简述水工有压隧洞衬砌的结构计算。
12.坝下涵管与水工隧洞相比较各有什么特点?
13.坝下涵管的进口建筑物有哪些形式?各有什么优缺点?各适用于什么条件?
14.管身的细部构造有哪些?它们各有什么作用?





.jpg)
.jpg)
