
§4.3 塔式起重机
塔式起重机简称塔机或塔吊,是工业与民用建筑结构及设备安装工程的主要施工机械之一。建筑物的高度在40m以下时,一般采用行进式起重机,超过40m时,通常采用自升式起重机或内爬式起重机。
塔式起重机的起升高度一般为40~60m,旋转半径一般为20~30m。塔式起重机的工作多为电力操纵,工作平稳,安全可靠。
塔式起重机整机重量大,转移工地麻烦,拆除、安装费用高,占地面积大,要求严格,对于轨道塔式起重机,还需铺设行进轨道。
4.3.1 塔式起重机的类型、特点和适用范围
1.按行进机构分类
(1)固定式(自升式)塔式起重机
固定式塔式起重机没有行进装置,塔身固定在混凝土基础上,随着建筑物的升高,塔身可以相应接高,由于塔身附着在建筑物上,能提高起重机的承载能力。固定式塔式起重机适用于高层建筑施工,高度可以达100m以上,对施工现场狭窄、工期紧迫的高层建筑施工,更为适用。
(2)自行式(轨道式)塔式起重机
自行式塔式起重机可以在轨道上负载行走,能同时完成垂直和水平运输,并可以接近建筑物,灵活机动,使用方便。但需铺设轨道,装拆较为费时。自行式塔式起重机适用于起升高度在50m以内的中小型工业和民用建筑施工。
2.按升高(爬升)方式分类
(1)内部爬升式塔式起重机
起重机安装在建筑物内部(电梯井、楼梯间等),依靠一套托架和提升机构随建筑物升高而爬升。塔身不需附着装置,不占建筑场地。但起重机自重及载重全部由建筑物承担,增加了施工的复杂性,竣工时起重机从顶部卸下较为困难。内部爬升式塔式起重机常用于框架结构的高层建筑施工,特别适用于施工现场狭窄的环境。
(2)外部附着式塔式起重机
起重机安装在建筑物的一侧,底座固定在基础上,塔身用几道附着装置和建筑物固定,随建筑物升高而接高,其稳定性好,起重能力能充分利用,但建筑物附着点要适当加强。外部附着式塔式起重机是高层建筑施工中应用最广泛的机型,可以达到一般高层建筑需要的高度。
3.按变幅方式分类
(1)动臂变幅式塔式起重机
起重臂与塔身铰接,利用起重臂的俯仰实现变幅,变幅时载荷随起重臂升降。这种动臂具有自重小,能增加起升高度、装拆方便等特点,但其变幅量较小,吊重水平移动时功率消耗大,安全性较差。动臂变幅式塔式起重机适用于工业厂房的重、大构件吊装,这类起重机当前已较少采用。
(2)小车变幅式塔式起重机
起重臂固定在水平位置,下弦装有起重小车,依靠调整小车的距离来改变起重幅度,这种变幅装置的有效幅度大,变幅所需时间少、工效高、操作方便、安全性好,并能接近机身,还能带载变幅,但起重臂结构较重。由于其作业覆盖面大,这类起重机一般适用于大面积的高层建筑施工。
4.按回转方式分类
(1)上回转式塔式起重机
塔身固定,塔顶上安装起重臂及平衡臂,可以简化塔身和底架的连接,底部轮廓尺寸较小,结构简单,但重心提高,需要增加底架上的中心压重,安装、拆卸费时。上回转式塔式起重机适应性强,大、中型塔式起重机都采用上回转结构。
(2)下回转式塔式起重机
塔身和起重臂可以同时回转,回转机构在塔身下部,所有传动机构都装在底架上,其重心低,稳定性好,自重较轻,能整体拖运,但下部结构占用空间大,起升高度受限制。下回转式塔式起重机适用于整体架设、整体拖运的轻型塔式起重机。由于具有架设方便,转移快速的特点,故下回转式塔式起重机较适用于分散施工。
5.按起重量分类
(1)轻型塔式起重机
起重量为0.5~3t的为轻型塔式起重机,适用于6层以下民用建筑施工。
(2)中型塔式起重机
起重量为3~15t的为中型塔式起重机,适用于高层建筑施工。
(3)重型塔式起重机
起重量为20~40t的为重型塔式起重机,适用于重型工业厂房和高炉等设备的吊装。
6.按起重机安装方式分类
(1)整体架设式塔式起重机
塔身与起重臂可以伸缩或折叠后,整体架设和拖运,能快速转移和安装。整体架设式塔式起重机适用于工程量不大的小型建筑工程或流动分散的建筑施工。
(2)组拼安装式塔式起重机
组拼安装式塔式起重机是指体积和重量都超过了整体架设式塔式起重机,必须解体运输到现场组拼安装的情况。重型起重机都属于这类方式的起重机。
4.3.2 塔式起重机的基本构造
1.塔式起重机的主要工作机构
(1)变幅机构
变幅机构和起升机构一样,也是由电动机、减速器、卷筒和制动器等组成,但其功率和外形尺寸较小。其作用是使起重臂俯仰以改变工作幅度。为了防止起重臂变幅时失控,在减速器中装有螺杆限速摩擦停止器,或采用蜗轮蜗杆减速器和双制动器。水平式起重臂的变幅是由小车牵引机构实现,即电动机通过减速器转动卷筒,使卷筒上的钢丝绳收或放,牵引小车在起重臂上往返运行。
(2)回转机构
回转机构一般由电动机、减速器、回转支撑装置等组成。一般塔式起重机只装一台回转机构,重型塔式起重机装有2台甚至3台回转机构。电动机采用变极电动机,以获得较好调速性能。回转支承装置由齿圈、座圈、滚动体(滚球或滚柱)、保持隔离体及连接螺栓组成。由于滚球(柱)排列方式不同可以分为单排式和双排式。由于回转小齿轮和大齿圈啮合方式不同,又可以分为内啮合式和外啮合式。塔式起重机大多采用外啮合双排球式回转支承。
(3)起升机构
起升机构是由电动机、减速器、卷筒、制动器、离合器、钢丝绳和吊钩装置等组成。电动机通电后通过联轴器带动减速器进而带动卷筒转动。电动机正转时,卷筒放出钢丝绳,反转时卷筒回收钢丝绳,通过滑轮组及吊钩把重物提升或下降。起升机构有多种速度,在起吊重物和安装就位时适当放慢,而在空钩时能快速下降。大部分起重机都具有多种起降速度,如采用功率不同的双电动机,主电动机用于载荷作业,副电动机用子空钩高速下降。另一种双电动机驱动是以高速多极电动机和低速多极电动机经过行星传动机构的差动组合获得多种起升速度,如图4.3.1所示。图4.3.1(a)是滑环电动机驱动的起升机构,图4.3.1(b)是主电动机负责载重起升,副电动机负责空钩下降的起升机构,4.3.1(c)是双电动机驱动的起升机构。
    
图4.3.1 塔式起重机起升机构简图
(4)大车行进机构
大车行进机构是起重机在轨道上行进的装置,其构造按行走轮的多少而有所不同。一般轻型塔式起重机为4个行进轮,中型的装有8个行进轮,而重型的则装有12个甚至16个行进轮。4个行走轮的传动机构设在底架一侧或前方,由电动机带动减速器通过中间传动轴和开式齿轮传动,从而带动行进轮使起重机沿轨道运行。8个行进轮的需要两套行走机构(2个主动台车),而12个行走轮的则需要4套行走机构(4个主动台车)。大车行进机构一般采用蜗轮蜗杆减速器,也有采用圆柱齿轮减速器或摆线针轮行星减速器的。大车行进机构中一般不设制动器,也有的则在电动机另一端装设摩擦式电磁制动器。如图4.3.2所示为各种行进机构简图。
2.塔式起重机的安全保护装置
塔式起重机塔身较高,突出的大事故是“倒塔”、“折臂”以及在拆装时发生“摔塔”等。根据相关调查,塔式起重机的安全事故绝大多数都是由于超载、违章作业及安装不当等引起的。为此,国家规定塔式起重机必须设有安全保护装置,否则,不得出厂和使用。塔式起重机常用的安全保护装置有:
(1)起升高度限位器
起升高度限位器是用来防止起重钩起升过度而碰坏起重臂的装置。为此,可以使起重钩在接触到起重臂头部之前,起升机构自动断电并停止工作。常用的有两种方式:一种是在起重臂头端附近安装限位器,如图4.3.3(a)所示,第二种是在起升卷筒附近安装限位器,如图4.3.3(b)所示。
    
1—动机及减速器;2—叉架;3—心轴;4—铜垫;5—枢轴;
6—圆垫;7—锁紧螺母;8—大齿圈;9—小齿轮;10—从动台
车梁;11—主动台车梁;12—夹轨器;13—主动轴;14—车轮
图4.3.2 塔式起重机行走进机构简图
    
图4.3.3 起升高度限位器工作原理图
在起重臂头端附近安装限位器的工作方式是:在起重臂端头悬挂重锤,当起重钩达到限定位置时,托起重锤,在拉簧作用下,限位开关的杠杆转过一个角度,使起升机构的控制回路断开,切断电源,停止起重钩上升。
在起升卷筒附近安装限位器的工作方式是:卷筒的回转通过链轮和链条或齿轮带动丝杆转动,通过丝杆的转动使控制块移动到一定位置时,限位开关断电。
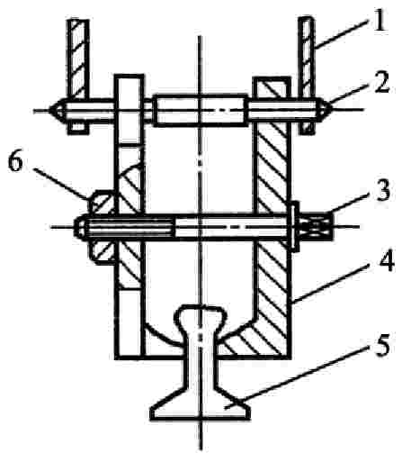
(2)幅度限位器
幅度限位器是用来限制起重臂在俯仰时不得超过极限位置(一般情况下,起重臂与水平夹角最大为60°~70°,最小为10°~12°)的装置,如图4.3.4所示。幅度限位器在起重臂接近限度之前发出警报,达到限定位置时自动切断电源。幅度限位器由半圆形活动转盘、拨杆、限位器等组成。在拨杆随起重臂转动时,电刷根据不同的角度分别接通指示灯触点,将起重臂的倾角通过灯光信号传送到操纵室的指示盘上。当起重臂变幅到两个极限位置时,则分别撞开两个限位开关,随之切断电路起到保护作用。
    
1—拨杆;2—刷托;3—电刷;4、5—限
位开关;6—撞块;7—半圆形活动转盘
图4.3.4 幅度限位器构造简图
(3)小车行程限位器
小车行程限位器设于小车变幅式起重臂的头部和根部,包括终点开关和缓冲器(常用的有橡胶和弹簧两种),用来切断小车牵引机构的电路,防止小车越位而造成安全事故,如图4.3.5所示。
    
1—起重小车止挡块;2—限位开关;3—缓冲器
图4.3.5 小车行程限位器简图
(4)大车行程限位器
大车行程限位器设于轨道两端,由止动缓冲装置、止动钢轨以及装在起重机行进台车上的终点开关组成,用于防止起重机脱轨事故的发生。
如图4.3.6所示的是目前塔式起重机较多采用的一种大车行程限位装置。当起重机按图示箭头方向行进到设定位置时,终点开关的杠杆即被止动断电装置(如斜坡止动钢轨)所转动,电路中的触点断开,则行进机构停止运行。
    
1—终点开关;2—止动断电装置
图4.3.6 大车行程限位装置示意图
(5)夹轨钳
夹轨钳装在行走底架(或台车)的金属结构上,用来夹紧钢轨,防止起重机在大风情况下被风力吹动。夹轨钳如图4.3.7所示,由夹钳和螺栓等组成。在起重机停放时,拧紧螺栓,可以使夹钳夹紧钢轨。
    
1—侧架立柱;2—轴;3—螺栓;4—夹钳;5—钢轨;6—螺母
图4.3.7 夹轨钳简图
(6)起重量限制器
起重量限制器是用来限制起重钢丝绳单根拉力的一种安全保护装置。根据构造,可以安装在起重臂根部、头部、塔顶以及浮动的起重卷扬机机架附近等位置。
(7)起重力矩限止器
起重力矩限止器是指当起重机在某一工作幅度下起吊载荷接近、达到该幅度下的额定载荷时发出警报进而切断电源的一种安全保护装置,用来限止起重机在起吊重物时所产生的最大力矩不超越该塔机所允许的最大起重力矩。根据构造和塔式起重机形式(动臂式或小车式)不同,可以安装在塔帽、起重臂根部和端部等位置。
机械式起重力矩限止器的工作原理是:通过钢丝绳的拉力、滑轮、控制杆及弹簧进行组合,检测载荷,通过与臂架的俯仰相连的“凸轮”的转动检测幅度,由此再使限位开关工作,如图4.3.8(a)所示。电动式起重力矩限止器的工作原理是:在起重臂根部附近,安装“测力传感器”以代替弹簧;安装电位式或摆动式幅度检测器以代替凸轮,进而通过设在操纵室里的力矩限止器合成这两种信号,在过载时切断电源,如图4.3.8(b)所示。其优点是可以在操纵室里的刻度盘(或数码管)上直接显示出载荷和工作幅度,并可以事先把不同臂长时的几种起重性能曲线编入机构内,因此,使用较多。
    
图4.3.8 动臂式起重力矩限止器的工作原理图
(8)夜间警戒灯和航空障碍灯
由于塔式起重机的设置位置,一般比正在建造中的大楼高,因此必须在起重机的最高部位(臂架、塔帽或人字架顶端)安装红色警戒灯,以免飞机相撞。
4.3.3 塔式起重机的安装和顶升(爬升)
1.起扳法安装塔式起重机
起扳法是利用变幅机构或同时利用变幅机构和起升机构进行立塔和拉臂,无需地锚和辅助起重机。该方法的优点是操作方便,安装迅速,省工省时,一般半天之内即可以投入吊装施工。但存在的问题是要求有较高大的安装场地,而且当塔身和吊臂长度大时,会产生很大的钢丝绳拉力和塔身安装内力。
(1)整体起扳法
整体起扳法一般是利用自身变幅机构(此时变幅滑轮组作安装架设用)整体起扳塔身和吊臂,如图4.3.9所示。塔身在立起与放倒时,要求有较慢的速度,但起扳塔身的力量则要求很大,图4.3.9所示的变幅绳绕法正好能满足这一要求,图示机型正常变幅时变幅滑轮组倍率为4,安装塔身时,倍率为7。架设过程如下:
①首先将塔式起重机拖上轨道,夹轨器夹紧钢轨,并用楔块塞住车轮防止其移动。再将回转平台与底盘临时固定,以防在架设过程中回转。臂架与塔身用扣件扣住,穿绕好变幅钢丝绳,此时塔式起重机处于图4.3.9(a)所示的状态。
②开动变幅机构,塔身开始绕O1点转动拉起,直至塔身至垂直位置,如图4.3.9(b)所示。
③拆除臂架与塔身的连接扣件,穿绕好起升钢丝绳,在臂架头部绑扎一麻绳,尽量将臂架外拉,使其与塔身成一夹角,以克服死点,然后开动变幅卷扬机,臂架将绕O2点转动拉起,直至所需位置,变幅卷扬机刹车。最后升起吊钩,放松夹轨器,拆卸平台与底盘的固定件,塔机架设结束,如图4.3.9(c)所示。
    
图4.3.9 整体起扳法安装塔式起重机示意图
(2)折叠法
为了减少安装时所需的场地面积,减少拖运长度,有利于整体拖运,下回转塔式起重机塔身和吊臂常做成伸缩和折叠的构造形式。QTL—16型轮胎塔式起重机如图4.3.10(a)所示,是使用钢丝绳滑轮组进行安装架设的,其塔身可以伸缩,吊臂可以侧折,塔身和吊臂缩进、折叠后向后倾倒(后倾式折叠)。该起重机的整个架设过程包括竖塔、伸塔和拉起吊臂等动作,均通过本身的卷扬机加以实现,大致有以下五个步骤:
①由下部操纵台控制进行立塔身。开动卷扬机,收紧安装钢丝绳使塔身与起重臂一起逐渐立起,臂头着地,起重臂向外滑行,如图4.3.10(b)所示,直至塔身垂直,再用销轴将塔身与转台连接,如图4.3.10(c)所示。
②外塔身固定后,推出内外塔身的连接轴,继续开动卷扬机,内塔身就逐渐向上伸出,直至限位开关断电后自动停止。然后,插上内外塔身的连接轴,同时顶紧外塔身顶部的四个螺旋千斤顶,如图4.3.10(d)所示。
③拉起重臂取下外塔身的下滑轮架4,并把下滑轮架4与变幅拉绳连接起来,再开动卷扬机,即可以把起重臂拉至水平位置或成40°仰角位置。
④若需在低塔进行工作,则可以在安装前预先取下伸缩调节拉绳,接入其余各根钢丝绳。然后再按第三步拉起重臂至工作位置(水平或成40°仰角),即为低塔工作状态。
    
1—卷扬机;2—销轴;3—连接轴;4—下滑轮架
图4.3.10 QTL—16型轮胎塔式起重机架设过程示意图
⑤开动卷扬机,放松安装钢绳,使塔身拉绳受力,然后拨动卷扬机的拨叉,让接合齿轮与起重卷筒的内齿圈啮合,起重机即可以投入工作。
2.自升式塔式起重机的顶升方式
根据顶升接高方式的不同,顶升方式可以分为下顶升加节接高、中顶升加节接高和上顶升加节接高三种不同形式,如图4.3.11所示。
(1)下顶升加节接高
人员在下部操作,安全方便。其缺点是:顶升重量大,顶升时锚固装置必须松开。
(2)中顶升加节接高
由塔身一侧引入标准节,可以适用于不同形式的臂架,内爬、外附均可,而且顶升时无需松开锚固装置,应用面比较广。
(3)上顶升加节接高
由上向下插入标准节,多用于俯仰变幅的动臂式自升式塔式起重机。
按顶升液压缸的布置,顶升方式又可以分为中央顶升和侧顶升两种。
(1)中央顶升
所谓中央顶升,是指将顶升液压缸布置在塔身的中央,并设上、下横梁各一个。液压缸上端固定在上横梁铰点处。顶升时,活塞杆外伸通过下横梁支撑在下部塔身的托座或相应的腹杆节点上。液压缸的大腔在上,小腔在下,压力油不断注入液压缸大腔,小腔中液压油则回流入油箱,从而使液压缸将塔式起重机的上部顶起。其顶升过程如图4.3.12(a)~(e)所示。
    
图4.3.11 三种不同的接高方式示意图
    
图4.3.12 中央顶升接高过程示意图
(2)侧顶式
所谓侧顶式,是将顶升液压缸设在套架的后侧。顶升时,压力油不断泵入液压缸大腔,小腔里的液压油则回流入油箱。活塞杆外伸,通过顶升横担梁支撑在焊接于塔身主弦杆上的专用踏步块上,踏步块间距视活塞杆有效行程而定,一般取1~1.5m。由于液压缸上端铰接在顶升套架横梁上,故能随着液压缸活塞杆的逐步外伸而将塔机上部顶起来。侧顶式的主要优点是:塔身标准节长度可以适当加大,液压缸行程可以相应缩短,加工制造比较方便,成本也低廉一些。其顶升接高过程如图4.3.13所示。
    
图4.3.13 侧顶升接高过程示意图
3.内爬升塔式起重机的安装和爬升
内爬升塔式起重机安装在建筑物内部(电梯井或楼梯间),能随着建筑物升高而逐层向上爬升。由于内爬升塔式起重机具有不占用施工场地,不需构筑轨道基础,塔身不需接高和附着等优点,在高层建筑和超高层建筑施工中得到广泛使用。
(1)内爬升塔式起重机的安装
内爬升塔式起重机的安装与自升塔式起重机相似,不同之处是不需要安装行走底架和顶升套架。其安装顺序是:底座及基础节→爬升系统→塔身标准节→承座、支承回转装置、转台及回转机构→塔帽、驾驶室→平衡臂→起重臂→平衡重。
(2)内爬升塔式起重机的爬升
内爬升塔式起重机的液压爬升装置包括:液压机组、爬升横梁(扁担梁)、爬升框架、爬升梯、导向装置、止降楔块及爬升塔架(塔身基础节)等。内爬升塔式起重液压机组的组成与自升塔式起重机的液压顶升机构相同,液压回路也基本相同。根据液压装置的安装位置,可以分为液压缸设置在塔身基础节中间的中央爬升结构和液压缸设置在塔身基础节一侧的侧爬升结构两种。内爬升塔式起重机爬升作业程序如图4.3.14所示。
4.3.4 塔式起重机的选用
1.建筑物主体结构工程施工选用塔式起重机应考虑的几个主要问题
(1)使用轨行式塔式起重机,应考虑到轨道中心至建筑物外墙之间的距离,一般控制在4.5~6.5m;使用外附式自升塔式起重机时,应考虑被附着的框架节点的承载能力;若使用内爬式塔式起重机,则应考虑建筑结构支承塔式起重机后的强度和稳定性。
(2)塔式起重机的吊高,应是施工过程的最大吊装高度;作业回转半径,应是施工过程中要求的最远的安装(卸物)距离。
(3)在同一施工现场使用多台塔式起重机同时作业时,应考虑有没有障碍物,塔式起重机的起重大臂是否会出现碰撞,对平衡臂同样应有可靠的安全措施。
    
1—缩回活塞杆;2—提起爬升横梁;3—伸出活塞杆;4—上横梁爬爪支于爬梯另一踏步块上;
5—缩回活塞杆;6—继续提起爬升横梁支于踏步块上,完成爬升循环
图4.3.14 内爬升塔式起重机爬升过程示意图
2.塔式起重机的选择步骤
(1)选机:根据建筑物施工要求的最大吊高来选定塔式起重机的类型。倾斜臂架式塔式起重机的最大吊高为60m,外附式自升塔式起重机的最大吊高为160m,内爬式自升塔式起重机的最大吊高大于160m。
塔式起重机最大吊高按下式进行计算
H塔≥H1+H2+H3+H4 (4.3.1)
式中:H塔——要求塔式起重机的最大起吊高度,m;
H1——建筑物总高度,m;
H2——建筑物施工层施工人员安全生产所需要的安装高度,m,一般为1.5~2m;
H3——被安装的构件或最高吊物的高度,m,一般为3~3.5m;
H3——索具高度,m,一般为2.5~3m。
(2)定型:根据建筑构件安装或重物卸物的不同距离和不同重量来选定适宜的塔式起重机的型号,以满足吊装作业全过程的要求,并做到经济合理。
上一篇:语言符号的任意性与象似性辨析
下一篇:辅助生产费用的分配与核算





.jpg)
.jpg)
