
5.1 链篦机-回转窑装置状态维护与检修技术
5.1.1 概述
链篦机-回转窑是由链篦机和回转窑两部分联合组成的球团烧结设备,其生产工艺流程如图5-1所示。采用链篦机-回转窑生产球团矿的工艺过程一般包括布料、干燥和预热、焙烧、冷却等几个阶段。链篦机-回转窑焙烧球团法的特点是将生球先置于移动的链篦机上,生球在链篦机上处于相对静止状态,在这里进行干燥和预热,然后再送入回转窑内。球团在窑内不停地滚动,进行高温固结,生球的各个部位都受到均匀的加热。由于球团矿在窑内不断滚动,使球团矿中精矿颗粒接触得更紧密,所以焙烧效果好,生产的球团矿质量好。
图5-1 链篦机-回转窑工艺流程
5.1.2 链篦机装置状态维护与检修技术
5.1.2.1 链篦机工艺流程
链篦机是对生球进行干燥和预热的设备,合格生球经摆动胶带机、宽胶带布料机和辊式布料机均匀地布到链篦机篦床上,随篦板前进,经鼓风干燥、抽风干燥和预热(见图5-1),使生球达到一定的强度,完成焙烧前的准备,在链篦机的排料端通过铲料板给入回转窑。因此,链篦机共分为鼓风干燥段、抽风干燥段、预热Ⅰ段和预热Ⅱ段,在生产中,要调整好链篦机内的强氧化气氛,调节好链篦机各段的温度,在保证布料均匀稳定的基础上生产出合格的干球,避免由于干燥球破裂而造成粉末入窑。
1)鼓风干燥
生球在鼓风干燥段内用180~250℃的干燥气流进行干燥,去除生球附着的水分,同时可以避免下部生球过湿。鼓风干燥用的热气流来自环冷机第三冷却段,通过风机和管路系统送往鼓风干燥段。环冷机三冷段热废气温度300~350℃,因此在管路上设有冷风阀,兑入部分冷风,以使鼓风温度控制在180~250℃。热风压力由风机入口风门控制,以保证链篦机风箱恒压。鼓风干燥段设有2个风箱,总长6m。鼓风干燥时间2min。生球的湿料层起着烟尘过滤作用,从料层出来带有水分的热废气,通过链篦机上部烟囱排向大气。
2)抽风干燥
抽风干燥段采用来自预热Ⅱ段近400℃回收热废气对料层进行干燥,使生球脱水、干燥、升温,并可以承受预热Ⅰ段700℃以上温度。抽风干燥时间7min。在此段生球水分已经脱净,干燥后的球团矿开始升温。主抽风机从风箱抽出的热废气,经主电除尘器除尘后,由主抽风机再经烟囱排入大气。
3)预热Ⅰ段
在预热Ⅰ段,700℃以上热气流通过料层使生球继续升温,以保证球团在预热Ⅱ段可以承受1 000℃以上高温,此时FeO开始氧化。
预热Ⅰ段主要为来自环冷机二冷段热废气,并补充部分来自预热Ⅱ段约1 100℃热气流,这股热气流通过预热Ⅰ段与预热Ⅱ段烟罩间隔墙孔导入。来自环冷机二冷段的热废气通过管路直接进入预热Ⅰ段烟罩。
预热Ⅰ段热废气通过风箱两侧汇集总管与抽风干燥段热以及预热Ⅱ段的废气一起,通过主电除尘器、主抽风机和烟囱排放。
4)预热Ⅱ段
在预热Ⅱ段,球团进行氧化和加热,并完成部分固结硬化,使球团有一定强度,能经受由链篦机落到回转窑时的冲击,和在回转窑运动过程中不致破碎。其热源来自窑尾1 050℃热气流。
因以赤精矿为主要原料,矿石中FeO含量低,在链篦机头部密封罩上设辅助烧嘴,烧嘴以焦炉煤气为燃料,保证链篦机预热段温度。
链篦机篦床上最下层球团在离开链篦机进入回转窑时的温度在750℃左右,以使链篦机篦板不致承受过高温度而损坏。
在预热Ⅱ段烟罩顶部设放散烟囱和放散阀,作为烘炉和故障操作时使用。
生球在链篦机上干燥、预热共20min。预热后球团矿获得足够强度,经铲料板、溜槽进入回转窑。
5)除尘
来自链篦机预热Ⅰ段和抽风干燥段风箱热废气,汇集后,经主电除尘器、主抽风机、烟道通过烟囱外排。
主电除尘器排出的灰尘由螺旋输送机输送到贮灰仓里,再用仓式泵气力输送到配料室灰尘矿槽参加配料。
6)返料处理
链篦机鼓风干燥段与抽风干燥段散料及预热前段散料通过散料胶带机运至链篦机尾部散料斗里,但这部分散料量很少。链篦机预热段后部分散料与链篦机头部及回转窑尾散料一起通过溜槽进入耐热斗式提升机,再返回回转窑。
5.1.2.2 链篦机主要结构及功能
如图5-2、图5-3所示,链篦机主要组成部分有:传动装置、运行链装置、风箱、烟罩、水冷系统、润滑系统。
图5-2 链篦机整体外形
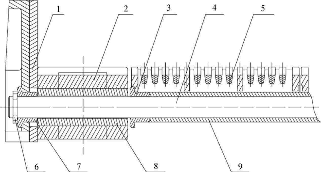
图5-3 链篦机
1-传动链条;2-侧挡板;3-上部托轮;4-链板;5-下部托轮;6-侧挡板;7-小轴;8-连接板
1)传动装置
传动装置设于链篦机的排料端,为保证运行平稳,采用双侧全悬挂两点啮合柔性传动装置,电机为变频调速,传动装置悬挂在链篦机主轴两端,用胀套联结,通过驱动链篦机的排料端主轴带动链板运行。
2)走行部分
走行部分包括链节、篦板、上下托轴、头尾轴,链篦机的驱动头轮采用空心水冷轴,装配七个链轮拖动七条链组成的运行链(篦床)运行链每组装配7个链节,每两个链节间夹两个装在定距套管上的篦板,中间穿心轴成一体,轴两端装有叠合的挡料侧板,并用卡环定位,侧板靠自重在侧密封箱的滑轨上滑行,各配件间均留有一定的间隙,以补偿设备制造误差和适应热态下工作。下回程不同位置处设置了一定数量的档轮,防止下回程篦床跑偏。
运行链下由上托轮支承,每一托轮组由两个牙轮和两个边轮组成,为减少运行链跑偏,将牙轮对中前后交错排列,为更换方便,轮盘均采用分体结构。托轮轴由机架横梁上轴承座支承,在穿出支梁的侧密封采用柔性石墨填料轴封。高温区的预热段上托轴采用中空轴即采用的水冷结构的上托轴,并采用水冷却,考虑到将来原料条件变化,对链篦机各工艺段风箱可能进行调整。篦床侧面由侧密封箱封闭,侧板上部用勾头板、下部用侧板与滑轨形成密封。
运行链的尾部设有压辊装置,对回到行程没有复位的篦板强制复位,以使篦床平整,避免篦板上翘及漏料,在尾轮的下侧设有重锤式张紧装置,通过调整配重锤的数量,调整运行链的张力。
风箱下部的回程运行链由下托轮支承,每组下拖轮有6个平轮支托篦床,随运行链的移动而移动,拖轮轴由机架横梁上的轴承座支承。
由于链篦机篦床处于高温环境,故运行链的构件、链节、篦板、侧板、链轮等均采用相应的耐热钢铸件。
3)铲料板
运行链头部的铲料板呈弧形,由两块带边帮的侧板和8块中间板组成,每列篦板上设有一块铲料板,通过下部穿过耳板的横轴与支座成一体,可随横轴旋转,弧面板后部有凹面,以行成料衬保护铲料板,支座由固定在机架上的水冷梁支承,铲料板下吊重锤的拉杆上设有斜铁式调整块,可在线调整铲头与篦床面的间隙,当篦床上有异物时将铲料板可自动抬起让异物通过后在重锤的作用下自动复位。在铲料板下部还吊有链板式柔性导轨,在篦板沿该导轨向下滑移的过程中,篦板逐渐翻转,以避免翻转时相互撞击。
4)风箱
风箱采用钢板及型钢焊接而成,穿过料层的烟气经风箱汇集后到总管,篦床漏下的散料经风箱下部的排料支管从双层卸灰阀排出。
篦床下部对应各段的风箱密封与篦床之间用纤维浇注料填空,以减少窜风。
风箱内壁设有浇注耐热、耐磨材料、风箱外表面做保温。
5)上罩
链篦机上罩及内衬耐火隔热固定在机架上用托板支承,各段间用水冷梁支承着砖墙隔开,进料口处用双层橡胶帘密封,篦床下部对应各段的风箱密封,篦床下部对应各段的风箱密封与篦床之间用纤维浇注料填空,以减少窜风热损。鼓风干燥后的低温废气由上罩上部的烟囱排入大气,在预热段顶部设有事故放散烟囱阀,供在事故状态下使用。
6)灰箱
链篦机下部设有灰箱,收集回程篦床下落的散料。
7)下回程封闭
下回程封闭,在两侧用粘接在钢板上的隔热材料使篦床与空气隔离,减少回程篦床的热应力。
8)机架
链篦机全部由型钢制作的机架支承,机架在每段的隔墙处采用可滑移结构,将热膨胀自行吸收消除。
5.1.2.3 链篦机装置状态维护内容及周期
链篦机装置状态维护内容及周期见表5-1。
表5-1 链篦机装置状态维护内容及周期
5.1.2.4 链篦机装置常见故障与处理对策
(1)链篦机装置常见故障与处理对策见表5-2。
表5-2 链篦机装置常见故障与处理对策
(续表)
(2)篦床跑偏常见故障与处理对策。
篦床跑偏常见故障与处理对策见表5-3。
表5-3 篦床跑偏常见故障与处理对策
(3)链篦机主轴常见故障与处理对策。
链篦机主轴常见故障与对策见表5-4。
表5-4 链篦机主轴常见故障与处理对策
(续表)
(4)铲料板常见故障与处理对策
铲料板常见故障与处理对策见表5-5。
表5-5 链篦机铲料板常见故障与处理对策
5.1.2.5 链篦机装置定(年)修的主要施工内容
链篦机装置定(年)修的主要施工内容如下:
(1)密封装置、灰斗装置及风箱检查,使其密封性良好。
(2)传动部分揭盖检查拆洗换油,更换已损坏零件。
(3)检查,处理异常现象,调整各部位安装中心。
(4)铲料板及各种托轮、链轮修理或更换。
(5)上托轴、下托轴以及小轴的更换。
(6)机架、密封罩、灰斗装置、风箱进行修补或更换,恢复到原本状态。
(7)损坏的篦板更换。
(8)链节全部更换。
(9)主轴及主轴轴承更换。
(10)所有磨损的上托轴、下托轴进行更换。
5.1.2.6 链篦机装置主要零部件的检修参数
链篦机装置主要零部件的检修参数见表5-6。
表5-6 链篦机装置的检修参数
(续表)
5.1.2.7 链篦机装置的主要检修方法
运行部分是链篦机的核心,它是由驱动链轮装置、从动链轮装置、侧密封、上托轴、下托轴、链篦装置及拉紧装置等组成。驱动链轮装置安装在链篦机头部,链轮轴上装有6个等间距的链轮。轴承采用滚动轴承,该轴承座设计成水冷式,同时侧板采用耐热内衬隔热。并在侧板与轴承座之间装有隔热水箱,从而避免主轴轴承过热。采用两端同时传动,每侧分别由两个电机带动两个小减速机进而带动大减速机运转,设计考虑防止篦床跑偏中间链轮采用定位套固定,两端为自由端,与大减速机采用胀套连接、轴心部采用通水冷却措施。
图5-4 静密封位置
1-静密封;2-上托轴
侧密封包括静密封(见图5-4)和动密封。静密封固定在链篦机的骨架上,动密封由链篦装置的侧板所组成。该侧板置于上滑道的上方,与滑道形成一个滑动密封。因侧板孔为长孔,故侧板能上、下移动,以补偿因磨损带来的间隙。同时静密封每隔一段距离有一观察孔,该观察孔有两个作用:一是可以观察链篦装置运行情况;二是可以清除滑道上的落料。侧密封用两种材质做成:一种是耐热钢,用于预热段,抽风干燥段;另一种为普通材质,用于抽风鼓干段。
链篦装置是以牵引链节、篦板、两侧板、小轴、定距管等组成链,呈带状做循环运动。在篦板运行中,使料球干燥及预热。整个链篦装置是在高温环境下工作,又承受巨大的工作载荷。因此,链节、小轴、篦板能否承受恶劣的工作环境是关系到整个链篦机能否正常工作的关键。
1)链篦机上托轮轴更换
链篦机上托轮轴由若干根组成,上托轮轴分水冷与非水冷,靠近头轮的为水冷式上托轴(见图5-5),位于预热Ⅰ段、Ⅱ段的是空心轴,采用水冷式。其余部分是实心轴(见图5-6),位于链篦机尾部、鼓干段和抽干段。
图5-5 上托轮轴(水冷)结构(空心)
图5-6 上托轮轴结构(实心)
下托轴结构如图5-7所示,所有下托轴采用实心,下托轴的作用是对回程道上的篦板起支撑作用。
图5-7 下托轴装配结构
1-螺母;2-轴承盖;3-垫片;4-垫圈;5-闷盖;6-键;7-下托轴;8-下托轮;9-滚动轴承
上托轮轴的上面装有4个平轮和两个链轮,大部分被风箱包围着,其作用是平稳输送上篦床并对篦床有支撑作用。根据上托轴安装位置的不同,平轮和链轮在上托轴的组装位置也会不同,平轮、链轮的布置采用人字形,从而避免链篦装置跑偏。高温段上托轮轴为水冷上托轴。水冷上托轴主要结构如图5-8、图5-9、图5-10、图5-11、图5-12、图5-13所示。非水冷式上托轴与之相似。
图5-8 上托轮轴装配结构(一)
1-滚动轴承座;2-键;3-键;4-键;5-水冷上托轴;6-侧上托轮;7-平轮;8-链轮;9-护轴套(1);10-耐热纤维毡;11-护轴套(2);12-垫片组
图5-9 上托轮轴装配结构(二)
1-滚动轴承座;2-键;3-键;4-键;5-水冷上托轴;6-侧上托轮;7-链轮;8-平轮;9-护轴套(1);10-耐热纤维毡;11-护轴套(2);12-垫片组
图5-10 上托轮装配结构(三)
1-滚动轴承座;2-键;3-键;4-水冷上托轴;5-侧上托轮;6-平轮;7-护轴套(1);8-耐热纤维毡;9-护轴套(2);10-垫片组
图5-11 上托轮装配结构(四)
1-滚动轴承座;2-键;3-键;4-上托轴;5-侧上托轮;6-平轮;7-护轴套(1);8-耐热纤维毡;9-护轴套(2);10-垫片组
图5-12 上托轮轴装配结构(五)
1-滚动轴承座;2-键;3-键;4-键;5-上托轴;6-侧上托轮;7-链轮;8-平轮;9-护轴套(1);10-耐热纤维毡;11-护轴套(2);12-垫片组
图5-13 上托轮轴装配结构(六)
1-滚动轴承座;2-键;3-键;4-键;5-上托轴;6-侧上托轮;7-平轮;8-链轮;9-护轴套(1);10-耐热纤维毡;11-护轴套(2);12-垫片组
(1)检修程序。
检修程序如下:
准备工作─→拆除对应上托轮轴、两排篦板,并将链节拉起─→拆除轴两端轴承座及油管、水箱等附属装置─→拆除上托轴上平轮、链轮和护罩─→拆除两端密封装置,将轴拉出─→新轴安装到位─→回装平轮、链轮及附属设施─→回装轴承座并固定好,恢复油管水管及水箱─→试车。
(2)检修方法。
①旧的上托轴拆除准备工作。
准备工作有:(a)工具、照明准备到位;(b)龙门架运到链篦机内,并组装好(见图5-14);(c)灰箱内放入跳板,铁丝与灰箱固定。
图5-14 上托轴更换
1-龙门架;2-篦板;3-手拉葫芦;4-上托轴
②将链篦机尾部的配重松掉。
③用手拉葫芦将旧轴上方的篦床链节拉起,拉起高度应超过链轮齿高度。
④拆除两端轴承座、油管、附属设施,用拉马与螺旋千斤顶配合拆除轴承(见图5-15)。
⑤拆除上托轴上的链轮、平轮、侧上边轮,链轮、平轮、侧上边轮均为剖分式,拆除时,只需要拆除两剖分面之间的链接螺栓即可。
⑥在手拉葫芦和电动葫芦互相配合下,将旧轴拉出。
图5-15 拉马拆除轴承座
1-拉马;2-轴承;3-上托轴
图5-16 链轮、平轮更换
1-螺栓;2-链轮;3-上托轴
⑦用相同的方法将新轴安装到位。将轴一端放入孔内,用葫芦在另一端牵引,拉入新轴。
⑧回装轴上的平轮、链轮、边轮(见图5-16)。
图5-17 上托轴轴承装配
1-轴承;2-上托轴
⑨回装两端轴承、轴承座、油管及冷却装置(见图5-17)。
⑩手工转动灵活后,拆除自制架。
〇11摘牌试车,现场“6S”工作。
2)链篦机篦床整体更换
篦板(见图5-18、图5-20)是链篦机的主要承载件,也是主要易损件。它工作时的最高温度可达600~700℃,而在回程中又要冷却到150℃,这样周期性的热胀冷缩是篦板损坏的主要原因。而链轮和链条主要起牵引篦板的作用。侧板(见图5-19)主要起挡料和密封作用。
图5-18 篦板零件结构
图5-19 侧板结构
图5-20 篦板结构
1-篦板;2-小轴;3-螺母;4-卡块;5-螺栓
(1)检修程序。
施工前准备─→拆卸链篦机篦板─→链篦机上托轴更换─→更换上篦床两侧静密封及滑轨─→更换除篦板外的整个篦床─→试车。
(2)检修方法。
①施工前准备:工机具,材料及人员到位,应确认设备处于非工作状态。
②拆卸链篦机篦板(见图5-21):拆卸篦板应分两组人员同时进行施工(一组拆除上篦床上的篦板,另一组拆除下篦床上的篦板)。待两组人员施工到交替位置时,下篦床上篦板的拆卸工作暂时停止,人员撤到安全位置,当错过交替位置后,下篦床的人员方可继续进行施工,直到所有的篦板拆卸完毕。
图5-21 篦板拆卸
(a)上篦床篦板拆卸;(b)下篦床篦板拆卸
③更换上篦床两侧滑轨及静密封。
a.将链篦机上篦床两边的侧板、侧板链、每根小轴上的定距管及小轴部分全部割除,以便于旧滑轨的拆卸和新滑轨的安装、找正、校平;然后拆卸滑轨。
b.更换静密封(见图5-22)。使用手拉葫芦和撬棍配合更换静密封。
c.更换滑轨(见图5-23)。更换前必须弄清滑轨的顺序(两端链条下端),按顺序进行先后标记;滑轨安装必须水平且各连接处必须光滑平直;在拆卸时撤完一块旧的后马上安好一块新的,直至全部滑轨更换完毕,在此过程中只能旋出,不能割断。
图5-22 静密封更换
1-静密封
图5-23 滑轨更换
1-滑轨
④更换除篦板外的整个篦床。
a.将链节、链节内套、定距管、小轴、轴套、侧板以及挡块在宽皮带的平板上装配好(见图5-24),每次用电动葫芦将六组(每组六节链节和链节内套)吊至宽皮带上,顺着辊式筛分机将其与旧的上篦床链节连接在一起。注意:(a)这时已经将其旧篦床断开,上回程旧篦床与新链节连接,下回程旧篦床与卷扬机钢丝绳连接在一起(见图5-25、图5-26);(b)宽皮带和辊式筛分机处应放薄钢板,这样有利于链节滑入篦床和避免宽皮带弄坏;旧篦床上的篦板建议全部拆除,减少卷扬机拖拉过程的阻力。
图5-24 链节装配过程
1-侧板;2-小轴;3-定距管;4-轴套;5-链节
图5-25 新旧篦床的连接
1-新篦床;2-旧篦床
图5-26 旧链床拆除
(a)旧链节解体;(b)旧篦床拉出(卷扬机未示出)
1-旧篦床;2-旧链节
b.拆除旧篦床(见图5-26)。开动卷扬机和链篦机,在拆除旧链节的同时将新链节安装就位(操作人员点动链篦机和卷扬机,要保证链篦机和卷扬机的速度一致),用卷扬机拖出下篦床链条直到将其拉直,然后将旧链节割断后用电动葫芦慢慢移到空旷地方。在此过程中注意:(a)不能有严重跑偏和卡阻现象;(b)上回程新链节进入不能过快,这样会导致其链节堆积在下方的导向链处,造成下回程卷扬机无法将旧链节拉出,导致钢丝绳断裂;(c)下回程旧链节不能拉出过快,否则易造成下方卷扬机钢丝绳拉断;(d)链节拖出后必须把钢丝绳退出并对卷扬机进行停电,以免卷扬机误启动。
3)链篦机小轴更换
图5-27 小轴
链篦机小轴(见图5-27)是篦床的重要组成部分,是连接篦板的重要支撑。小轴上安装有侧板、链节、小轴套、小轴、篦板、卡环、链节内套、定距管,它们共同组成小轴部件(见图5-28)。
图5-28 小轴装配结构
1-侧板;2-链节;3-小轴套(2);4-小轴;5-篦板;6-卡环;7-小轴套(1);8-链节内套;9-定距管
链篦机小轴更换步骤和方法如下:
①需更换的小轴部分转到链篦机下部。
②松掉尾部配重装置。
③更换部位上方用葫芦拉住篦床,2~3个点(便于回装小轴)。
④需要更换部位的篦板拆除。
⑤用气焊切割旧的小轴拉出,由于小轴与链节是间隙配合,施工人员直接用手将其拔除。
⑥安装相反的步骤安装新的小轴。
⑦恢复篦板。
4)链篦机篦床的调整
篦床(装配见图5-29)是链篦机的主要部分,生料球就是在篦床上行干燥和预热的。篦床的工作条件比较恶劣,温度变化大(温度变化区间从20℃~1 000℃左右),而且承受很大的拉力。它是由多种零件组成的大链条,常见的故障是跑偏、刮卡其他机件造成电机超负荷,所以篦床跑遍调整非常重要。
图5-29 篦床装配
1-小轴;2-侧板;3-链节;4-篦板
篦床跑偏的调整方法:
常见的跑偏大部分产生在篦床返程时,主要原因是由下托轮安装不正确所引起的,可按表5-7的方法先在篦床跑偏前方的下托轮轴一端水平移动轴承座,使其位移2~3mm就见效,如果跑偏量大可调整2~3根下托轮轴,这是调整篦床跑偏最有效的方法。
表5-7 篦床跑偏调整方法
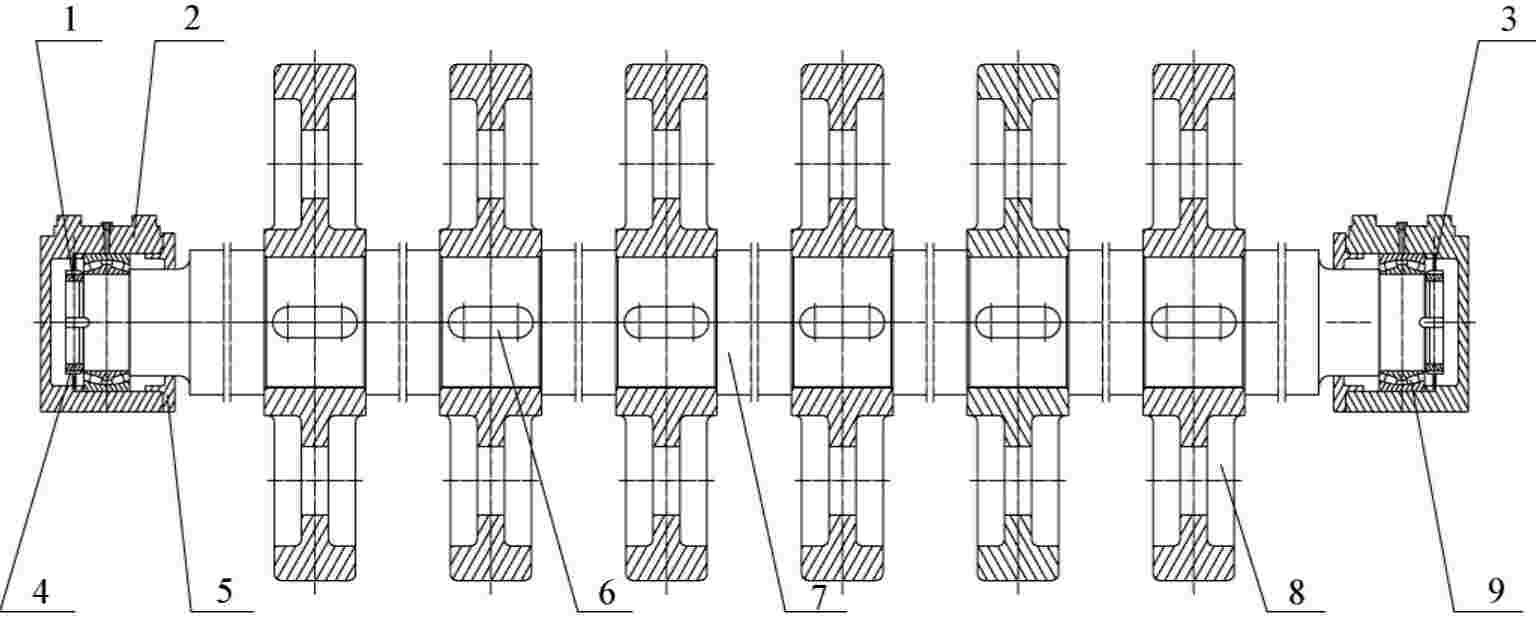
5)链篦机主轴更换
链篦机主轴(见图5-30)是牵引整个篦床的主要链齿啮合传动装置,其上装有一排链轮,啮合着装在小轴上的一排链节,链节安装在轴套上,轴套之间有定距管,使链节间的距离保持与链齿相吻合。其特征是:以中心线为界,两边分别排列着对称的链轮。
(1)检修程序。
检修程序如下:
准备工作─→拆除其附属设施─→拆除悬挂式电机、小减速机─→胀套拆除、拉出大减速机─→拆除轴承座、轴承─→更换新轴承─→链轮回装─→找正─→减速机、小减速机、电机等设施回装─→附属设施回装─→试车。
图5-30 主轴传动结构
1-主轴;2-轴承;3-链轮(1);4-止退环;5-链轮(2);6-链轮(3);7-螺钉;8-定位套(1);9-键;10-定位套(2);11-螺栓
(2)检修方法。
①安全设施、附属设施全部拆除。
②松掉篦床尾部配重,使尾轮朝头部方向移动足够的距离。同时拆除上链轮,用上方的葫芦将篦床拉起,保证主轴拆除所需要的空间。
③减速机上盖(见图5-31)和大减速机下方柔性传动平衡杆等附属设施拆除。
④行车配合拆除悬挂式电机、小减速机。
⑤行车吊钩升挂两个5t葫芦,吊住悬挂大减速机(受力要均匀)。
⑥用专用扳手拆除胀套螺栓,取出胀套。
⑦拆除大减速机。
⑧拆除轴承座。
⑨通过葫芦配合逐步将主轴移出链篦机外(见图5-32),然后将所有零部件清洗干净。
图5-31 大减速机端盖拆
图5-32 主轴轴承及主轴更换
1-主轴;2-主轴轴承
⑩用同样的方法安装新的主轴。
链轮回装。
找正:主轴的安装精度直接影响到整个篦床运行跑偏,主轴安装就位后必须找正,将轴线对机组的垂直度、水平度和标高控制在规定范围内。
依次回装大减速机、小减速机、电机,校正联轴器。
回装平衡杆、减速机上盖、防护罩等附属设施。
尾轮配重恢复到原始位置,拆除手拉葫芦、吊耳等吊装临时设施。
按照设备操作规程试车。
6)链篦机铲料板更换
铲料装置包括铲料板及支承、链条装置、重锤装置及拉紧装置。如图5-33所示,铲料板的作用是将篦板上的物料送入回转窑。重锤装置可以使铲料板做起伏运动,既可以躲避嵌在篦板上的碎球对铲料板的顶啃,又可防止铲料板漏球,铲料板与篦板之间的间隙为2~3mm。对可能出现的散料由头部灰斗收集并排出。因该处为链篦机的高温区域,铲料板采用了高温下耐磨损的耐磨合金钢(具有高Cr\Ni含量并配以适量稀土元素的奥氏体耐热钢),具有耐热不起皮的特点,高温强度与韧性都相当高。同时,铲料板支撑梁采用通水冷却,以提高其使用寿命。链条装置对篦板起导向作用,采用耐热合金钢制作,链条装置能根据篦板的实际运行情况进行调整(通过拉紧装置调整),保证篦板在卸料后缓慢倾翻,减少对篦板和小轴的冲击。
铲料板分左铲料板、中铲料板、右铲料板三种(见图5-34),铲料板安装见图5-35。
图5-33 铲料板运行状况
1-篦床;2-头轮;3-铲料板图
图5-34 铲料板
(a)左铲料板;(b)中铲料板;(c)右铲料板
图5-35 铲料板结构实物图
1-左铲料;2-中铲料;3-右铲料板
铲料板主要检修方法:
(1)履行停电检修手续,密闭容器内作业办理好相关手续,工机具、备品备件准备到位。
(2)施工人员进入铲料板下方,用手拉葫芦吊住重锤装置。
(3)取掉拉杆与铲料板的固定销,然后将重锤装置放下。
(4)要更换的铲料板前方栓挂手拉葫芦。
(5)用撬棍将铲料板在头部撬起一定的距离,同时用手拉葫芦通过销孔栓挂铲料板。
(6)拆除铲料板尾部支点螺栓。
(7)用手拉葫芦将铲料板吊离安装位置。
(8)按照与拆除相反的步骤回装新铲料板。
(9)回装下方重锤装置。
(10)检查铲料板各处间隙,铲料板与篦床的间隙应在2~3mm,侧间隙应在7~10mm之间。
(11)试车,检查铲料板是否存在刮擦。
7)链篦机水冷梁更换
(1)履行停电检修手续,工机具、备品备件、安全设施准备到位。
(2)割除链篦机与回转窑交接处妨碍作业的结构件,方便水冷梁的更换作业。
(3)松掉水冷梁上方底座的螺栓,将旧的底座逐一拆除,同时拆除水冷梁下方底座螺栓,然后使用手拉葫芦将水冷梁慢慢垂直吊起通过割除的钢板空隙处慢慢下移到地面,下方通过手拉葫芦和吊车慢慢倒运到指定位置(见图5-36)。
图5-36 链篦机水冷梁吊装过程
1-水冷梁;2-底座;3-导向链
(4)按照拆除相反的步骤回转水冷梁和拆除的钢结构。
(5)试压,压力及保压时间符合设计要求,确保各焊接处无泄漏。
5.1.2.8 链篦机检修的注意事项
链篦机检修的注意事项见表5-8。
表5-8 链篦机检修的注意事项
(续表)
5.1.2.9 链篦机的检修质量标准
链篦机的检修质量标准见表5-9。
表5-9 链篦机检修的质量标准
5.1.3 回转窑装置状态维护与检修技术
5.1.3.1 回转窑工艺流程
生的干球进入回转窑,受高温辐射作用而使球团矿均匀焙烧,球团进入回转窑内随窑体回转,球团被带到一定高度又下滑,在不断地翻滚和向前移动中,受到烟气的均匀加热而获得良好的固结,最后从回转窑窑头排出进入环冷机冷却。
在回转窑窑头装有专门设计的双调节伸缩式煤气烧嘴,通过改变煤气烧嘴位置和调节空气、煤气比例来调节火焰长度和焙烧温度。同时将环冷机一冷段近1 100℃热废气引入窑头罩,作为补充二次风。以保证窑内所需焙烧温度和氧化气氛。球团在窑内主要受热辐射作用,边翻滚边焙烧,从而得到均匀焙烧。球团焙烧温度1 250~1 350℃,球团矿在回转窑中停留时间约30min。
窑头和窑尾罩采用新型密封装置,并设置风机。
焙烧好的球团通过回转窑窑头罩内溜槽和固定筛卸到环冷机受料斗内。
在高温状态下,粉料和过熔球团粘结于窑衬上,俗称“结圈”,偶尔脱落混入球团矿由窑头排出,窑头固定筛将大于200mm的大块筛出,经人工处理后进入成品系统。
5.1.3.2 回转窑主要结构
如图5-37所示,回转窑主要组成部分有:窑体、支承装置、固定筛、传动装置、窑头窑尾密封装置、窑头罩等组件组合而成。回转窑窑体安装有一定斜度,便于球团矿输出,回转窑窑体通过大小齿轮带动运行。
图5-37 回转窑结构示意
1-液压档轮;2-托轮;3-调节螺栓;4-传动装置;5-托轮;6-轴承座;7-轮带;8-齿圈;9-筒体;10-密封装置
1)窑体
回转窑窑体由钢板卷制焊接而成,窑体的外部安装有轮带和齿圈用于支承和传动,在轮带和齿圈的部位窑体钢板相对较厚。轮带套装在窑体上,轮带与窑体之间设有垫板。齿圈通过弹性板连接在窑体上,可隔热减震并避免窑体热膨胀的影响。窑体的内侧砌筑耐火材料。
2)支承装置
支承装置用于支承回转窑窑体,回转窑为两档支承,托轮采用滚动轴承,轮带和托轮均为铸造件。托轮安装底座可水平调整以确保托轮与轮带的良好接触。托轮轴承座与窑体之间设有隔热装置减轻窑体辐射热对滚动轴承的影响。
图5-38 液压马达
1-齿圈;2-窑体;3-液压马达
3)传动装置
采用双侧传动,即窑体上的齿圈由双侧两个小齿轮驱动,原动机采用液压马达(见图5-38、图5-39),在每个小齿轮的两个轴端各悬挂一台液压马达,共4台液压马达直接驱动小齿轮,小齿轮带动齿圈驱动回转窑窑体转动。驱动液压马达的液压系统包括两个主液压动力站和一个应急动力站,通过对液压系统的控制,实现回转窑从零至最大转速范围内的无级调速。正常工作时由两个液压动力站提供动力,当故障或检修时,由应急动力站提供动力使窑体以极低转速转动。
图5-39 液压马达传动系统
1-液压马达;2-轴承座;3-齿圈;4-传动齿轮;5-刹车器;6-液压马达;7-固定杆;8-液压站
4)液压档轮
(1)液压档轮工作原理:液压档轮结构如图5-40所示,它的作用是控制窑体的轴向窜动,使得轮带和托轮在全宽上都能均匀磨损,以延长其使用寿命,并保证窑体的直线性。压油缸的活塞杆推动档轮(见图5-41)与轮带倾斜面接触,推动轮带,轮带带动窑体上移,到位后靠窑体自重所产生的下窜分力使窑体下窜,窑体上下移动的工作行程由上下行程开关调定,液压油缸及导向轴均安装在支座上,档轮装在有两个导向套筒的移动座上,移动座沿导向轴往复运动。
图5-40 液压档轮结构
1-液压油缸;2-活塞杆;3-档轮;4-轮带;5-移动座;6-导向轴;7-支座
图5-41 液压档轮结构
1-轴承外壳;2-轴承;3-轴承;4-下档板;5-轴承座;6-轴承;7-主轴;8-档轮
(2)液压档轮油站工作原理:液压原理如图5-42所示,回转窑在自重作用下往下窜动,下移到一定距离碰到下行程开关,使液压油站电动机启动,同时关闭电磁阀(使电磁阀断电),电动机带动输油泵工作,压力油经单向阀、调速阀,节流截止阀和压力油管进入油缸,油缸中的活塞被驱动,推动档轮使窑体上移,窑体上的档块碰上行程开关发出电信号,使电磁换向阀带电接通回油路,并使电动机停止转动,窑体此时靠自重下移,并推动档轮及油缸中的活塞一起移动,油缸中的油经回油管、电磁换向阀、调速阀回到油箱,下行速度由调整阀控制,直到窑体下移到碰撞下行程开关,此时已完成了一次推动窑体上、下窜动的运行周期。碰撞下行程开关后,又发生电信号,使电动机启动,关闭电磁换向阀,档轮又推动窑体上移。停电或泵站出现故障时,可用手动泵(在油缸处或在泵站集成块上装有快速接头)操作。
图5-42 档轮油站工作原理
1-快速接头;2-油缸;3-截止阀;4-单向阀;5-调速阀;6-电磁换向阀;7-精密滤油器;8-溢流阀;9-输油泵;10-油箱;11-压力表开关;12-滤油器
回转窑在运转时,轮带与托轮的接触处受力情况发生了变化,窑体就会缓慢向下滑动,当窑体下滑到下限位时,液压系统启动推动档轮将窑体缓慢顶到上限位后停止工作,窑体处于自由下滑状态的一个过程(3h一次),窑体上窜就是靠档轮驱动来保证窑体能沿轴向正常往上带动。
5)密封装置
在正常情况下,回转窑尾负压操作,为尽量减少外部空气进入窑体造成温度波动,在窑头窑尾设有密封装置,采用了先进的叶片式密封,这种密封结构简单,维护量小,密封效果高。
6)窑头罩
窑头处设有窑头罩以保证回转窑和环冷机的密封操作,同时,环冷机的高温废气作为回热风通过窑头罩进入回转窑。罩为钢结构内衬耐火材料并设有观察孔、窑头罩门、燃烧器等,在窑头罩中加设固定筛以筛除回转窑排除的结圈大块。
5.1.3.3 回转窑状态维护内容及周期
回转窑状态维护内容及周期见表5-10。
表5-10 回转窑状态维护内容及周期
5.1.3.4 回转窑常见故障与处理对策
1)回转窑常见故障与处理对策见表5-11。
表5-11 回转窑故障与处理对策
(续表)
2)液压马达常见故障及处理对策
液压马达常见故障及处理对策见表5-12。
表5-12 液压马达常见故障及处理对策
5.1.3.5 回转窑定(年)修的主要施工内容
回转窑定(年)修的主要施工内容:
1)小修
(1)检查传动机架、地脚螺丝、液压传动机构是不是紧固。
(2)检查托轮、档轮、座子是否正常转动灵活。
(3)窑体、齿圈转动是否正常。
(4)头尾密封装置及热电偶滑环装置安装位置是否正确牢固并加处理。
(5)检查窑体内衬是否牢固,对破坏严重的进行局部修补。
(6)回转窑窑头、窑尾、窑带补焊并加固。
2)中修
(1)含小修内容。
(2)托轮窑体调正校对工作中心、更换已损坏零件。
(3)油质检查,液压管路检查。
(4)金属结构修补加固、调整。
(5)全面检查窑体内衬,对破损和脱落、剥落1/2厚度的内衬体要全面修补,头部和尾部破损处或脱落厚度1/3以上的部位要全面修补。
(6)机组调整、试机。
3)大修
(1)含中修内容。
(2)机组解体清洗、检修、更换已损坏的托轮、轴承、液压档轮、电机、液压马达。
(3)窑体内衬全部拆除。
(4)结构件修补或重新制作。
(5)回转窑液压马达更换。
5.1.3.6 回转窑主要零部件的检修参数
回转窑主要零部件的检修参数见表5-13。
表5-13 回转窑零部件检修
(续表)
5.1.3.7 回转窑的主要检修方法
1)托轮更换
如图5-43、图5-44所示,回转窑窑体安装于托轮上面,由于长时间的运转,托轮(见图5-45)易发生磨损和点蚀较严重,必须定期进行更换。
图5-43 回转窑横截面
1-窑体;2-垫板;3-轮带;4-托轮
图5-44 回转窑支撑装置布置
1-轮带;2-垫板;3-筒体;4-托轮;5-箱型底座;6-轴承座
图5-45 托轮装置
1-轴承;2-闷盖;3-固定端轴承座(上端盖、下端盖);4-定位套1;5-托轮;6-托轮轴;7-定位套;8-自由端轴承座(上端盖、下端盖)
(1)托轮更换前的主要准备工作。
①准备3只500t液压千斤顶(用于检修时顶起窑体)。
②如图5-46,根据回转窑窑体距回转窑墩钢平台高度、回转窑窑体弧形,以及500t液压千斤顶外形尺寸,制作马鞍凳和500t液压千斤顶底座。
③准备两付钢丝绳、2只手拉葫芦和汽车吊、吊装龙门架。
④做好设备的检查验收工作。
(2)检修程序。
检修程序见图5-47。
图5-46 马鞍凳结构
图5-47 检修程序
(3)主要检修方法。
①准备工作。
a.回转窑在高温下长期运转,所有螺栓存在不同程度的锈蚀现象,为方便螺栓拆除,对所有需要拆除的螺栓螺纹部位松锈处理。
b.做好设备的测量工作及设备标记。测量托轮组的有关尺寸,如托轮中心距、托轮中心高、托轮直径。对托轮纵横中心线位置做好标记,以便恢复相关备件和调整时有据可依。
c.为了方便吊运千斤顶顶升窑体,窑体停止运转后,在回转窑相应位置处焊接吊耳。
②回转窑定位。
a.两托轮中间即窑体正下方焊接吊耳,用两个1t的手拉葫芦将顶窑装置(马鞍凳)吊至指定位置,如图5-48所示。
图5-48 马鞍凳吊装
(a)示意图;(b)实景图1-窑体;2-吊耳;3-手拉葫芦;4-马鞍凳;5-千斤顶;7-钢结构底座
b.如图5-49所示,将3台千斤顶放置于钢结构底座上,并使千斤顶顶住马鞍凳。
c.窑体顶起前,在不需要更换托轮的一端,将木板塞入托轮与轮带之间,防止窑体滚动导致事故。
d.千斤顶同歩用力,将回转窑缓慢顶起,使托轮与轮带之间的间隙达到10~20mm,即可保证托轮能够顺利地拆除和装入。
图5-49 马鞍凳与千斤顶顶升窑体示意图
1-马鞍凳;2-千斤顶;3-钢结构底座
③托轮轴承座及闷盖拆除。
a.使用预先预制好的打击扳手拆除托轮轴承座两端的调节螺栓。
b.拆除轴承座底板的联接螺栓和闷盖的螺栓,将轴承座和闷盖拆除。
④托轮吊离。
如图5-50、图5-51所示,先使用3t手拉葫芦配合临时固定需要更换的托轮(手拉葫芦的一端栓靠在托轮轴上,另一端栓靠在另一托轮的轴承座的吊耳(预先焊接)上),防止拆除过程中来回窜动和碰撞。再用2付φ32mm钢丝绳沿托轮圆周方向的轴进行栓挂,并挂于汽车吊吊钩上。因吊车不能伸进回转窑底端,可用2个3t手拉葫芦从轴承座底部反方向将托轮拉住,葫芦和汽车吊进行配合将托轮缓慢吊出,待托轮完全移出窑体侧面后,松掉葫芦。最后用吊车缓慢地将托轮吊到空旷位置。
图5-50 手拉葫芦固定
1-吊车的吊钩;2-轮带;3-钢丝绳;4-窑体;5-托轮;6-钢丝绳;7-手拉葫芦;8-吊耳
图5-51 托轮吊装
1-托轮;2-吊车的钢丝绳;3-轮带;4-窑体
⑤托轮轴承更换。
a.用自制的拉马拆除旧轴承。
b.采用热装法安装新轴承。
⑥托轮回装。
托轮回装同托轮吊离过程相反。但应注意以下几点:(a)要按照规定加润滑油。(b)用底座上的调节螺栓调整托轮,使新托轮位置与旧托轮位置相同,然后紧固底座螺栓。(c)托轮吊装到位后,千斤顶逐步泄压,在泄压过程中,观察托轮与轮带的接触状况,并对托轮进行调整,然后拆除千斤顶、马鞍凳。(d)事先塞入的木板应拆除。
⑦托轮调整注意事项。
a.托轮调整时保证托轮与轮带良好接触,轮带与托轮最大允许间隙为2~3mm。
b.横向中心线复查:此组托轮与另一组托轮横向中心线距离允差不大于±2.5mm。
c.托轮组托轮横向中心线与底座横向中心线重合,重合度允许误差±0.25mm。
d.两托轮外圆离底座纵向中心线距离,在整个托轮宽度上的值基本相等,允许误差在0.15mm。
e.两组托轮的高度差允许误差小于0.6mm。
f.各托轮的倾斜度允许误差0.10mm。
g.两个托轮的顶面的横向水平度,其允许误差0.06mm/m。
h.各组托轮顶面的斜度及标高复查,要求所有托轮位于同一倾斜面。
⑧试车。
无负荷试车必须2h以上,轴承温升不大于60℃,托轮运行应平稳、无噪声、无振动,窑体窜动值符合规定,则无负荷试车合格;无负荷试车合格后可以投入生产。
2)液压档轮的更换
液压档轮安装位置如图5-52,液压档轮工作负荷大,需要定期拆卸后检修或更换。
(1)检修程序。
施工准备─→窑体上方焊接吊耳、液压缸及连接油管等辅助设施拆除─→拆除液压档轮的底座螺栓及液压缸推杆销子─→用葫芦将档轮拉出到牵引台─→汽车吊吊运到指定点─→新液压档轮回装到位─→液压档轮找平找正─→螺栓紧固及辅助设施恢复─→试车。
(2)主要检修方法。
①施工准备。
图5-52 液压档轮的安装
1-液压档轮;2-轮带;3-液压缸
a.工机具及备件确认到位。
b.由于液压档轮处于窑体下方中间部位,重量较重,设备外形尺寸较大,检修前需要自制牵引平台,方便液压档轮更换。
c.拆除前应做好纵横向中心线的标记,便于回装。
d.在窑体上方焊接吊耳,便于牵引液压档轮时挂设手拉葫芦。
②拆除相关辅助设施、液压缸及油管、底座螺栓。
图5-53 液压档轮拆除
1-液压档轮;2-牵引平台
③如图5-53所示,先用手拉葫芦将液压档轮移动到牵引平台上,再用手拉葫芦将液压档轮沿牵引平台拉出(拉到窑体的侧面),最后用汽车吊将档轮吊运到指定点。
④新液压档轮安装,方法同液压档轮拆除一致。
⑤液压档轮找平找正。按照事先做好的纵横向中心线的标记进行找正;水平面采用水平仪对液压档轮的水平度进行检查,在底座下加减垫片进行调整。
⑥辅助设施的回装。紧固螺栓,液压缸等辅助设施的恢复。
⑦试车。使窑体运转,检查调整档轮,使档轮与轮带的接触面接触率大于75%。
3)回转窑固定筛更换
回转窑固定筛由护壳和水冷式筛条组成(见图5-54)。回转窑固定筛是对所焙烧的球粒进行筛分,固定筛将200mm以上的大块筛出,经人工处理将大块拔除,其球粒进入成品系统。
图5-54 固定筛实物
1-护壳;2-筛条水管;3-筛条
(1)准备工作。
①将所需的备件倒运到现场。
②在固定筛处搭好龙门架,以方便挂设施工用的手拉葫芦吊。
③关闭相应的阀门,拆除与筛条相连接的水管。
(2)拆除护壳的安装螺栓,吊走旧的护壳。
(3)使用预先挂设在龙门架上的手拉葫芦将旧的固定筛条逐根吊出(见图5-55)。
(4)将新的固定筛条按照拆除旧固定筛条的方法倒进至指定位置。
(5)如图5-56所示,焊接主水管与筛条水管之间的焊缝,采用0.6MPa水压试压,保压时间为6h,不泄漏焊缝焊接质量合格。
图5-55 筛条拆除
1-筛条;2-筛条支撑
图5-56 筛条水管的焊接
1-主水管;2-筛条水管;3-筛条
(6)两人配合回装护壳,拧紧螺栓并点焊。
5.1.3.8 回转窑检修的注意事项
回转窑检修的注意事项见表5-14。
表5-14 回转窑检修的注意事项
5.1.3.9 回转窑的维护检修质量要求
回转窑的维护检修质量要求见表5-15。
表5-15 回转窑维护检修质量要求
上一篇:中国数学会普及工作委员会
下一篇:什么植物动物电子设备加起来像鸡





.jpg)
.jpg)
