
第4章 饮料加工机械与设备
内容描述
本章主要介绍饮料加工机械中水处理设备、碳酸化设备、灌装和封口设备的分类、结构组成、工作原理、使用和维护方法;CIP设备的概念、特点、工作原理、系统组成、使用与维护。
学习目标
●了解果蔬汁饮料与碳酸饮料的加工现状和加工工艺流程。
●了解水处理设备的分类,掌握其用途、结构与工作原理、使用与维护。
●了解碳酸化设备的用途、分类,掌握其结构组成、工作原理、使用与维护。
●了解饮料灌装和封口设备的分类,掌握其结构组成、工作原理、使用与维护。
●深入了解CIP的概念与特点,掌握其组成、工作原理、使用与维护。
能力目标
●能够根据饮料加工的目的和生产量选择合适的生产机械与设备。
●掌握饮料加工机械与设备的使用与维护。
4.1 典型饮料产品加工工艺流程
饮料是指经过加工制造,以补充人体水分为主要目的,供人们直接或间接饮用的一种食品。饮料有很多种,如果蔬汁饮料、碳酸饮料、乳饮料、酒饮料和植物蛋白饮料等。下面仅以果蔬汁饮料与碳酸饮料加工工艺流程为例进行介绍。
4.1.1 果蔬汁生产工艺流程
新鲜果品和蔬菜经挑选、分级、洗涤、压榨取汁或浸提取汁,再经过滤、杀菌、装瓶、封口等工序制成的汁液称为果蔬汁,也称为“液体水果或蔬菜”。以果蔬汁为基料,添加糖、酸、香料和水等物料调配而成的汁液,称为果蔬汁饮料。
目前,果蔬汁及果蔬汁饮料的生产机械设备已达到很高的水平,如超滤机械设备、冷冻机械设备、反渗透浓缩机械设备、高压提取芳香油机械设备、电渗析水处理机械设备、无菌包装机械设备、带式榨汁机械设备等,这些先进机械设备对果蔬汁及果蔬汁饮料的发展起着重要作用。
制作各种不同类型的果蔬汁及果蔬汁饮料,主要在后续工艺上有区别。首要的是进行原果汁的生产,一般原料要经过选择、预处理、压榨取汁或浸提取汁、粗滤,这些是果蔬汁饮料加工的共同工艺,而原果汁或粗滤液的澄清、过滤、调配、均质、脱气或浓缩、干燥等工序为后续工艺,是制作某一产品的特定工艺,其工艺流程图如图4.1所示。

图4.1 果蔬汁饮料生产工艺流程
4.1.2 碳酸饮料生产工艺流程
碳酸饮料是指含有二氧化碳的软饮料,通常由水、甜味剂、酸味剂、香精香料、色素、二氧化碳气及其他原辅料组成,俗称汽水。碳酸饮料含有二氧化碳气体,因此口味突出、口感强烈,让人产生清凉爽口的感觉,是人们在炎热的夏夭消暑解渴的优良饮品。
碳酸饮料主要有果汁型、果味型、可乐型及其他型4种。它们均是由水、调味糖浆和二氧化碳组成的,生产工艺大致相同。根据以上3种成分的混合顺序,碳酸饮料的制造方法大致有两次灌装法和一次灌装法两种,生产工艺流程如图4.2所示。
两次灌装法(定料灌装法),先将调和糖浆通过定料机按量灌入瓶中,再通过灌装机充入碳酸水至满。一次灌装法(混合灌装法),先将各种原辅料按工艺要求配制成调和糖浆,然后与含氧化碳的水在配比器内按一定比例进行充分混合,进入灌装机一次灌装。
一次灌装法由于饮料中各种成分能得到充分地混合,使成品质量稳定一致;二氧化碳气含量高,爽口感突出;灌装时不起泡,也不反冲;节省人力等优点,为大、中型饮料生产企业所采用。

图4.2 碳酸饮料生产工艺流程
4.2 水处理设备
饮料中的最重要成分为水,目前的生产用水主要为自来水,但是自来水由于含有盐、杂质或有时存在特殊气味,因此必须经过处理才能够使用,在生产饮料时处理水的设备有以下3种:
4.2.1 水过滤设备
1)砂棒过滤器
当原水中的杂质含量较少,尤其是机械杂质含量较少时可采用砂棒过滤器。它是一种在饮料用水处理中应用十分广泛的过滤设备。
(1)工作原理
砂棒过滤器的主要工作部件是砂棒,又称砂滤棒或砂芯。它是采用细微颗粒的硅藻土和骨灰等物质,成型后在高温下焙烧使其熔化,可燃性物质变成气体逸散,形成2~4μm的小孔。当具有一定压力的原水进入容器,通过棒上的微小孔隙时,水中存在的有机物、微生物等杂物,即被隔滤在砂棒表面,经过滤后的净水由砂棒内腔排出,完成过滤过程。
(2)基本结构
砂棒过滤器在其构造上都可分为原水区和净水区这两个区。两区中间用一块经过精密加工的、带有封闭性能的隔板(又称箅子)隔开,四周用定制橡胶圈密封。隔板中间钻有很多孔,孔径及其数量视不同型号而异,用以固定各种型号的砂棒。隔板既是固定砂棒的器件,又可分隔原水区和净水区。
如图4.3所示为砂棒过滤器的结构图,主要由器身、上盖、隔板及砂棒等组成。过滤器的上盖、器身、隔板均用不锈钢或铝合金加工而成。上盖和器身用紧固螺栓联接在一起,形成以隔板为界的两个区。当过滤器工作时,滤液(净水)只有通过砂棒才能进入净水区。砂棒是过滤器的主要工作部件。一台过滤器由于型号不同,可以装一根、几根乃至十几根砂棒。砂棒参数见表4.1。

图4.3 砂芯棒过滤器的结构
1—外壳;2—砂芯棒;3—固定螺杆;4—上隔板;5—放气阀;6—上盖;
7—紧固螺钉;8—入水口;9—排污嘴;10—下隔板;11—下盖;12—净水出口
表4.1 砂芯棒过滤器主要技术参数

(3)砂棒过滤器的操作
①砂棒的消毒
为了保证净水的质量,砂棒在使用前必须进行灭菌消毒。可将75%的酒精倒入砂棒内,阻封出口并摇荡,使酒精完全涂覆于内壁各部位;若使用5%的新洁尔灭溶液或10%的漂白粉水进行消毒,也可取得相同的效果。
②过滤器的组装
选择型号相符的过滤器与砂棒,检查砂棒是否有裂纹或破损。过滤器内腔、隔板、橡皮垫等接触净水的部件,均应进行消毒。组装人员的手及使用的工具也必须进行消毒。将消毒过的砂棒仔细地装在隔板上,要特别注意密封件,加力必须均匀。将装有砂棒的隔板小心地放入过滤器中,将密封圈垫好。盖上盖,将紧固螺栓逐个均匀加力拧紧。
(4)砂棒过滤器的维护
①初次使用时,应先空放一段滤液,以便将附着的杂物冲掉,直至取样化验合格。过滤器的工作压力应控制在0.1~0.2MPa,压力过大将导致净水不合格,甚至使砂棒损坏。
②工作时,时刻注意表压,表压升高,说明砂棒微孔堵塞,应停用,清洗砂棒,用砂纸打磨直至出现原色。表压突然下跌,表明砂棒破裂,应立即停用检查,尤其在砂棒用旧时更要注意。
③在一直使用时,砂棒一般每星期清洗1~2次,定期检查水样,保证净水质量。若砂棒用旧,壁厚变薄,会影响净水质量。壁厚降为2~3mm时,应更换新砂棒。过滤器冬夭不用时,应将砂棒取出,晾干,以防冻裂,过滤器要擦干,涂油保存。
④砂棒为易碎品,操作时应轻拿轻放。
2)活性炭过滤器
有些水中含有余氯和异味时,为了保证水质无色、无味,必须将水进行处理。活性炭过滤器是进行这种处理最常用的设备。
(1)工作原理
活性炭为黑色固体,无臭、无味,粉状或颗粒状,具有多孔结构,表面积十分庞大,对气体、蒸汽或胶状固体有很强的吸附力,1g粒状活性炭的总表面积可达1000m2。由于有静电吸附、物理吸附和化学吸附的共同作用,活性炭过滤器能将杂质除去,除此之外,过滤器有一层厚厚的活性炭,兼有机械过滤的作用。
(2)基本结构
活性炭过滤器有固定床式和膨胀床式两类。膨胀床式是炭层在工作中处于膨松状态,层向发生改变。固定床式在工作中炭层层高不发生变化。膨胀床式的处理效果较好,但炭粒易于流失,而固定床式则较稳定。
在饮料水处理中,多采用固定床式。如图4.4所示为固定床式活性炭过滤器。基本结构与砂棒过滤器相近,主要由器身、滤料层、承托层、支撑板和盖板组成。该过滤器有一个圆柱形的器身,上、下封头与器身用法兰联接,为防止泄漏,中间垫有橡胶密封圈。上、下封头与器身均用不锈钢制造。在器身内部,从上到下依次是盖板、滤料层、承托层和支撑板。支撑板7为一多孔金属板,用以支承滤料层。金属板上面覆盖一层金属网,其上装填一层石英砂作为承托层,高度为0.2~0.3m(约占总高度的1/8),上面再装上5倍承托层高度的活性炭滤料层,粒径为0.2~1.5mm。为防止反洗时碳粒随水流冲走,滤料层上压了一块多孔盖板,固定滤料层的高度。

图4.4 活性炭过滤器的结构
1—活性炭层(0.5m);2—不锈钢板;3—细砂层(7cm);4—粗砂层(7cm);
5—细石层(12cm);6—粗石层(20cm);7—支撑板
(3)活性炭过滤器的操作
①日常操作
日常工作时,打开进水阀,原水自上面进入过滤器,由多孔板分散后进入滤料层,经活性炭吸附净化后,从底部的净水出口排出。
工作一段时间后,炭粒表面有污物覆盖,失去吸附能力,这时需要进行清洗,以除去污物。清洗时,由反向通入原水,冲洗滤料,经原水进口排污,为10~15min即可。清洗周期视过滤水量,一般为3~7夭,待排出的水质较为清洁后即可。但不要清洗过于频繁,以免影响活性炭的使用寿命。
②再生
活性炭经过较长时间工作后,仅靠清洗已不能使其恢复工作能力,这时需要进行再生处理,其步骤如下:
a.反洗。打开底部阀门,反向通入清水,强度为8~10L/(m2•s),时间为15~20min。
b.蒸汽吹洗。打开顶部排气阀,从底部通入0.3MPa的饱和蒸汽,吹洗15~20min。
c.碱液淋洗。打开顶部阀门,通入40℃左右、6%~8%的氢氧化钠溶液进行淋洗,用量为活性炭体积的1.2~1.5倍。
d.正洗。由顶部通入原水,至出水符合水质要求。
(4)活性炭过滤器的维护
①在进行过滤时,要求原水中无大颗粒悬浮杂质,否则易于堵塞炭粒微孔。
②在安装过滤器后,用饱和蒸汽对进出口水管及阀门、零件进行消毒。同时要求活性炭必须是符合食用标准的植物性活性炭,以保证饮料质量。
③工作前,应开大进水阀冲洗20min,取样化验合格后方可投入正常使用。
④每次使用时,刚流出的水若是黑水,属正常现象,随后会洁净。原水流量应与过滤器的设计能力相适应,否则水质难以达到要求。
⑤活性炭的吸附作用与温度和流速有关,水温高,流速低,净化效果好,反之则差。
⑥活性炭的使用期限随水质而异,正常运转可用3年,应予更换,此时再生也无法达到理想效果。
3)微孔过滤器
(1)工作原理
微孔过滤器是一种膜分离技术,它可滤除液体、气体中的0.01μm以上的微粒和微生物(见图4.5)。具有高捕捉能力、过滤面积大、使用寿命长、过滤精度高、阻力小、机械强度大、无剥离现象、抗酸碱能力强及使用方便等特点。此过滤器能滤除绝大部分微粒,故广泛用于需要进行精滤和除菌的场合。
(2)基本结构
过滤器由全不锈钢制成,圆柱形结构,以折叠式滤芯为过滤元件。微孔滤芯采用聚丙烯、尼龙、聚砜、聚四氟乙烯等材料制成,孔径有0.1~60μm,长度为5~40″(0.127~1.016m)。滤筒有1芯、3芯、5芯、9芯、11芯、13芯、15芯;折叠式滤芯长度有10″(0.254m),20″(0.508m),30″(0.762m),40″(0.016m);过滤孔径有0.1,0.22,0.45,1,3,5,10μm等规格。
滤芯分疏水性(适用于气体)和亲水性(适用于液体),可根据需要选用。既可单独使用,又可作联组分级过滤。它有过滤精度高、过滤速度快、吸附少、无介质脱落、不泄漏、耐腐蚀、操作方便、带反冲洗功能等优点。

图4.5 微孔过滤器
(3)微孔过滤器的操作
①清洗过滤器外壳并与过滤器系统相连接。打开折叠式滤芯开口一端的聚乙烯袋,检查O形圈是否清洁完好、正确放在密封槽内。
②用工艺液体(如水)浸润O形圈。以聚乙烯袋作为保护,握住滤芯靠近开口的一端,将滤芯牢牢压入外壳的定位孔内。将外包装塑料袋取下,盖上壳体。
③打开外壳顶部的放气阀。微微打开入口阀,使液体进入外壳。将外壳充满液体,直至液体从放气阀溢出,关闭放气阀。缓慢地完全打开下游出口阀,直至完全打开。缓慢地完全打开入口阀。对每10″(0.254m)滤芯用250L/h的流量冲洗5~10min。
④若过滤的滤差大于0.15MPa,或流量明显下降,则表明过滤滤芯已堵塞。
⑤折叠式滤芯不能经受大流量的冲击,也不要让它反方向加压。
⑥滤膜适宜于pH2~9的液体,对强酸、强碱、乙醇等有机溶剂不宜使用。产品能耐温120℃,耐压0.3~0.4MPa。
(4)微孔过滤器的维护
①微孔滤膜只能作最后阶段的精密过滤,滤液须经砂棒或滤纸等粗的滤材过滤,以免滤膜堵塞。
②将滤膜平放在清洁容器内,用蒸馏水浸泡约数分钟后放入适宜的滤器内,即可使用。
③若折叠式滤芯暂不运行,不应将它们干燥,而应将它们保存在过滤器的外壳内,外壳内放入含抗菌剂的水(如次氯酸钠溶液),在重新使用之前再冲洗干净。
4.2.2 水软化设备
净化设备主要是除去水中的不溶性杂质,除此以外,水中还有溶解杂质,这些杂质主要是离子,如Ca2+,Mg2+,Na+,
,
,Cl-等。
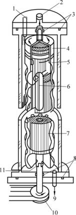
饮料用水需经过软化后方能使用,水的硬度取决于钙、镁离子的总含量。用硬水生产饮料,既影响风味,又易于产生沉淀。对于硬度大的水,均需使之“软化”,即降低水中钙、镁离子浓度,使用设备为水的软化设备。某些水特别是井水、泉水,水中的溶解杂质不仅是钙、镁离子,还有许多其他离子,降低这些离子含量的处理称除盐。软化和除盐,并不是对任何水源都需要采用的,应针对不同的水源采用不同的方法。目前常用的水软化设备有离子交换器、电渗析器、反渗透膜与超滤装置。
1)离子交换器
离子交换器是目前水处理中常用的一种设备,采用不同的树脂和流程,可以使水软化。
(1)离子交换树脂的种类
离子交换树脂是一种疏松的、具有多孔网状结构的固体,不溶于水,也不溶于电解质溶液,但能吸附溶液中的离子并进行离子交换,是离子换交器的主要工作部分。
常用的离子交换树脂一般按其所带功能基团的性质通常分为两类:阳离子交换树脂和阴离子交换树脂。阳离子交换树脂带有酸性交换基团,在交换过程中能与水中阳离子,如Ca2+,Mg2+,Na+等进行交换。按其酸性强弱,又可分为强酸性、中酸性和弱酸性3类。阴离子交换树脂带有碱性交换基团,按其碱性强弱,可分为强碱性和弱碱性两类。在交换过程中能与水中阴离子,如HCO3-,SO24-,Cl-等进行交换。
(2)离子交换的作用原理
需去除水中形成硬度的Ca2+,Mg2+离子,可使用Na+等不形成硬度的物质,与水中的Ca2+,Mg2+进行交换反应,水中的Ca2+,Mg2+被吸附在交换剂上,而交换剂中原有的Na+转入水中,这样Ca2+,Mg2+就被Na+取代而除去,硬水即变成为软水。再将带有Ca2+,Mg2+的交换剂用再生液还原,交换剂就可以重新使用。
处理时,原水通过阳离子交换树脂层时,水中阳离子被树脂吸附,树脂上的阳离子H+被置换到水中,于是原水中仅剩下阴离子,阳离子被除去。随之与水流一起进入阴离子交换树脂层,水中的阴离子被阴离子交换树脂吸附,树脂上的阴离子OH-被置换到水中。用再生的方法可使树脂恢复交换能力,可继续工作。通过上述反应,水中溶解的阴、阳离子全部被树脂层吸附而置换出来的H+和OH-离子结合成H2O。
(3)基本结构
一般的离子交换器为具有锅形底及顶的圆筒形设备,其筒体的长度与直径之比值为2∶3。如图4.6、图4.7所示为离子交换器正、反吸附罐的结构图。筒体用钢板卷焊而成,上、下部都设有入孔,小直径设备或筒底与器底采用法兰联接的设备,其入孔可只开设一个。筒体中部开有视镜孔,以观察反洗强度、交换剂层表面污染情况和耗损。筒体底部开有树脂装卸孔。进水管安在筒体顶部,在出口处一般安有挡板等分配装置,目的主要是使原水分布均匀。为防反洗时树脂层的扩胀,树脂层高度约占筒体高度的50%~70%,不能装满。再生液分配器安装在树脂层上面,它应与树脂层接近,以便在再生时保持再生液浓度,有利于提高再生效率。排水管安在筒体底部,通过多孔板集水后排出。
在交换器进、出水管上装有压力表,以测定工作时水流的压力损失。在进、出水管水流经常流动的部位,安装有取样装置。其实无论是原水软化或是除盐,所用的阴、阳离子交换器的结构基本相同,所不同的只是树脂种类、水处理流程以及再生方式等。
(4)离子交换器的操作
①新树脂的预处理
新树脂中往往混有杂质,影响树脂的交换反应,须进行预处理。预处理包括清洗和转型。

图4.6 离子交换罐(正吸附)
1—顶盖;2—视镜;3—进水口;4—手孔;5—液体分布器;6—树脂层;7—底盖;
8—出水口;9—多孔支撑板;10—尼龙滤布;11—罐体

图4.7 离子交换罐(反吸附)
1—顶盖;2—硬水进口;3—淋洗水、解吸液及再生剂进口;4—软水出口管;5—液体分布器;
6—树脂层;7—底盖;8—淋洗水、解吸液及再生剂出口;9—多孔支撑板;
10—尼龙滤布;11—罐体
阳离子交换树脂多为Na型。预处理办法是先将其用自来水浸泡1~2夭,使其充分吸水膨胀,再反复用自来水冲洗,去除可溶性杂物,直至洗出的水无色为止。
树脂若是用于除盐则需转型,将树脂由Na型转为H型。具体方法是将清洗、沥干的树脂,加等量7%盐酸溶液浸泡1h,搅拌后除去酸液。用自来水洗至出水的pH值为3~4为止,倒去余水,加入等量8%氢氧化钠溶液浸泡1h,除去碱液,再用自来水洗至出水的pH值为8~9,倒除余水,加入3~5倍7%盐酸溶液浸泡2h,除去酸液,用去离子水洗至pH值为3~4即可使用。
阴离子交换树脂的预处理,新的阴离子交换树脂多为Cl型。先将新树脂用自来水浸泡,反复洗涤,洗至无色为止。再加入等量8%氢氧化钠溶液浸泡1h,搅拌并除去碱液,再用通过H型阳离子交换树脂处理的水,洗至pH8~9,倒去余水,再加入等量7%盐酸溶液浸泡1h,然后用自来水洗至pH3~4,最后加入3~5倍8%氢氧化钠溶液浸泡2h,并加搅拌,使阴离子交换树脂转为OH型。再倒去碱液,用去离子水洗至pH8~9即可使用。
②操作
离子交换器的操作分为运行、反洗、再生及正洗等4个阶段。
a.运行。应按原水水质、树脂性质、树脂层高度等因素来选样水流速度。如需要除去的离子浓度大,则流速应选择小些。离子交换器的运行时间(工作时间),对于钠离子交换器一般为6~8h;对于阴、阳离子交换器,约为20h。
b.反洗。当树脂处理一定的水量后,交换能力下降。当下降到一定程度,正常运行即应停止,并进行反洗操作。反洗是从交换器底部进水,使树脂层松动,并冲掉树脂层表面污物和破碎的树脂。要保证反洗效果,应使树脂层有一定的膨胀强度,使每个树脂球都发生运动,一般膨胀率应大于50%。
c.再生。其目的是恢复树脂的交换能力。一般在反洗结束,树脂沉降后进行。影响再生效率的因素,主要有再生剂种类、浓度、流速、时间、温度以及再生方式等。
d.正洗。其目的是使用水将树脂中残存的再生剂冲掉,恢复交换器的工作能力。应正洗至出水符合水质要求为止。经正洗后,交换器又可以投入正常运行。
(5)离子交换器的维护
①树脂在运输、保管时,应保持湿润,即转入密封容器或加水浸泡。树脂应保存在室内,环境温度应保持在5~40℃,不能低于0℃,以防冻结崩裂。
②交换器应安在坚实水平的地基上,不垂直度不大于2mm/m。对于钠离子交换系统,其软水箱贮水量应相当于3h的供水量。
③进入交换器的原水,须经澄清、过滤等预处理。
④使用前应取样化验原水水样,根据所含离子种类和数量,选择交换器种类、流程以及各种运行参数。
⑤再生剂均是酸、碱、盐等腐蚀性强的物质,一定要注意防腐措施。工作人员也要注意防止受到伤害。
2)电渗析器
当水中的含盐量大于500mg/L时,用离子交换器就很不经济,这时可以用电渗析器,它是对水进行除盐处理的常用设备。
(1)工作原理
离子交换膜具有选择透过性和良好导电性。由于水中离子是带电的,在直流电场中,阴、阳离子作定向移动,阳离子移向负极,阴离子移向正极。离子交换膜分为阴膜和阳膜两种。阳膜允许水中阳离子透过而阻挡阴离子,而阴膜允许水中阴离子透过却阻挡阳离子。如图4.8所示为电渗析除盐原理图,原水进入电渗析器,水中的离子在直流电场作用下作定向移动,由于阳膜允许阳离子透过,阳离子向负极移动,穿过阳膜。同理,阴离子则向正极方向移动,穿过阴膜。阳离子移向负极,遇阴膜而受到阻挡,阴离子遇阳膜而受到阻挡。所以工作时每一个缝隙相间隔地流出的是淡水和浓水。
(2)基本结构
电渗析器有卧式和立式两种。由浓、淡水室的隔板,离子交换膜,电极,板框及锁紧装置组成,如图4.9所示。
阴、阳膜之间安装有隔板,把两张膜分开,作为水流的通道,按通过水流的不同,可分为浓室隔板和淡室隔板。隔板上有进水孔、出水孔、布水槽、流水道及过水槽等。

图4.8 多层膜电渗析器脱盐示意

图4.9 电渗析器结构图
1—给液管;2—压板;3—阳极室;4—膜堆;5—分段隔板;
6—集液管;7—阴极室;8—锁紧装置;9—支架
按电极结构不同可分为板状、网状及丝状3种。由于存在电离过程,阳极必须采用耐腐蚀材料,如石墨、铅、二氧化铅等;阴极多用不锈钢、钛涂钉等。极框置于电极与交换膜中间,用来保持电极与交换膜之间的距离。锁紧装置的作用是防止产生内渗外漏现象,把隔板、电极、板框、交换膜压紧。
(3)操作与维护
①组装时,对多级多段的电渗析器,在采用多孔板成隔板导向时应按正确的顺序,将隔板、交换膜、电极、板框、垫板、垫圈等按其排列顺序放置。
②锁紧装置上的金属螺杆等金属构件,切不可与交换膜、电极相接触。调整膜堆四周的高度差,然后拧紧螺杆。应先拧中间,再拧两头,用力要均匀,每次下压3mm左右,以高度均等和不漏水为准。
③在流量与压力稳定时,开启整流器,使电压由最低值缓慢升到预定的工作电压值。
④倒极前,将电压降至最低,停电半分钟,然后按“反向启动”按钮,再将电压、电流升到预定值。需要注意的是,倒换电极时,要同时倒换浓、淡水阀,按规定排水。倒极后,立即观察流量与压力有无异常。按规定间隔时间倒换整流器电极。
⑤关机停止运行时,将整流器电压降到最低值,再关闭整流器。停泵后将回流阀及时关闭,防止水泵进气。若只是暂停使用,应切断电源。
⑥安放设备的地基要采取防腐措施,锁紧装置的螺杆、螺母均应注意防腐。
⑦交换膜保持湿润状态,防止干燥收缩,引起变形和破裂。交换膜在冬季应防冻,夏季不得暴晒。设备长期不用时,须将其拆开,将各部件洗净,流量计中的积水放空,金属件要涂油存放,以防生锈。
3)反渗透设备
反渗透是利用反渗透膜只能选择地透过溶剂的性质,对溶液施加压力,使溶剂通过反渗透膜从溶液中分离出来的过程。反渗透设备的优点是连续运行,产品水质稳定,无须用酸碱再生,节省了反洗和清洗用水,可以高产率生产超纯水。
(1)反渗透原理
如图4.10所示,当半透膜把水池隔断分成两部分,半透膜上的孔只能选择性地让水分子通过,水中的大部分有机污染物和水合离子均不能透过,则纯水将自发地向溶液侧渗透,这个过程称为渗透。渗透最终达到平衡,两侧的液面将不再变化。渗透平衡时膜两侧的液面差所代表的压力即渗透压,其大小与盐水浓度有关。如果在溶液侧加压,水分子就会反着渗透的方向透过半透膜从盐水一侧向水一侧迁移,从而得到纯水。溶剂分子在压力作用下由浓溶液向稀溶液迁移的这个过程称为反渗透。
特殊性能的高分子反渗透复合膜表面分布有孔径1~10nm的极小的孔,而水中各种离子的直径为十几个纳米,病毒、细菌的直径为几十至几万纳米,因此在压力的推动下,这些物质都无法透过膜,被截留在膜的浓水端,随浓水排出,而透过膜的是不含任何杂质、有机物及细菌的纯水。

图4.10 反渗透原理
(2)反渗透半透膜
目前,反渗透半透膜的制作主要用醋酸纤维素材料。用于制膜的材料还有各种纤维素酯、脂肪族和芳香族聚酰胺、聚砜、聚丙烯腈、聚四氟乙烯、聚偏氟乙烯、聚乙烯、聚丙烯和硅胶等。其中,最重要的是纤维素酯类膜,其次是聚砜膜和聚酰胺膜。
(3)膜组件
将膜与其支撑体及辅助部件按一定方式制成膜组件或膜装置,按结构特点有板框式、管式、螺旋卷式及空心纤维式等类型。
①板框式
板框式系统带薄膜,薄膜被夹在成组排列的支撑板中间,类似普通的热交换器,如图4.11所示。所用膜为平板式膜,设备由膜框、膜、多孔支撑板、膜、膜框交替重叠排列组成,多孔支撑板和膜框之间的周边叠合处用垫圈密封,用中央螺栓或四周紧固螺栓锁紧。原水强制地通过很窄的通道,在支撑层的内空间流动,透过膜向两侧迁移,进入每对膜之间被膜框分隔成的空间,再经膜框外圈的孔道向外流动而被收集。这个模型可分成几部分,在每一部分中,膜之间的流动是并联的,这些部分通过一些特殊的膜支撑板分开,在支撑板上,其中一个孔用截止盘封死,以改变流动方向,每一部分之间的流动是串联。

图4.11 板框式膜组件
②管式
管式反渗透膜组件的结构类似于管式换热器,有支撑的管状膜,分为外压式和内压式。如图4.12所示为内压式列管膜组件,多孔的不锈钢管或用玻璃纤维增强的塑料承压管的外壳内装有管状膜,经加压的原水从管内流过,管外侧壳体内收集的是透过膜的水。

图4.12 内压式膜组件
③螺旋卷式
螺旋卷式结构在两片反渗透膜中间夹入一层多孔支撑材料,组成板膜,再铺上一层隔网,然后在钻有小孔的中心管上卷绕而成一个单元组件,膜之间用一个多孔的清液传导材料隔开。这种材料,被称为清液通道衬垫,允许清液自由流过薄膜。将一组卷式膜组件串联起来,装在耐压容器中,便成了螺旋卷式反渗透装置,如图4.13所示。工作时,原水沿轴向进入膜间通道,淡化水呈螺旋状流至多孔中心管进而流出。

图4.13 螺旋卷式结构(Koch膜设备公司)
④空心纤维式
空心纤维式膜组件分为毛细管式和中空纤维式两种。毛细管式膜组件如图4.14所示。中空纤维管模型是筒式的,每一个筒里包含45甚至3000束中空纤维件,这些纤维束以并联方式定向排列,与中心进料管捆在一起,所有的纤维束在它们的末端用树脂固定在筒里,但需留有纤维孔道作为透过液流出的通道。清液收集管侧用环氧树脂密封。原水从毛细管内流过,透过液向管外迁移,收集于外壳中。原水进入中心管,并经中心管上的小孔均匀地流入中空纤维的间隙,淡化水进入中空纤维管内,从纤维的孔道流出,浓缩水则从纤维的间隙流出,如图4.15所示为中空纤维膜组件结构图。

图4.14 毛细管式膜组件
1—进料液;2—毛细管;3—外壳;4—浓缩液;5—过滤液
中空纤维管的外侧结构粗糙,并作为膜的支撑体。供液流过纤维管内侧,在外侧收集清液,并从上部的管子排出。这种设计的特殊优势在于它具备液体反冲能力,这一能力可以用于清洗以及用清液从外部循环除去膜表面的产品沉淀物。中空纤维模型的各种操作形式如图4.16所示。

图4.15 中空纤维膜组件
1—料液进口;2—产品出口;3—密封圈;4—组件封头;5—穿孔塑料套;6—主轴;
7—空心纤维束;8—密封圈;9—浓缩液出口;10—主皮带轮;11—连轴带

图4.16 中空纤维模型的不同操作形式
4)超滤器
(1)超滤机理
料液在超滤膜内的流动问题比较复杂,简单的床层流动理论不能充分解释膜内的流体行为,通常膜渗机理有下述两种模型:
①毛细流动模型
在这种模型中,溶质的脱除主要靠流过微孔结构的过滤或筛滤作用,半透膜阻止了大分子的通过,按这一模型建立的流动是毛细孔中的层流流动。
②解扩散模型
在这种模型中,假定扩散质的分子先溶解于膜的结构材料中,而后再经载体的扩散而传递。因为分子种类不同,溶解度和扩散度也就不同。
实际上,两种模型在膜渗透传递中都可能存在,但反渗透以溶解扩散机理占优势,而超滤则以毛细流动机理占优势。为此,又出现综合两种机理的所谓“优先吸着毛细流动”的机理。
(2)超滤膜材料
普通使用的醋酸纤维半透膜,具有不对称和超微孔的结构,它有一层由致密聚合物制成的超薄表层,此层支承在下面的支撑层之上,支撑层由较厚的微孔聚合物制成。表层和支撑层由一次浇铸工艺制成。超滤膜有醋酸纤维素膜(CA膜)、聚合物膜(如聚甲基丙烯酸甲基、聚氯乙烯、聚苯乙烯、聚丙烯、尼龙等)和锆-氧化铝膜。
(3)超滤设备类型及结构
目前,国内应用的超滤膜设备大多数为板状和管状,特别是空心纤维膜(中空纤维膜)也已在水处理方面得到广泛应用。超滤膜组件结构与反渗透膜组件相似,此处不再赘述。
(4)常见故障原因分析及排除
①超滤设备进水压力与出水压力差增大,出水量下降
这是由于水质较差、堵塞严重所造成。此时一般的冲洗已不能完全清洗掉截留下来的杂质,应拆下超滤膜进行化学清洗。
②超滤膜破损
一旦工作压力超过其承受能力,膜就会破裂,水即从裂缝中经过,起不到过滤作用。因此,应通过清洗来增加水通过量,而不能靠加大进口压力来增加产水量。一般正常的操作压力应小于0.15MPa。
③过滤效果不佳
具体表现在细菌数较多或水中有细小异物。首先检查是否按正确的方法操作,然后检查超滤膜是否破裂。若膜发生破裂,应立即给予更换。停机时间较长时应在膜内注入0.5%的甲醛溶液抑制细菌的生长。
④超滤膜脱水干涸
停机前应在膜中灌以超滤水。若超滤膜长时间处于脱水状态则会发生脱水干涸现象,影响过滤效果及膜的寿命。时间较长时应注入保护液,保护液为1%~2%甲醛和5%甘油水溶液。
4.2.3 水杀菌消毒设备
在经过净化、软化或除盐处理以后,绝大部分杂质,如悬浮杂质、溶解杂质及微生物已被除去。但是,在这种水中仍存有微生物,为了杀灭这些微生物,必须将水进行消毒。消毒的方法很多,在饮料水处理中,最常用的是臭氧消毒及紫外线消毒。
1)紫外线消毒设备
紫外线消毒设备速度快、工作效率高、性能稳定、效果好、不改变水的理化指标、不产生有毒物质、操作简单、管理方便,已成为饮料厂的主要消毒设备。紫外线消毒设备是新近发展起来的一种消毒设备。
(1)杀菌原理
紫外线按其波长不同可分为3段:长波段(320~400nm)、中波段(275~320nm)、短波段(180~275nm)。处于240~280nm区段的紫外线杀菌力较强,而最强的波长为250~265nm,因此,多以253.7A作为紫外线杀菌用波长的代表。
当微生物被紫外线照射时,其细胞的部分氨基酸和核酸吸收紫外线,由于产生光化学作用,引起细胞内成分,特别是核酸、原浆蛋白、酯的化学变化,使细胞质变性,从而致微生物的死亡。
(2)消毒设备的结构
紫外线对水消毒,主要是杀灭水中细菌的营养细胞,用15W紫外灯,在水以5~15L/min流速流过时,可杀灭99.9%的大肠杆菌。常用的紫外线消毒没备,按其水流状态和灯管位置有两种形式:直流式和套管式。
①直流式紫外线杀菌器
如图4.17所示为直流式紫外线杀菌器。它主要由消毒水槽和紫外灯组成。在水槽3中安置了分流板和阻流板。分流板是一块多孔板,阻流板是一块金属挡板。紫外灯安置在上部。紫外灯上面是弧形反射罩5,用以反射紫外线。工作时,原水由水槽3的一端进入,通过分流板,将水流分成均匀的细流,沿水槽平稳地前进。遇到位于末端的阻流板,迫使水流越过阻流板从出口流出。当水流流过时,受到紫外灯的照射而被杀菌。直流式紫外线杀菌器结构简单,灯管更换容易,但处理能力较小。

图4.17 直流式紫外线杀菌器
1—进水口;2—灯管;3—水槽;4—隔板;5—反射罩;6—出水口
②套管式紫外线杀菌器
如图4.18所示为套管式紫外线杀菌器,主要由紫外灯管、套管、外壳及穿孔挡板组成。采用石英套管是因为石英玻璃对紫外线的透过率很高。在外壳5与套管6中间是水流通道,在水流通道中安置了多块穿孔挡板4,在挡板上加工有很多孔,可以将水流均匀分散,还可起支撑套管的作用。紫外灯管1安装在一根石英玻璃套管6内,使灯管与套管间形成一个环状空气夹层,可以提高灯管周围介质的温度,提高杀菌效果。工作时,水流由进水口3,沿切线方向进入水腔,多次遇到穿孔挡板4,被挡板4均匀分散后,在环绕套管6的四周,以薄层通过,接受紫外线照射,然后由出水口8流出。

图4.18 套管式紫外线杀菌器
1—紫外线灯管;2—密封件;3—进水口;4—穿孔挡板或螺旋挡板;
5—外壳;6—石英玻璃套管;7—观察管;8—出水口
套管式紫外线杀菌器的处理能力大,使用操作方便,能充分利用能源,但其结构稍复杂。
(3)操作与维护
①通水之前,关闭设备进水阀、取样龙头(兼排气孔)。接通电源,启动灯管3~6min后,打开取样龙头,打开进水阀通水消毒。当取样龙头中喷出密集水柱,并保持3~6min后,关闭取样龙头。调节进水阀,使通过杀菌器的流量不超过该设备的额定流量。
②停止工作时,先关闭进水阀,然后关闭紫外灯。打开排水阀。放空杀菌器内存水,然后关闭排水阀。
③对原水应进行较严格的处理,原水应无色、无浑浊,不含有机物,尽量不带气体。
④经常检查紫外灯管的工作情况,如灯管发红,说明灯管老化,应及时更换。若是连续生产,最好是两台杀菌器交替使用,延长灯管寿命。
⑤定期清洗石英玻璃管(套管式)或反射罩(直流式),以充分利用紫外线的能量。紫外灯有强烈的辐射,对人体有害,在观察和接近灯管时,必须戴有色眼镜,穿工作服,防止灼烧眼睛和皮肤。
2)臭氧消毒设备
臭氧是一种特别强烈的氧化剂,其瞬间的灭菌效果优越于氯。它同时还能除去水臭、水色以及铁、锰等,经其消毒过的水无不良味道。
(1)杀菌原理
臭氧很不稳定,在水中易分解成氧气和原子氧。原子氧有极强的氧化性,能与水中的微生物或有机物作用,破坏附着在细胞上的脱氢酶,从而导致细胞死亡。臭氧不仅可杀死细菌,还可以消灭细菌的芽孢,具有很强的杀菌能力。
(2)制备臭氧的设备
制备臭氧的方法很多,如化学法、紫外线法、等离子法、无声放电法等。而在生产中最适用的是无声放电法。臭氧发生器的常用形式有平板式和管式两种,其工作原理相同。如图4.19所示为管式臭氧发生器。它主要由一根碳钢管和一根不锈钢管组成。
容器外壳和不锈钢管分别接入电场,空气进入外壳内,均匀地分散在放电空间中,顺着放电空间匀速前进。由于电压高达15~20kV,即在此区域进行无声放电,将空气中部分氧气转化为臭氧,再由出口排出,放电产生的热量由冷却水带走。

图4.19 管式臭氧发生器
(3)消毒设备的结构
如图4.20所示为臭氧消毒设备及杀菌流程。它主要包括空气处理装置、臭氧发生器、水力喷射器等。经空气处理装置将空气进行净化、干燥和降温。由臭氧发生器产生臭氧,臭氧的加注装置一般采用喷射混合,这是由水力喷射器完成的。臭氧在一定压力下经喷射器与原水充分接触,在很短的时间内完成杀菌操作。
工作时,空气经处理装置2进行净化、干燥和降温处理,然后进入臭氧发生器3部分氧气转化为臭氧。这些臭氧随空气一起进入水力喷射器5,与高速通过的原水均匀混合后,进入贮水器8,在贮水器中完成杀菌过程。
(4)操作与维护
①工作前,检查各设备安装情况,连接管路必须严格密封,电路接线正确。
②启动电源,将电场加到臭氧发生器上。打开空气处理装置,调整好空气流量,将处理过的空气送入臭氧发生器。打开进水阀,送入原水。取样化验贮水器中水样,待其稳定合格后,即可开始工作。

图4.20 臭氧杀菌流程图
③对空气的预处理必须严加注意,温度、湿度及净化度等参数必须控制在允许范围内。
④臭氧发生器各电极间电压高达15kV以上,必须注意绝缘。臭氧的化学性质极不稳定,不能久存,只能随生产随用。
4.3 碳酸化设备
在生产含气饮料时需要将二氧化碳气体溶解于饮料中,完成这个操作的设备称碳酸化设备。碳酸化实质就是在压力作用下使二氧化碳与水或混合液混合而成为碳酸液。
有3种途径可以提高二氧化碳在液体中的溶解度:一是降低液体温度,温度越低,其溶解度越大;二是提高二氧化碳的压力,但会增加设备的复杂性,还受到瓶子耐压性能的限制,一般控制在1MPa以下;三是增加气液两相的接触面积,在混合机中接触面积越大则溶解效果越好。碳酸化设备主要包括混合机、二氧化碳净化设备、制冷设备和泵等。常用混合机有以下几种。
4.3.1 喷雾式混合机
这种形式的碳酸化器在我国中小企业中使用较多,如图4.21所示为其结构图。

图4.21 喷雾式碳酸化设备
该设备是个密封的压力容器。外罩用钢板按严格的工艺与技术要求焊接而成,内筒为不锈钢胆,要求具有足够的耐酸及耐压强度。内筒和外罩的夹层间填有隔热材料。二氧化碳气体和处理水在一定压力下在该容器内混合。内筒四周分别装有进二氧化碳气体的止逆阀、液位指示器、放气阀以及安装在顶部的压力表并伸出外罩。罐的底部为贮存罐,其液面可用晶体管液位继电器控制,位置低于雾化器。喷头可作清洗器,实现CIP清洗。
这种混合机是通过碳酸化罐进行碳酸化的,由于空气的存在会严重影响二氧化碳在饮料中的溶解度,因此,操作人员必须在开机前或中途停机再开机时,先通入二氧化碳,将罐内空气赶走,而且生产中还需经常打开罐排气阀门,否则将影响二氧化碳在水中的溶解度。混合操作时,水或饮料经过雾化与二氧化碳混合,大大增加了接触面积,提高了二氧化碳在水中的溶解度,同时缩短液体和二氧化碳的作用时间,提高了碳酸化效率。
4.3.2 喷射式混合机
喷射式混合机生产量大,效率高,近年来我国进口的生产线大都使用这种混合机。该机又称为文丘里管式混合机,其构造如图4.22所示。当由多级水泵加压的水或饮料流经收缩的锥形喷嘴处时,水的流速剧增,水的内部压力速降,这时二氧化碳通过管道进入。当水离开喷嘴后,周围的环境压力与水的内部压力形成较大压差,为了维持平衡,因此注入二氧化碳的水爆裂成细小的水滴,同时水与气体分子间有很大的相对速度,使水粒变得更加细微,增加管内与二氧化碳的接触面积,提高了混合效果。混合后的液体进入管道贮存罐内或板式换热器内,保证气体全部溶解。
混合机在使用中应将温度、二氧化碳压力调节在规定范围内。水中的溶解氧应该用脱气机去除或者二氧化碳置换(预碳酸化)去除,混合机内的空气用水排气法去除并且各个管道不能漏泄。

图4.22 文丘里喷射管
4.3.3 碳酸化装置联合机组
1)冷却—混合—碳酸化联合机
此装置主要用在一次灌装生产线中,由于要求糖浆和水准确按预定的比例混合,通常把这种实现按一定比例混合的装置称为配比(混合)器。配比(混合)器有很多种,常见的有配比泵混合器、孔板定比例混合机和喷射式混合器。
目前在饮料生产中,一般采用集脱气、冷却、混合、碳酸化于一体的联合配比器(联合机),如图4.23所示为冷却—混合—碳酸化联合机的结构简图。糖浆和水经配比器按比例进入混合罐混合,用泵输入碳酸化罐,碳酸化罐内装有蛇管,管内通制冷剂,使混合后的物料冷却,以溶入足够的二氧化碳。为保证二氧化碳与处理水有足够的接触时间,二氧化碳从进入碳酸化罐之前开始充入,碳酸化后的物料进入灌装机。
2)脱气—冷却—混合—碳酸化联合机
如图4.24、图4.25所示为带脱气和二级冷冻的脱气—冷冻—混合—碳酸化联合机组。
脱气是指碳酸化前对水进行真空脱气,以保证二氧化碳在水中的溶解度。脱气的方法主要有真空脱气法和二氧化碳置换法。经过净化处理的水进入真空脱气罐,充分脱除空气。脱气后的水用离心泵送至制冷机组的蒸发器中冷冻至2~4℃后,与糖浆在喷射式配比器中混合。混合后的糖水由泵送往喷射式碳酸化器中与二氧化碳气体混合,然后进入碳酸化罐,从碳酸化罐出来的产品再次进入制冷机组中进行冷冻,以确保其低温,然后送往灌装机进行灌装。

图4.23 冷却—混合—碳酸化联合机
1—配比(混合)器;2—冷净水;3—糖浆;4—二氧化碳;5—碳酸化罐;
6—制冷剂;7—冷却器;8—制冷剂;9—碳酸化水

图4.24 脱气—冷却—混合—碳酸化联合机
1—真空脱气器;2—水环式真空泵;3—多级离心水泵;4—糖浆罐;
5—喷射式混合器;6—多级离心碳酸化泵;7—喷射式碳酸化器

图4.25 脱气—冷冻—混合—碳酸化联合机组
1—真空脱气罐;2—水泵;3—真空泵;4—喷射式配比器;5—糖浆罐;6—防腐糖水泵;
7—喷射式碳酸化器;8—二氧化碳钢瓶减压阀;9—碳酸化罐;10—制冷蒸发器;11—制冷机组
4.4 封装及封口设备
4.4.1 灌装机械分类
灌装是整个饮料生产线的关键工序之一,根据操作压力的不同,可分为等压法、常压法和负压法等。
等压灌装法是指在压力大于一个大气压,且贮液缸及待灌容器的压力相等的条件下,使饮料液靠自重流入容器的灌装方法。等压灌装方法适用于碳酸饮料的灌装,因为二氧化碳的溶解度和压力有关,加压可保证饮料的含气量。
常压灌装法是指在贮液缸和待灌容器内的压力均为常压的条件下,使饮料液靠自重流入容器内的灌装方法。常压法主要用于非碳酸饮料或碳酸饮料二次灌装工艺中糖浆的灌装。
负压灌装法是贮液缸的压力可以大于、小于一个大气压或为常压(一般为常压),在灌装时对待灌容器预先抽真空,然后使饮料液快速流入其内。负压灌装法因为对待灌容器抽真空,可减少产品与空气的接触,延长保存期,但也会损失产品中的某些挥发性芳香物质,其主要用于非碳酸饮料,不适用于碳酸饮料的灌装。
一般碳酸饮料用玻璃瓶、聚酯塑料瓶(PET)或金属易拉罐灌装,非碳酸饮料可用各种容器,果汁类饮料多使用塑料瓶或无菌纸盒等容器。
目前,饮料生产中使用较多的灌装设备主要有两类:一类是用于瓶装或金属罐灌装的连续旋转型瓶、罐灌装设备。另一类是适用于纸盒装的各种纸盒无菌包装设备(见第1章中无菌包装机)。
4.4.2 连续旋转型灌装机
为了使设备能够连续地进行工作,灌装机一般采用旋转结构,即包装容器随灌装阀一起作等速回转运动,同时进行灌装,灌装时须保证瓶输送与灌装同步。如图4.26所示为旋转型灌装机结构图,它的主体结构由供料装置、灌装阀、托瓶转盘及供瓶装置4大部分组成。

图4.26 旋转型灌装机结构示意图
1—供料装置;2—灌装阀;3—托瓶转盘;4—供瓶装置
1)送瓶机构
送瓶机构分为两种,分别为回转圆盘-变螺距螺杆-拨轮式送瓶机构和链板-拨轮式送瓶机构,其送瓶原理分别如图4.27和图4.28所示。回转圆盘-变螺距螺杆-拨轮式送瓶机构工作时,瓶子堆积在旋转的圆盘2上,圆盘一般为不锈钢板,由电机带动,按逆时针方向旋转使瓶子挤压在流水输送线前并对瓶子施以向前的动力。装置5为变距螺杆,将依次紧挨的瓶子通过该装置分成一定的距离,使瓶子能够刚好送入装置6拨轮的瓶子卡口中,再由拨轮送入灌装机。链板-拨轮式送瓶机构工作过程大致类似,只是缺少了变距螺杆,它是直接通过拨盘卡住瓶子并依此送入灌装机的,这种灌装机在工作时要注意链板上堆积瓶子的数量,过多容易使拨盘卡死而导致停机。

图4.27 回转圆盘-变螺距螺杆-拨轮式送瓶机构
1—瓶子;2—回转圆盘;3—挡板;4—导板;
5—变螺距螺杆;6—拨轮;7—灌装机

图4.28 链板-拨轮式送瓶机构
1—链板;2—进瓶拨轮;3—定位板;
4—灌装机;5—出瓶拨轮
2)升降瓶机构
灌装机在工作时,为了使液体不外泄,这需要将灌装阀插入瓶口中,但灌装阀一般是固定水平的,这就要使瓶子向上抬升一定距离,这个工作是通过升降瓶装置来完成。灌装时,升降瓶机构按设定的程序先将瓶托上升,将灌装阀的灌注头插入瓶内进行灌注,灌注完毕后瓶子随瓶托下降与灌装嘴脱离,并输送到下一工序。常用的升降瓶机构有凸轮式、气动式和凸轮-气动组合式等。
(1)凸轮式升降瓶机构
这种升降机构结构简单、行程准确、可靠性好,易于制造。结构是凸轮推杆上端顶着托瓶台,下端为滚轮,灌装时滚轮沿凸轮轮廓形表面滚动,凸轮轮廓形的变化促使推杆顶着托瓶台作升降运动。如图4.29所示为凸轮升降瓶机构工作原理示意图。工作时前端进瓶,中段上升灌注,后端出瓶,为了使瓶运行平稳,要求上升角α不大于30°,下降角β不大于70°,滚轮和凸轮之间要求有良好的润滑。

图4.29 凸轮升降瓶机构工作原理示意图
(2)气动式升降瓶机构
如图4.30所示,该装置主要由托瓶台、气缸和活塞所组成,托瓶台1的升降是由压缩空气(压力为0.25~0.4MPa)作动力完成的。升瓶时,压缩空气由气管7进入气缸2,推动活塞3连同托瓶台1一起上升。此时,排气阀门4打开、进气阀门5关闭,使活塞上部的存气经排气阀门4排出。降瓶时,阀门在转盘旁的撞块控制下使排气阀门4关闭、进气阀门5打开,压缩空气改由气管6和气管7同时进入气缸。由于活塞上下的气压相等,故托瓶台和瓶子等在自重的作用下下降。这种装置升降耗费时间较短,气体作为缓冲介质使瓶子运行平稳,因而使用广泛。

图4.30 气动式升降瓶机构工作原理图
1—托瓶台;2—气缸;3—活塞;4—排气阀门;5—进气阀门;6,7—气管
(3)机械与气动组合式升降瓶机构
如图4.31所示,配有托瓶台1的套筒2可沿空心柱塞5滑动,方垫块8起导向作用,防止套筒升降时发生偏转。升瓶时,压缩空气由柱塞的下部经螺钉3上的中心孔道进入套筒内部,以推动托瓶台1向上作升瓶运动。其上升速度通过凸轮导轨6和滚动轴承7加以控制,直至工作台转到降瓶区后,则完全依靠凸轮的强制作用将套筒同托瓶台1一起压下。此时,柱塞内部的压缩空气依然被排到与各托瓶缸气路相连的环管中,再由此进入别的正待上升的托瓶缸内。该装置工作稳定可靠,压缩空气在环管中循环使用,只需补充漏气损量,应用也较广。但凸轮导轨也会增加额外的润滑、磨损和运转阻力。

图4.31 机械与气动组合式升降瓶机构
1—托瓶台;2—套筒;3—螺钉;4—密封垫;5—空心柱塞;6—凸轮导轨;
7—滚动轴承;8—方垫块;9—环管;10—卡块
3)灌装阀机构
饮料的种类繁多,各种的特点差异很大,在灌装时应针对不同饮料的特点来选择合适的灌装机。
(1)负压灌装阀机构
负压灌装阀机构又称真空灌装机,目前常用的有重力真空式和压差真空式两种。
①重力真空式灌装阀机构
这种灌装阀机构将真空室与贮液箱合为一体,又称为单室真空灌装机,灌装时贮液缸始终保持一定的真空度,与容器连通后,容器也和贮液缸形成相同的真空度,此时,物料在自重的作用下流入容器,料液的定量灌装是通过对瓶子升降机构来控制气阀和液阀开启时间来实现的,如图4.32所示。这种灌装机贮液缸的上部是真空室,使得整个液面成为易挥发物质的扩散面,故只适用于不含芳香性物质的非碳酸饮料的灌装。
②压差真空式灌装阀机构
这种灌装阀机构的真空室与贮液缸分开,又称为双室真空灌装机,通过两根回流管连接,在灌装时只对瓶子抽真空,料液在压差的作用下流入瓶中。如图4.33所示为压差真空式灌装阀的原理简图。

图4.32 重力真空式灌装阀机构
1—进液管;2—抽真空管;3—浮子液位计;4—贮液缸;
5—立柱;6—托瓶台;7—液阀;8—气阀

图4.33 压差真空式灌装阀机构
1—贮液缸;2—真空室;3—进料管;4—回流管;5—抽气管;6—灌装阀;7—密封碗;
8—阀体;9—吸液管;10—吸气管;11—调整垫片;12—输液管;13—吸气口;14—托瓶台
工作时,瓶子随升降机构上升与灌装阀密封碗紧贴时,吸气管的吸气口进入瓶内,对空瓶抽真空。当达到一定的真空度时,常压状态下的贮液缸内的液体便在压差的作用下进入瓶内。瓶内液面上升至吸气口时,液体就被吸入吸气管内,直到吸气管内液面与回流管内液面等高时,灌装停止。然后瓶子在升降机构控制下下降一定高度,此时输液管仍插在瓶内,吸气管所吸入的液体被吸入真空室中,并通过回流管流回到贮液缸中。由于定量是由灌装嘴深入瓶子的深度来确定的,这种灌装阀机构对于瓶子有严格的要求,定量的准确性受到瓶容积的直接影响。
(2)常压灌装机构
这种灌装机在贮液缸和待灌容器均为常压的条件下,使料液靠自重灌入容器内。它可用于非碳酸饮料或碳酸饮料二次灌装工艺中糖浆的灌装。如图4.34所示为六头灌装机的定量灌装阀机构。糖浆从贮液缸经支撑体中的糖浆通道和糖浆管流入定量杯中,达到预定的定量后,支撑体中糖浆的进口正好与贮液缸中的出液口错开。同时,待灌容器在升降机构的作用下上升,并顶紧密封碗,使阀芯上的进液口进入定量杯中,糖浆靠自重灌入瓶中,瓶内的空气由排气口排出。

图4.34 六头常压灌糖浆灌装阀机构
(3)等压灌装阀机构
等压灌装阀机构在灌装的时候,贮液缸的压力大于一个大气压。在灌装时,先对瓶子充气至与贮液缸等压,然后液体靠自重流入瓶中。如图4.35所示为一种气阀式等压灌装阀机构示意图。

图4.35 气阀式等压灌装阀机构
1—气门套柄;2—气门套;3—上气孔;4—气阀弹簧;5—通气管;6—挡圈;
7—阀套;8—液阀弹簧;9—阀座;10—阀芯;11—密封圈;12—阀芯座;
13—下气孔;14—堵头;15,18—密封碗;16—外套;17—排气阀弹簧;
19—顶销;20—螺母;21—排气阀座;22—回转拨叉
工作时,当瓶子由升降机构托升至瓶口与灌装阀上的密封碗构成密封时,回转拨叉在挡块的作用下,将气门套往上提升,打开充气阀的气门通道,贮液缸中的压力气体通过上气孔沿通气管进入瓶内。待瓶内压力升高到与贮液缸等压时,液阀挡圈受到向上的反压力,使液阀弹簧所受压力减少,阀芯受力平衡被破坏而向上移动,液阀被打开,贮液缸中的液体在等压状态下靠自重流入瓶中。当瓶中液体高度上升到浸没通气管的下气孔时,瓶内液面不再增加,但由于连通作用,液面沿气管上升至一定高度,此时挡块顶迫排气阀上的顶销向内移动,打开排气阀,排出瓶中残留的压力气体至大气压,液阀阀芯因下方的平衡压力减小而向下移动,同时,回转拨叉也在挡块的作用下,使气门套往下压,关闭气阀,加速液阀阀芯的向下运动,使液阀快速关闭。
(4)活塞式灌装机构
在灌装一些黏稠的液体物料如番茄酱时,以上介绍的灌装机是达不到要求的,压力式灌装机则能完成这项工作。这种装置主要由活塞和定位机构组成,灌装时,活塞往复运动完成吸料和灌装动作,可通过定位机构调节灌注量,这种装置的缺点是完成一次灌注的时间比较长。
4.4.3 封罐机
饮料液灌入瓶子后需立即封口,以防因饮料液染菌和接触空气氧化,而影响保质期,封口的设备为封罐机,本节仅介绍金属罐和PET塑料瓶这两种容器的封口设备。
1)金属易拉罐封罐机
这种封罐机多采用罐体固定而卷边滚轮旋转,罐体和底盖之间进行卷合的过程,称为二重卷边作业过程。用两个具有不同形状沟槽的滚轮,先后顺序地与罐体及底盖接合边缘重复地作相对滚转,使两者之边缘因弯曲变形,互相紧密地钩合,在底盖钩槽内有弹性填料物,因受挤压而充塞于罐体与底盖之间的卷边全部缝隙中。
封罐机由自动送罐系统、自动配盖装置、卷边头、卸罐装置和电气控制系统等部分组成,如图4.36所示为一种自动真空封罐机的结构,常常应用于国内各马口铁罐饮料的生产中。封罐机的驱动和传动机构由V形带轮、齿轮、传动轴及偏心凸轮、摆杆等组成。
工作时,拨盘在偏心轮和罐拨轮的作用下,作间歇式回转运动,定时地从进罐送盖机构接入罐身与罐盖,转送到下托盘上。在偏心凸轮6和摆杆P1的作用下下托盘把罐托起,夹压于上压头之间。在罐开始上升一段距离后,摆杆与下托盘一起把罐身夹住,往上升送,直到被固定不动的上压头顶住为止,这样可使罐体与罐盖稳定上升。随后卷边机头绕罐体与罐盖作切入卷封作业。卷封完毕后,卷边滚轮退离,处于静止状态的摆杆又在凸轮7的作用下,在下托盘之前先行降下,并通过上部弹簧作用,给罐体施加压力,使其脱离上压头,随同下托盘一起下降到工作台面上。此时星形拨盘转动,一方面把已封好的罐送出,另一方面又接入新的罐体和罐盖。
2)PET瓶装饮料旋盖机
如图4.37所示为YF01型全自动回转式旋盖机,主要由进出瓶机构、供盖装置、旋盖机头、机架及传动装置、气动系统及润滑系统等部分构成。

图4.36 自动真空封罐机
1—手轮;2—打杆;3—进罐拨轮;4,6,7—偏心凸轮;5—链条;8—机头盆;
9—封罐滚轮;10—上压头;11—罐体;12—下托盘;13—星形拨盘

图4.37 全自动旋盖机外形图
电机带动主轴和进出瓶星形拨轮转动,旋盖机头由主轴带动旋转,在机头四周安装有多个旋盖头。旋盖头上装有滚轮沿着凸轮导轨转动,下行程时完成取盖和旋盖工序。如图4.38所示,包装用瓶由输送装置推送至变距螺杆前,通过螺杆后由拨轮依次送至旋盖工位。当无瓶(少瓶)和无盖(少盖)时接近开关会发出信号,通过气缸动作带动挡瓶和挡盖机构动作,挡住供瓶和供盖。当瓶和盖积聚到足够数量时,接近开关发出信号,放开挡瓶和挡盖机构,继续供瓶和供盖。供盖装置将盖整理后,由滑道滑入接盖盘,然后由拨盖轮拨送到取盖工位。旋盖头下降取盖后,再转到旋盖工位,此时旋盖头已和下面的瓶口对准,抱瓶带压紧瓶身防止其转动,旋盖头夹带住瓶盖边旋转边下降,将盖旋紧在瓶口上。

图4.38 某全自动旋盖机工作原理图
4.5 CIP清洗设备
液态食品杀菌设备本身的清洁程度对制品的杀菌效果起到非常重要的作用。随着食品生产企业的规模化与现代化,杀菌机械也向大型化和自动化的方向发展,机械装置越来越复杂,管道随之增加,机械装置的清洁量及清洁困难程度大为增加。为了减轻劳动强度,20世纪50年代中期,欧美的一些国家在食品工业中开发了经济、卫生和安全的所谓CIP清洁系统。目前,此类系统广泛应用于食品工业中饮料、乳品、果汁、果浆、果酱和酒类等的生产中。
4.5.1 CIP的概念及特点
1)CIP的定义
CIP为CleaningInP1ace(原位洗涤)或In-PlaceCleaning(定位洗涤)的简称,也称为就地清洗。其定义为:不用拆开或移动装置,即可用高温、高浓度的清洗液,对装置加以强力的作用,把与食品的接触面洗净的方法。
CIP装置适用于与流体物料直接接触的多管道杀菌机械装置,如果汁饮料、乳品、浓缩果汁、豆浆等。采用原位清洗(即CIP清洗)是目前饮料生产厂普遍使用的方法,是产品质量的保证。在清洁过程中能合理地处理洗涤、清洗、杀菌与经济性、能源的节约等的关系,是一种优化清洗管理技术。清洗的目的是清除设备及管壁上的残留物,保证达到卫生指标。因此,CIP完全不用拆开机械装置和管道,即可进行刷洗、清洗和杀菌。在一般情况下,连续使用6~8h必须进行一次清洗。在特殊情况下,当发现生产能力显著降低时,应立即进行清洗。
如图4.39所示为常用的CIP清洗系统设备示意。

图4.39 CIP设备示意
2)CIP的特点
对比人工清洗或其他机械清洗方法,CIP有如下的优点:能维持一定的清洗效果,清除料液残留,防止微生物污染,避免批次之间的影响,以提高产品的安全性;节约操作时间和提高效率;节省劳动力和保证操作安全;卫生水平稳定;节约清洁用水和蒸汽;节约清洗剂、清洗水和蒸汽的用量;生产设备可大型化,自动化水平高;增加了设备的耐用年限。
3)清洗原理
清洗的目的是去除黏附于机械上的污垢,以防止微生物生长。要把污垢去掉,就必须使清洗系统能够供给去除污染物质所需的洗净能力。洗净能力的来源有3个方面,即从清洗液流动中产生的运动能,从洗涤剂产生的化学能,清洗液中的热能。这3种能力具有互补作用。同时,能量的因素与时间的因素有关,洗涤时间越长则洗涤效果越好。
(1)运动能的影响
作为CIP系统的运动能,能力的大小是以雷诺数(Re)来衡量的。Re数的一般标准为从壁面流下的薄液,槽类Re>200,管类Re>3000,而Re>30000效果最好。流体流动而产生的如搅拌作用、喷射清洗液产生的压力和摩擦力等都有利于清洗。清洗时间必须合适,太短不能对污物进行有效去除,太长则浪费资源。
(2)热能的影响
由于在一定的流量下,温度上升,黏性系数会减少,Re会增加,故清洗液的温度同样是影响清洗效果的另一因素。通常而言,洗液温度每升高10℃,化学反应速度会提高1.5~2.0倍,清洗速度也相应提高,清洗效果较好。清洗温度一般不低于60℃。一般提高温度可达如下效果:改变污水的物理状态;增大污物与洗涤剂溶液的化学反应速度;减少清洗液的黏度,使Re增大;增大污物中可溶物质的溶解量。
(3)化学能的影响
一般厂家可根据清洗对象污染性质和程度、设备材质、水质、所选清洗方法、成本和安全性等方面来选用洗涤剂。水为极性化合物,对油脂性污物几乎无溶解作用,对碳水化合物、蛋白质、低级脂肪酸有一定的溶解作用,对电解质及有机或无机盐的溶解作用较强。所以在食品工业进行清洗时一般均应加入洗涤剂。
目前,食品行业应用的清洗剂种类很多,主要是酸碱类。其中氢氧化钠和硝酸应用最为广泛。碱类洗涤剂对含蛋白质较高的污物有很好的去除作用,但对食品橡胶垫圈等有一定腐蚀作用。酸类洗涤剂对碱性清洗剂不能去除的顽垢有较好效果,但对金属有一定的腐蚀性,应添加一些抗腐蚀剂或用清水冲洗干净。清洗剂还有表面活性剂、螯合剂等,但只在特殊需要时才使用,如清洗用水硬度较高时可使用螯合剂去除金属离子。
4.5.2 CIP清洗系统
1)CIP装置的分类
目前,CIP系统品种也比较多,主要有以下分类方法:按是否可移动可分为移动式清洗车,固定式清洗车;按罐体安置形式分卧式和立式清洗设备;按罐体是否分隔分为隔式和分罐式清洗设备;按罐体数量分为单罐、双罐和多罐;按清洗液的使用方式,分单次、重复、多次使用。以下按照是否重复使用清洗液的分类方式来介绍CIP系统。
(1)清洗剂单次使用的CIP系统
在该系统中,洗液只使用一次。系统由CIP罐、CIP泵、回流泵、浓清洗剂泵、换热器和管路组成,没有大容量的稀释液贮桶。被清洗对象(罐或管路)与CIP装置通过配管形成回路,清洗结束将清洗液排放。所需设备比较简单,有时候可以不必设专门的CIP站,就可以实现CIP过程。
(2)清洗剂重复使用的CIP系统
清洗剂重复使用的CIP系统如图4.40所示。水、碱、酸等各种清洗液分别放在各自的贮桶里,清洗完毕碱酸等洗涤液回收。当洗涤剂浓度降低时,补充酸、碱再反复使用。此系统在国内使用较为普遍,由于酸、碱清洗剂都是在贮液罐中稀释调配,因此系统比较庞大。
(3)清洗剂多次使用的CIP系统
由于集中控制的重复使用的CIP系统的供水管路和回收管路太长,造成大量液体和热量损失,并且残留在管道里的产品和清洗剂被稀释。而清洗剂多次使用的CIP系统吸取了单次使用CIP系统不占空间、输送管路短和重复使用的CIP系统具有洗液回收的优点。在设计上,非集中控制的多次使用的CIP系统是由局部的、靠近被清洁设备的小型标准单元组成,清洗剂是由批式罐集中供给的,清洗完毕,清洗剂可以回收。

图4.40 清洗剂重复使用的CIP系统
1—水罐;2—碱罐;3—酸罐;4—浓碱罐;5—浓酸罐;6—CIP泵;7—加热器
(4)CIP清洗工艺流程
CIP清洗工艺流程示例见表4.2。
表4.2 CIP清洗工艺流程示例

续表

2)系统结构
不管何种CIP系统,其结构均主要有以下4个部分
(1)管道
管道按作用可分为进水管道、排液管道、加热循环清洗管道、CIP液供应管道、CIP液回收管道、自清洗管道等,管道中的控制阀门、在线检测仪、过滤器、清洗头等按设计要求配置。CIP管道的作用为使浓清洗液可以进入清洗液贮罐中,再在泵的作用下经供应管道进入每个需要清洗的设备部位,从每个清洗部位流出的清洗液又可以通过泵及CIP液回收管道,进入清洗液贮罐中。
CIP装置对管道的要求为:对产品有安全性;构造容易检查;管道的螺纹牙不露于产品上;接触产品的内表面要研磨得完全光滑,特别是接缝不要有龟裂及凹陷;接缝处不漏液;尽量少用密封垫板。
(2)清洗装置
①CIP罐
CIP罐有单罐式和多罐式两种。
a.单罐式一次使用装置。单一清洗罐,用最低浓度的清洗液只洗一次后,清洗液就不再留用。可以用少量洗涤剂自动调节浓度的方式来运转。
b.多罐式多次使用装置。两个以上清洗罐。清洗液可多次使用,可用手动或全自动控制清洗液的浓度和温度。
②回收装置
在上述罐内安装水回收装置,把用过的清洗液及水回收贮藏,留作下次清洗时作预洗液再用。这样可以节约用水、蒸汽和洗涤剂。
③泵
一般是用不锈钢类耐蚀材料制造的离心泵(又称为卫生泵或食品用泵)。泵用最大能力运转时,为防止吸入空气,全CIP系统要注满清洗液,液面必须高出泵吸入管。故此,泵的功率,由CIP装置能装上的全水量和被清洗物的流量决定。清洗液回收泵一般是离心泵与真空泵并用,这样即使是少量的清洗液也能回收。
④阀
清洗液槽的管道中,对不流通处理液的管线,一般用不锈钢阀,如圆板阀、球阀或碟阀等。而要流通处理液的管线则需用卫生阀。其作用为不让装置内的液体向外流出,也可以防止从外部的流入污染。阀头一般用合成橡胶加工而成,制成符合卫生条件的构造,可以自动洗净。
(3)自动控制系统
CIP系统最初于20世纪50年代在美国乳品工业得到应用,其发展经历了手动型、气动型两代,现已正进入机电一体化———智能型的第三代。目前存在的CIP系统有以下两种:
①人工控制
由人工操作阀门和调节温度,并根据清洗状况随机确定清洗时间。
②自动控制
智能型的CIP设备由清洗液贮槽、清水罐、机架、气动执行阀、清洗液送出分配器、带PC的仪表电气控制箱以及离心泵等组成。
(4)喷雾装置
对罐类的清洗,宜用喷头的喷雾洗净方式,喷头的类型有旋转式和固定式两大类。喷头在清洗罐内的安装位置有以下几种形式:
①圆顶罐用单球方式
如图4.41(a)所示的安装形式为向上方喷雾、水由上而下清洗的方式。如图4.41(b)所示为左右方喷雾的形式。如图4.41(c)所示为单球向下方喷雾的方式。
②圆顶罐用双球方式
如图4.41(d)所示为左右、上方喷雾;如图4.41(e)所示为从上方喷雾的形式。

图4.41 处理槽安装喷射球的方法及喷雾的形式
3)洗涤过程与注意事项
(1)洗涤过程
如图4.42所示为一台就地清洗设备示意图,利用离心泵输送清洗液在物料管道和设备容器内进行强制循环,达到清洗的目的。该设备主要由酸碱液贮槽、清水槽、机架、清洗液送出分配器、三通球阀及离心泵等组成。贮槽用来贮存清洗液,可按照清洗工艺要求配制清洗液的成分、浓度,并通过贮槽中蒸汽加热盘管加热清洗液至所需温度。清洗液送出分配器有若干条出口通道,各与需要清洗的设备的入口连接,单条使用。贮槽通过分配器及外部接管,利用三通球阀可组成清洗液送出管路及清洗液循环回洗管路系统。清洗时按清水冲洗→碱液冲洗→清水冲洗→消毒剂消毒→清水冲洗程序进行,时间长短按实际要求设定。

图4.42 自动清洗设备封闭系统
(2)注意事项
CIP全自动清洗程序,并不意味着可以清洗得绝对干净,事实证明,CIP清洗也有着卫生死角,常常在某些弯管或板式换热器的内部会出现积垢未被洗掉的情况。因此,在使用时应注意以下情况:
①操作工人须经过培训后才能上岗操作。
②定期拆卸板式换热器,手工冲洗或刷洗,然后消毒杀菌。
③所有的活接头和可以拆卸的弯管要定期用清洗液浸泡,并手工刷洗,然后消毒杀菌。
④每次清洗或消毒完毕,都要取样检测,若出现异常情况,立即对不合格部分重新清洗或消毒。
⑤在贮罐内,按清洗工艺规定的浓度,配制好酸、碱液,并在清水罐内注入清水,容器贮液的装量系数为80%。
⑥设备在使用前后进行一次仔细检查,检查内部贮罐、管道的通畅、连接和清洗情况。
⑦应严格按设计程序进行清洗,在需要改动时应提前进行验证。
本章小结
本章主要介绍了常用的饮料加工机械与设备,主要包括水处理设备、碳酸化设备、灌装封口设备和CIP清洗设备等。水的处理设备先后介绍了砂滤棒过滤器、活性炭过滤器、微孔过滤器、离子交换器、电渗析装置、反渗透设备的结构原理和使用维护。饮料杀菌设备主要有臭氧和紫外线杀菌设备。碳酸化是碳酸饮料生产的重要环节,常用的碳酸化设备的混合方式主要有薄膜式、喷雾式及喷射式等类型,在实际生产中较多使用的是后两种。瓶装灌装机主要由送瓶机构、升降瓶机构和灌装阀机构等组成,其中灌装阀是灌装机的关键部件。根据饮料性质的不同应使用适合的灌装机。金属罐装饮料的封口是通过二重卷边法封罐机来进行的。PET塑料瓶装饮料的封口常用旋盖式封口设备。饮料加工设备在每个班次生产结束后,均需进行清洗杀菌,目前,进行自动清洗、杀菌的设备为CIP清洗机。
复习思考题
1.饮料包括哪几类?它们的生产工艺流程是什么?
2.水处理包含哪些阶段?各有什么作用?需要哪些设备?
3.离子交换设备、电渗析设备、反渗透与超过滤设备的原理分别是什么?
4.如何提高碳酸化的效率?需要的设备有哪些?各有何优缺点?
5.瓶装灌装机主要由哪些装置组成?各自的工作原理是什么?
6.试述PET瓶旋盖机的结构和工作原理。
7.什么是CIP清洗?CIP清洗设备由哪些构件组成?
8.CIP清洗有什么特点?
上一篇:日本的樱花会结樱桃吗





.jpg)
.jpg)
