
任务二 手动变速器传动机构的工作原理
【任务目标】
1.掌握手动变速器传动的工作原理。
2.掌握典型手动变速器的各挡动力传递路线。
【任务分析】
在复习手动变速器传动机构的结构基础上,根据变速器传动的基本原理,采用实物、图片、多媒体教学相结合的教学方式使学生掌握典型手动变速器的各挡动力传递路线。
【相关理论】
一、手动变速器齿轮传动的基本原理
普通齿轮变速器是利用不同齿数的齿轮啮合传动来实现转矩和转速的改变。

图2-8 齿轮传动的基本原理示意图
Ⅰ 输入轴;Ⅱ 输出轴;1 主动齿轮;2 从动齿轮;(a)减速传动;(b)增速传动。
齿轮传动的基本原理:一对齿数不同的齿轮啮合传动时可以实现变速,而且两齿轮的转速比与其齿数成反比。设主动齿轮转速为n1,齿数为z1,从动齿轮转速为n2,齿数为z2。主动齿轮(即输入轴)转速与从动齿轮(即输出轴)转速之比值称为传动比,用字母i12表示。即由1传到2的传动比i12=n1/n2=z2/z1 。
(1)当小齿轮为主动齿轮,带动大齿轮转动时,输出转速降低,即n2<n1,称为减速传动,此时传动比i>1,如图2-8(a)所示;
(2)大齿轮驱动小齿轮时,输出转速升高,即n2>n1,称为增速传动,此时传动比i<1,如图2-8(b)所示。
汽车变速器就是根据这一原理利用若干大小不同的齿轮副传动而实现变速的。若为两级齿轮传动,如示意图所示,齿轮1为主动齿轮,驱动齿轮2转动,齿轮3与齿轮2固连在一起,再驱动齿轮4转动并输出动力,此时由1传到4的传动比为:
i14=n1/n4=(z2z4)/(z1z3)=i12i34
因此,可以总结为多级齿轮传动的传动比为:
i=所有从动齿轮齿数的乘积/所有主动齿轮齿数的乘积=各级齿轮传动比的乘积
对于变速器,各挡的传动比i就是变速器输入轴转速与输出轴转速之比。即:
i=n输入/n输出=T输出/T输入
当i>1时,n输出<n输入,T输出>T输入,此时实现降速增矩,为变速器的低挡位,且i越大,挡位越低;
当i=1时,n输出=n输入,T输出=T输入,为变速器的直接挡;
当i<1时,n输出>n输入,T输出<T输入,此时实现升速降矩,为变速器的超速挡。

图2-9 两级齿轮传动示意图
1、3 主动齿轮;2、4 从动齿轮。
二、发动机纵向布置的二轴式变速器动力传递路线

图2-10 桑塔纳2000轿车二轴式变速器传动机构的示意图
1 输入轴;2 输出轴;3 三、四挡同步器;4 一、二挡同步器;5 倒挡中间齿轮;Ⅰ 一挡齿轮;Ⅱ 二挡齿轮;Ⅲ 三挡齿轮;Ⅳ 四挡齿轮;Ⅴ 五挡齿轮;R 倒挡齿轮。

桑塔纳2000轿车二轴式变速器各挡动力传递路线示意图如下:

图2-11 桑塔纳2000轿车二轴式变速器各挡动力传递线示意图
三、三轴式变速器动力传递路线
以东风EQ1092中型货车的三轴式变速器为例。
(1)空挡:第二轴换挡的接合套、传动齿轮均处于中间空转位置,动力不传给第二轴。
(2)一挡:一挡输入轴1→第一轴常啮齿轮2、23→中间轴15→中间轴第一挡齿轮18→第二轴一、倒挡滑动齿轮12→第二轴14→输出,两对外啮合齿轮传动,输入轴与输出轴转向相同,即前进挡。
(3)二挡:二挡输入轴1→第一轴常啮齿轮2、23→中间轴→中间轴第二挡齿轮20→第二轴二挡齿轮11→二挡同步器接合齿圈10→接合套9→第二轴→输出,输入轴与输出轴转向相同,即前进挡。
(4)三挡:三挡输入轴→第一轴常啮齿轮2、23→中间轴→中间轴第三挡齿轮21→第二轴三挡齿轮7→三挡同步器接合齿圈8→接合套9→第二轴→输出,输入轴与输出轴转向相同,即前进挡。
(5)四挡:四挡输入轴→一挡常啮齿轮2、23→中间轴→中间轴第四挡齿轮22→第二轴四挡齿轮6→四挡同步器接合齿圈5→接合套4→第二轴→输出,输入轴与输出轴转向相同,即前进挡。
(6)五挡:五挡输入轴→第一轴常啮齿轮2→直接挡接合齿圈3→接合套4→第二轴→输出;动力直接由第一轴传到第二轴,传动比为1,即直接挡。
(7)倒挡:倒挡输入轴→第一轴常啮齿轮2、23→中间轴→中间轴倒挡齿轮18→倒挡轴上的倒挡齿轮19、17→第二轴上倒挡齿轮12→第二轴→输出,三对外啮合齿轮传动,输入轴与输出轴转向相反,汽车倒向行使,即倒挡。

图2-12 东风EQ1092中型货车的三轴式变速器
l 一轴;2 —轴常啮合齿轮;3 —轴常啮合齿轮接合齿圈;4、9 接合套;5 四挡齿轮接合齿圈;6 二轴四挡齿轮;7 二轴三挡齿轮;8 三挡齿轮接合齿圈;10 二挡齿轮接合齿圈;11 二轴二挡齿轮;12 二轴一、倒挡直齿滑动齿轮;13 变速器壳体;14 二轴;15 中间轴;16 倒挡轴;17、19 倒挡中间齿轮;18 中间轴一、倒挡齿轮;20 中间轴二挡齿轮;21 中间轴三挡齿轮;22 中间轴四挡齿轮;23 中间轴常啮合齿轮;24、25 花键毂;26 一轴轴承盖;27 回油螺纹。
四、锁环式同步器的工作原理
1.无同步器的换挡过程
以无同步器五挡变速器的四、五挡互换为例进行介绍,如图2-13所示为其结构简图,采用接合套进行换挡。

图2-13 无同步器五挡变速器的四、五挡简图
1 一轴;2 一轴常啮合齿轮;3 接合套;4 二轴四挡齿轮;5 二轴; 6 中间轴四挡齿轮;7 中间轴;8 中间轴常啮合齿轮;9 花键毅。
(1)低挡换高挡(四挡换五挡):变速器在四挡工作时,接合套3与二轴四挡齿轮4上的接合齿圈啮合,两者接合齿圆周速度V3=V4。欲换入五挡时,驾驶员先踩下离合器踏板,离合器分离,再通过变速操纵机构将接合套3左移,处于空挡位置。此时仍是V3=V4,因二轴四挡齿轮4的转速低于一轴常啮合齿轮2的转速,圆周速度V4<V2。所以在换入空挡的瞬间,V3<V2,为避免齿轮冲击,不应立即换入五挡,应先在空挡停留片刻。在空挡位置时,变速器输入轴各零件已与发动机中断了动力传递且转动惯量较小,再加上中间轴齿轮有搅油阻力,所以V2下降较快,如图2-14(a)所示;而整个汽车的转动惯性大,导致接合套3(与第二轴转速相同)的圆周速度V3下降慢,因图2-14(a)中两直线V3、V2的倾斜度不同而相交,交点即为同步状态(V3=V2)。此时将接合套左移与齿轮2上的齿圈啮合挂入五挡,不会产生冲击。但自然减速出现同步的时刻太晚,应在摘下四挡后,立即抬起离合器踏板,利用发动机怠速工况迫使一轴更快地减速,V2下降较快,如图2-14(a)中虚线所示,同步点出现得早,缩短了换挡时间。
(2)高挡换低挡(五挡换四挡):变速器在五挡工作时以及由五挡换入空挡的瞬间,接合套3与一轴常啮合齿轮2接合齿圈圆周速度相同,即V3=V2,因V2>V4,故V3>V4,如图2-14(b)所示。但在空挡时V4下降得比V3快,即V4与V3不会出现相交点,不可能达到自然同步状态。所以驾驶员应在变速器退回空挡后,立即抬起离合器踏板,同时踩下加速踏板,使发动机连同离合器从动盘和一轴都从B点开始升速,让V4>V3,如图2-14(b)中虚线所示,再踩下离合器踏板稍等片刻,V3=V4 (同步点A),即可换入四挡。
图2-14(b)中还有一次同步时刻A',利用这一点来缩短换挡时间,由于此点是踩加速踏板过程中出现的,要求有熟练的操作技能。
由此可见,欲使无同步器变速器换挡时不产生换挡冲击,需采取较复杂的操作,不仅易使驾驶员产生疲劳,且降低齿轮的使用寿命。

图2-14 无同步器的换挡过程
(a)低挡换高挡;(b)高挡换低挡。
2.工作原理
以二挡换三挡为例,说明同步器的工作原理,如图2-15所示。
(1)空挡位置:接合套8刚从二挡退入空挡时,如图2-15(a)所示,三挡齿轮1、接合套8、锁环9以及与其有关联的运动件,因惯性作用而沿原方向继续旋转(图示箭头方向)。由于齿轮1是高挡齿轮(相对于二挡齿轮来说),所以接合套8、锁环9的转速低于齿轮1的转速。
(2)挂挡:欲换入三挡时,驾驶员通过变速杆使拨叉3推动接合套8连同滑块2一起向左移动,如图2-15(b)所示,滑块又推动锁环移向齿轮1,使锥面接触。驾驶员作用在接合套上的轴向推力,使两锥面有正压力N,又因两者有转速差,所以产生摩擦力矩。通过摩擦作用,齿轮1带动锁环相对于接合套向前转动一个角度,使锁环缺口靠在滑块的另一侧(上侧)为止,此时接合套的内齿与锁环上错开了约半个齿宽,接合套的齿端倒角面与锁环的齿端倒角面互相抵住。

图2-15 锁环式惯性同步器工作原理
1 待啮合齿轮的接合齿圈;2 滑块;8 接合套;9 锁环(同步环)。
(3)锁止:驾驶员的轴向推力使接合套的齿端倒角面与锁环的齿端倒角面之间产生正压力形成一个企图拨动锁环相对于接合套反转的力矩,称为拨环力矩。这样在锁环上同时作用着方向相反的摩擦力矩和拨环力矩,同步器的结构参数可以保证在同步前(存在摩擦力矩)拨环力矩始终小于摩擦力矩,所以在同步之前无论驾驶员施加多大的操纵力,都不会挂上挡,即产生锁止作用,如图2-15(c)所示。
(4)同步啮合:随着驾驶员施加于接合套上的推力加大,摩擦力矩不断增加,使齿轮l的转速迅速降低。当齿轮1、接合套8和锁环9达到同步时,作用在锁环上的摩擦力矩消失。此时在拨环力矩的作用下,锁环9、齿轮1以及与之相连的各零件都对于接合套反转一角度,滑块2处于锁环缺口的中央如图2-15(c)所示,键齿不再抵触,锁环的锁止作用消除。接合套压下弹簧圈继续左移(滑块脱离接合套的内环槽而不能左移),与锁环的花键齿圈进入啮合。进而再与齿轮1进入啮合,如图2-15(d),换入三挡。
【工作页】
1.i=_______________。
2.简要说出变速器的工作原理。
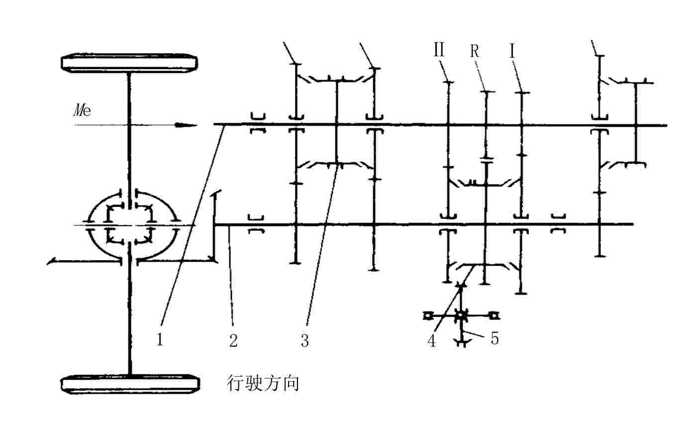
3.根据下图说出各挡动力传递路线。

通过对任务二的学习,你能给自己和老师一个评价吗?
1.老师的讲解生动、形象,态度和蔼可亲吗? ( )
2.工作页是独立完成的吗?给自己一个客观的评价:( )
[成绩等级]_____
上一篇:要考虑读者的审美需求
下一篇:金融互换的起源与发展





.jpg)
.jpg)
