
1.2 三视图的形成及其相互关系
正对着立体去看得到的图形叫正投影图。在正投影图中,立体的立体感消失殆尽,固有的层次没有了,变成了平面图形,就像层次分明的高山、大河、平原、峡谷在一些地图上全部都变成了违背人们视觉习惯的平面图形,增加了读图的难度。

图1-10 三面投影体系
1.2.1 三视图的形成
立体在一个方向的投影具有片面性,如果从多个方向看,得到立体在多个方向的投影,读图时将他们联系起来分析、想象就能消除片面性,确定立体的真实形状。一般画出立体三个方向的视图就能做到这一点。为此,人们设立了三投影面体系,它由三个相互垂直的投影面组成。三个投影面的名称、代号、三个投影轴和其交点见图1-10。
1.2.2 三视图是如何得来的
将机械零件V形块放进三投影面体系中,假想将其悬空,而且使V形块表面与某一投影面平行,就是把物体“摆正”来看,见图1-11(a)。

图1-11 三视图的形成
(a)立体向三个相互垂直的投影面投影;(b)投影面展开;(c)展开后的三视图位置;(d)三视图
如图1-11(a)所示,按箭头A所示方向,由前向后正对着V形块看,在正面上得到的投影叫主视图;V形块不动,改变观察者的方向,按箭头B所示方向,由上向下正对着V形块看,在水平面上得到的投影叫俯视图;同样,按箭头C所示方向,由左向右看,在右侧面上得到的投影叫左视图。画图时,立体看得见的轮廓线画粗实线,看不见的轮廓线画虚线。常用图线的画法及应用可见模块二的表2-3,绘制图线的注意事项可见模块二的表2-4。
当三视图摊在同一平面上时,规定正面不动,水平面绕OX轴向下转90°与正面重合,侧面绕OZ轴转90°与正面重合,所以就有“正面放着主视图,俯视图就在它下面,右面放着左视图”的状况。
1.2.3 三视图的关系
三视图有三种关系,分别是对应关系、方位关系和位置关系。
1.对应关系
任何立体都有长、宽、高三个方向的尺寸,在机械制图中规定左右方向度量的尺寸叫长,前后方向度量的尺寸叫宽,上下方向度量的尺寸叫高。任何一个投影面的视图都反映立体两个方向的尺寸,主视图反映立体长度和高度方向的尺寸,俯视图反映立体长度和宽度方向的尺寸,左视图反映立体宽度和高度方向的尺寸。因此,三个视图之间存在着主视、俯视长对正,主视、左视高平齐,俯视、左视宽相等的投影规律,简称为“长对正,高平齐,宽相等”。对于立体的总长、总宽、总高是如此,对于某一局部尺寸也是这样,见图1-12。
2.方位关系
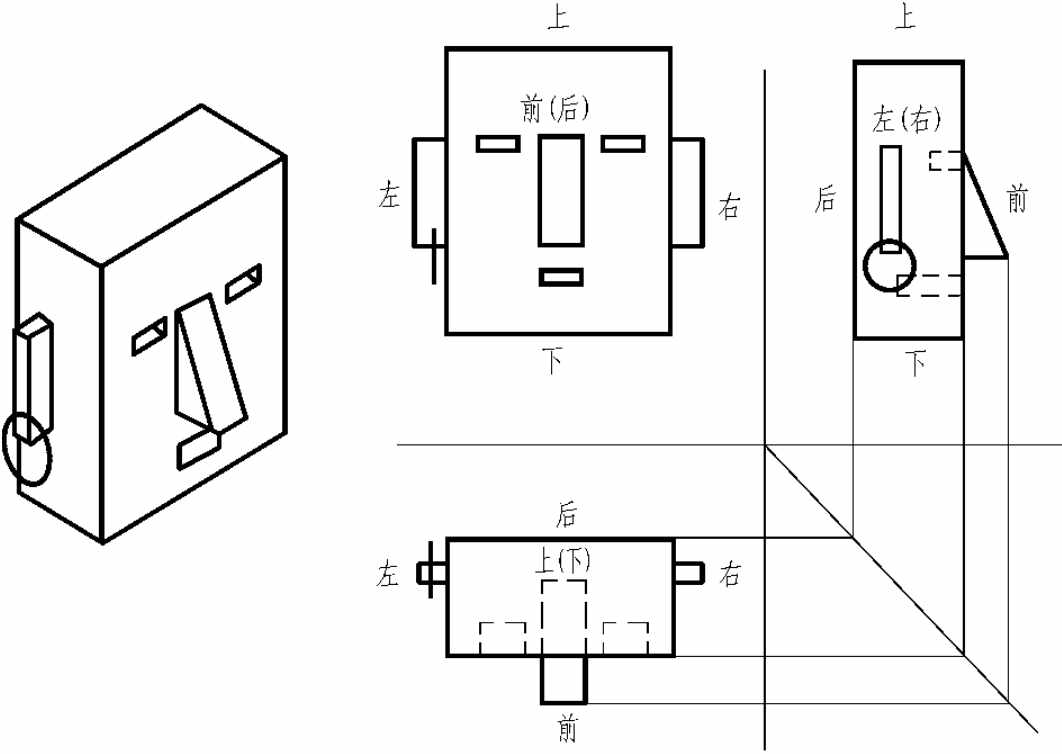
方位指立体的上、下、左、右、前、后面六个位置。以图1-13所示的玩偶为例,说明三视图上立体的方位关系。

图1-12 三视图的对应关系

图1-13 三视图的方位关系
读三视图时,容易把立体上的前后位置与视图上的前后位置弄混。例如玩偶的鼻子在前面,当把三个投影面都摊到同一个平面上时,它却在俯视图的下面、左视图的右面。这样就变成俯视图的下面表示立体的前面,左视图的右面也表示立体的前面,综合起来,就是“远离主视图的一面是立体的前面。”
3.位置关系
位置关系是指三视图的摆放位置。如果以主视图为准,俯视图在它的下面,左视图在它的右面。即“正面放看主视图,俯视就在它下面,右面摆着左视图,三图位置不能变(在不加说明的状况下)”。
1.2.4 视图上线条、“线框”表示的几何意义
正对着立体去看画出的视图,是把组成立体每个表面的轮廓线用规定的线条画出来,因此了解视图上线条、“线框”的意义,对于画图和读图都是重要的,尤其对于读图就更为重要。
视图中每一条粗实线或虚线,分别反映了下列三种情况之一,见图1-14(a)。
①表示立体上垂直于某一投影面的平面或曲面的投影。
②表示立体上表面交线的投影。
③表示立体上曲面转向轮廓线的投影。
视图中的封闭“线框”,分别反映了下列三种情况之一,见图1-14(b)。
①表示立体上一个平面或曲面的投影。
②相邻两个封闭“线框”,表示立体上位置不同的两个平面。

图1-14 视图上线条、“线框”的意义
(a)线条的意义;(b)“线框”的意义
③在一个大封闭“线框”内所包括的各个小“线框”,表示在大平面(或曲面)内凸出或凹下的小平面(或曲面)。
如果能把视图中的每一条线,每一个“线框”所表示的意义搞清楚了,也就大概搞清了立体的形状。
上一篇:信息系统建设方式选择
下一篇:乡村社区与社区的历程





.jpg)
.jpg)
