
项目6 城市轨道交通车辆连接装置

【项目描述】
城市轨道交通车辆连接装置是一个重要的组成部分。车钩缓冲装置和贯通道装置,通过它们使列车中车辆相互连接,实现相邻车辆之间的纵向力传递和通道的连接。
【学习目标】
通过本模块的学习要求掌握以下基本知识:
1.掌握车钩的作用与分类。
2.熟悉车钩的结构形式。
3.掌握半自动车钩的结构和特点。
4.掌握半永久牵引杆的结构和特点。
5.掌握缓冲装置的结构及原理。
6.掌握贯通道的结构组成及维护方法并排除运用故障。
【技能目标】
1.能判断车钩在运用中的故障。
2.能排除车钩在运用中的故障。
3.能判断缓冲装置在运用中的故障。
4.能排除贯通道在运用中的故障。
任务1 城轨车辆连接装置的基本认识
【活动场景】
在城市轨道交通车辆生产车间或检修现场教学,或用多媒体展示城市轨道交通车辆车钩的现场使用。
【任务要求】
掌握城市轨道交通车辆车钩的基本作用、基本特征及组成结构。
【知识准备】
城轨车辆的连接装置主要包括车钩缓冲装置和贯通道装置。
如图6.1所示是某城市地铁城轨车辆的半自动车钩缓冲装置的实物图,车钩缓冲装置是城轨车辆最基本的部件,也是最重要的部件之一。它是用来连接列车中的各车辆,使彼此之间保持一定的距离,并且传递、缓和列车在运行中或在调车作业时所产生的纵向力或冲击力,同时采用高性能缓冲器,满足列车在较高速度下意外碰撞时的巨大冲击能量,同时连接车辆间的电路和气路。
如图6.2所示是城轨车辆的贯通道装置内部结构图。由图可知,贯通道装置位于城轨车辆两车厢的连接处,可适应车厢之间所有可能产生的相对位移,且应该具有良好的防雨、防风、防尘、隔声、隔热等功能,能使旅客安全、方便地穿行于车厢之间,保护旅客不受外力伤害,另外为使车厢内美观,贯通道也要进行必要的装饰,使之与车厢内环境保持一致,为乘客营造一个舒适而温馨的乘车环境。

图6.1 车钩缓冲装置

图6.2 城轨车辆的贯通道装置
(1)车钩缓冲装置的作用
城轨车辆的车钩缓冲装置使城轨各车辆间彼此保持一定的距离,并且传递和缓和列车在运行中或在调车时所产生的纵向力或冲击力,保障车辆不受损失,还可实现车辆间电路和气路的连接。如果上述的作用是由同一装置来承担的,那么该装置称为牵引缓冲装置。如果它们分别由不同的装置来承担,则分别称为牵引连挂装置和缓冲装置。牵引连挂装置用来保证车辆和车辆的彼此连接,并且传递和缓和纵向力的作用。缓冲装置用来传递和缓和压缩力的作用,并且使车辆彼此之间保持一定的距离。
(2)车钩缓冲装置的分类
按照车辆牵引连挂装置的连接方法的不同,可分为非自动车钩和自动车钩。非自动车钩要由人工来完成车辆的连接,而自动车钩则不需要人参与就能实现连接。
车钩可分为刚性车钩和非刚性车钩。

图6.3 非刚性车钩与刚性车钩
非刚性车钩如图6.3(a)所示,允许两个相连接的车钩钩体在垂直方向上有相对位移。当两个车钩的纵轴线存在高度差时,两个车钩呈阶梯形状,且各自保持水平位置。由于钩体的尾端相当于销接,这就保证了车钩在水平面内的位移。
非刚性车钩较普遍地应用于一般铁路客车、货车上。
刚性车钩如图6.3(b)所示,也称为密接式车钩,它的连接不允许两连挂车钩存在相对位移,而且对前后的间隙要求应限制在很小的范围之内。如果在车辆连挂之前两车钩的纵向轴线高度已有偏差,那么在连挂后,两车钩的轴线处在同一条直线上并呈倾斜状态。两钩体的尾端具有完全的销接,这就能保证两连挂车辆之间可以具有相对的平移和角位移,保证具有这些位移的必要性是由于线路的水平面及纵剖面是变化的,以及由于车体在弹簧上的振动和作用于车辆上的力所决定的。
刚性车钩与非刚性车钩相比有以下优点:
①减小两个车钩连接表面之间的间隙,从而也降低列车中的纵向力,提高了列车运行的平稳性。
②由于车钩零件的位移减小了,且在这些零件上的作用力也相对减少,从而改善了自动车钩内部零件的工作条件。
③减小了车钩连接表面的磨耗。
④减小了由于两连挂车钩相互冲击而产生的噪声,这对于城市轨道车辆和客车尤为重要。
⑤避免在意外撞车事故时,发生一个车辆爬到另一个车辆上的危险。
非刚性车钩与刚性车钩相比有以下优点:
①简化两车钩纵向中心线高度偏差较大的车辆相互连挂的条件(例如,不同类型的车辆,车轮及其他部件磨耗程度不同的车辆,以及空车和重车)。
②车钩强度大。
③不需要复杂的钩尾销连接结构和复杂的对心装置。
④车钩钩体的结构和铸造工艺较为简单。
由于这些特点决定了刚性车钩主要用于城市轨道交通车辆以及高速动车组上。我国地铁车辆普遍采用了密接式车钩。
【任务实施】
本任务的实施,请学员在教师的指导下对我国城轨车辆车钩缓冲装置的使用情况进行调查或利用网络查阅相关资料,对我国各主要城市城轨车辆所使用的自动车钩、半自动车钩和半永久性牵引杆的资料进行归纳和整理,并对我国主要城市城轨车辆轨道交通车辆车钩的使用情况列表进行整理;有条件的可到城轨车辆和铁道车辆车钩检修生产实习现场对刚性车钩和非刚性车钩特点进行归纳和整理。
【知识链接】
轨道交通运输的工具主要有铁路客、货车和城市轨道交通车辆以及矿山等企业使用的企业自备车等,这些轨道交通运输工具一般情况下都是成列运行,因此车钩缓冲装置是必不可少的组成部件,但由于用途不同,这些车所使用的车钩缓冲器也有很大的区别。如图6.4所示为我国铁道车辆和城轨车辆分别使用的非刚性车钩的刚性车钩,目前铁道车辆的客、货车普遍使用非刚性车钩,但也有部分速度等级较高的铁道客车车辆使用小间隙车钩,而高速铁路的动车组列车车辆则普遍使用刚性车钩,如图6.5所示为高速动车组列车的用于两列车连挂的密接式车钩和缓冲装置,这种车钩缓冲装置虽和城轨列车的自动车钩相似,但技术要求却要比城轨列车高得多。

图6.4 刚性车钩和非刚性车钩

图6.5 动车组列车的密接式车钩和缓冲装置
【效果评价】
评价表

任务2 城轨车辆车钩装置的认识与学习
【活动场景】
在城市轨道交通车辆生产车间或检修现场教学,或用多媒体展示城市轨道交通车辆车体的使用与生产。
【任务要求】
掌握贯通道的基本作用及结构。
【知识准备】
城市轨道交通车辆用车钩基本上可分为全自动车钩、半自动车钩和半永久性牵引杆3种。 这3种车钩的主要特点是:全自动车钩可实现机械、气路和电路的完全自动连挂和解钩;而半自动车钩的机械和气路连接机构作用原理基本上与全自动车钩相同。可以实现自动连挂和解钩,或人工解钩,但电路必须靠人工连挂和解钩,以方便检修作业;半永久性牵引杆的机械、气路和电路的连接的解钩都需要人工操作,但一般只在架车作业时才进行分解。
目前,国内六辆编组城轨列车一般在列车的两端采用自动车钩,以方便列车救援,如武汉地铁2号线地铁列车。但也有采用半自动车钩的,如西安地铁2号线地铁列车;半自动车钩和半永久性牵引杆则根据需要安装于城轨车辆的单元之间和单元内部。
(1)自动车钩
自动车钩位于列车端部,其电气和风路连接装置都组装在钩头上。当车辆连挂时,车钩的机械、风路、电路系统都能自动连接;解钩时,可在司机室控制自动解钩或采用手动结构。解钩后,车钩即处于待挂状态;电气连接器通过盖板自动关闭,以防止水和尘土进入;主风管连接器也自动关闭,防止压缩空气泄漏。
我国城市轨道交通车辆用自动车钩主要有两种:一种是国产密接式车钩,采用半圆形钩舌;一种是Scharfenberg式自动车钩,采用拉杆式连接结构。
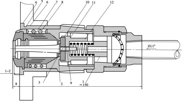
1)国产密接式车钩
国产密接式车钩缓冲装置如图6.6所示。它主要由车钩钩头、橡胶金属片式缓冲器、风管连接器、电气连接器和风动解钩系统等几部分组成,缓冲器位于钩头的后部。车辆连挂时依靠两车钩相邻钩头上的凸锥和凹锥孔的相互插入,实现两车钩的紧密连接;同时自动将两车之间的电路和空气通路接通。在两车分解时,亦可自动解钩,并自动切断两车之间的电路和空气通路。

图6.6 国产密接式车钩缓冲装置
1―密接式车钩钩头;2―风管连接器;3―橡胶缓冲器;4―冲击座;5―十字头; 6―托梁;7―磨耗板;8―电气连接器
在车钩下面有车钩托梁,在缓冲器尾部通过十字头连接器与车体上的冲击座相连,可以实现水平和垂直方向的摆动。
我国早期北京地铁1,2号线和天津滨海轻轨车辆采用了这种车钩形式。
①钩头结构。国产密接式车钩的结构如图6.7所示,主要由5部分组成,前端为钩头,有一个凸锥和凹锥孔,车钩内部还有半圆形的钩舌、解钩杆、解钩杆弹簧和解钩风缸等。
②作用原理。如图6.7所示为国产密接式自动车钩的作用原理图,有待挂、连挂和解钩3种状态。
a.待挂状态。如图6.7(a)所示,是车钩连接前的准备状态,此时钩舌定位杆被固定在待挂位置,解钩风缸活塞杆处于回缩状态,此时半圆形钩舌的连接面与水平面呈40°。
b.连挂状态。如图6.7(b)所示,两钩连挂时,凸锥插进对方相应车钩的凹锥孔中,这时凸锥的内侧面在前进中压迫对方的钩舌转动,使解钩汽缸的弹簧受压,钩舌沿逆时针方向旋转40°。当两钩连接面相接触后,凸锥的内侧面不再压迫对方的钩舌,此时,由于弹簧的作用,使钩舌恢复到原来的状态,即处于闭锁位置。

图6.7 国产密接式车钩作用原理
1-钩头;2-钩舌;3-解钩杆;4-弹簧;5-解钩风缸
c.解钩状态。如图6.7(c)所示为解钩状态,有自动解钩和手动解钩两种方式。在进行自动解钩时,需要司机操纵解钩阀,压缩空气由部风管进入前车(或后车)的解钩风缸,同时经解钩风管联络器送入相连挂的后车(或前车)的解钩风缸,活塞杆向前推并带动解钩杆,使钩舌转动到解锁位置,此时两钩即可解开。两钩分解后,解钩风缸的压缩空气迅速排出,解钩弹簧得以复原,带动钩舌顺时针方向转动40°恢复到原始状态,为下次连挂做好准备。手动解钩,只要用人力扳动解钩杆,也能使钩舌转动至开锁位置,实现两钩的分解。
2)Scharfenberg式自动车钩
Scharfenberg式自动车钩缓冲装置如图6.8所示,由钩头、橡胶缓冲器、风管连接器、电气连接器和风动解钩系统等几部分组成,缓冲器位于钩头的后部。车辆连挂时依靠两车钩相邻钩头前端的锥形喇叭口引导彼此精确地对中,实现两车钩的紧密连接;同时自动将两车之间的电气线路和空气通路接通。在两车分解时,亦可由司机控制解钩电磁阀自动解钩,并自动切断两车之间的电气线路和空气通路。
在车钩下面有车钩支撑弹簧支撑,在缓冲器尾部通过转动中心轴与车体上的冲击座相连,并可通过橡胶弹簧的弹性变形及缓冲器与转动中心轴的相对转动实现垂直方向的摆动:垂向最大摆角为4°30′;最大水平摆角可达30°。
①车钩结构。钩头壳体为焊接件,它由两部分组成,前面为一带有锥体和喇叭口的突出件,后面为连接法兰。当两钩连接时,前面的锥体和喇叭口用来作为引导对准之用,伸出的爪把用来扩展车钩的连接范围。前端的圆孔用来安置空气管路连接器,在钩头壳体中配置有车钩锁闭零件和解钩风缸。借助于钩头壳体后部的法兰将钩头与牵引缓冲装置连成一体。
车钩的闭锁机构由钩舌和钩锁杆组成,两者通过销子彼此可摆动地相连接。
两个弹簧用来保持车钩处在闭锁位。弹簧的一端钩在壳体的锥体上,另一端钩在钩锁杆上。
手动解钩装置设在钩头的侧面,它由横杆通过两解钩杆与钩舌相连接。在该横杆的端部连有一钢丝绳并与手柄连接,手柄挂在钩头壳体的一侧。
②工作原理。如图6.9所示为密接式车钩的工作原理图,也分为待挂、连挂和解钩3种位置和手动解钩。

图6.8 Scharfenberg式自动车钩缓冲装置
1―密接式车钩;2―引导对准爪把;3―风管连接器;4―电气连接器;5―钩身; 6-橡胶弹簧;7-支撑弹簧
a.待挂位。这时钩头中的钩锁杆轴线平行于车钩的轴线,钩锁杆的连接销中心与钩舌中心销连接线垂直于车钩的轴线。弹簧处于松弛状态,该位置为车钩连挂准备位。
b.连挂闭锁位。欲使两钩连挂,原来处于连挂准备位的两钩相互接近并碰撞时,在钩头前端的锥形喇叭口引导下彼此精确地对中,两钩向前伸出的钩锁杆由于受到对方钩舌的阻碍,各自推动钩舌绕顺时针方向转动,直至在弹簧拉力作用下钩锁杆滑入对方钩舌的嘴中,并推动钩舌绕逆时针方向返回到原来位置为止。这时两钩的钩锁杆与两钩的钩舌构成一平行四边形,力处于平衡状态,两钩刚性地无间隙地彼此连接,处于闭锁状态。在连挂闭锁住时,钩舌和钩锁杆的位置与连挂准备状态完全相同,钩舌在弹簧作用下力图保持处于闭锁位。当两钩受牵拉时,拉力均匀地分配在由钩锁杆和钩舌组成的平行四边形两对边即钩锁杆上。当两钩冲击时,冲击力由两钩壳体喇叭口凸缘传递。
c.解钩状态。气动解钩由司机操作解钩控制阀达到解钩。这时压力空气经解钩管充入钩头中的解钩风缸中,推动活塞向前运动,压迫在解钩杆上所设置的滚子上,两钩头中的钩舌被同时推至解钩位置。达到解钩后再排气,风缸中受压弹簧使活塞返回到原始位置。
手动解钩。通过拉动钩头一侧的解钩手柄,经钢丝绳、杠杆和解钩杆使两钩的钩舌转动,直至钩锁杆脱出钩舌的嘴口,由此使两钩脱开,处于解钩位。
欧洲地铁大都采用这种车钩形式,上海、广州、深圳地铁等也采用这种形式的车钩。
(2)半自动车钩
如图6.10所示是西安地铁2号线车辆所采用的半自动车钩结构图。国内地铁如果在列车两端安装自动车钩,则半自动车钩主要用于两编组单元之间的车辆连挂,有部分城市的地铁列车在列车两端安装半自动车钩,比如成都地铁和西安地铁。半自动车钩的钩头连接形式与自动车钩相同,连挂方式和锁闭方式相同。两个相同的车钩可以在直线线路和曲线线路上自动连挂。半自动车钩可以实现列车单元之间的机械连接和风管自动连接,电气连接只能手动。解钩时机械和气路部分可自动,也可手动操作,但不能在司机室集中控制。在半自动车钩上设有贯通道支撑座,用于车辆运行过程和解钩之后支撑贯通道。支撑座可承受贯通道及所承受的载荷。

图6.9 密接式车钩作用原理
1-钩锁连接杆弹簧;2-钩锁连接杆;3-中心轴;4-钩舌; 5-钩头壳体;6-钩嘴;7-解钩杆;8-解钩风缸
(3)半永久性牵引杆
半永久性牵引杆用于同一单元内车辆之间的编组,使之编组成单元。列车单元在运行过程中一般不需要分解,通常只在维修时才分解。当两车连挂时即形成刚性连接,其连接间隙最小。垂向运动和转动也很小。这样的连接形式可保证列车在出轨时车辆之间仍然保持相对位置,防止车辆重叠和颠覆,减少列车启动及制动时的冲动。每个半永久牵引杆上均有贯通道支撑座,用于车辆运行过程和解钩之后支撑贯通道。支撑座可以承受车辆正常运行时超员情况下贯通道所承受的载荷。
半永久牵引杆只是将两车的连接方式由车钩连接改为牵引杆连接,取消了风路和电路的连接。风路和电路的连接只能依靠手动连接。不同种类的车辆所安装的半永久性牵引杆的结构可能有所不同,但连接原理是一致的。
如图6.11所示为国产地铁车辆半永久牵引杆。其主要特征为半永久牵引杆是将两车的连接方式由车钩连接改为用一根牵引棒代替,将自动车钩中的两个车钩钩体取消,牵引杆的两端直接与两个缓冲器相连,同时取消了风、电路的连接。

图6.10 西安地铁2号线半自动车钩
1-机械车钩;2-MRP;3-手动解钩;4-水平支撑;5-水平对中;6-压溃管;
7-缓冲装置;8-风管(MRP);9-连接环;10-钩舌;11-接地线;12-过载保护装置; 13,14-螺栓;15-BP;16-风管(BP);17-转接板

图6.11 半永久牵引杆
1-连接座;2-十字头;3-缓冲器;4-牵引杆;5-磨耗板;6-车钩托梁
上海地铁车辆半永久牵引杆结构如图6.12所示。其主要特征是将两相邻车钩中的一个车钩钩体和另一车钩钩体、缓冲器总成分别由两个牵引杆代替,两牵引杆的端部各有一个锥孔和锥柱,在连挂时起定位作用,通过套筒式联轴器将两个牵引杆刚性相连,其电气、气路通过机械紧固获得永久连接。通常只在维修时才分解,在半永久牵引杆上设有贯通道支撑座。
如图6.13所示是深圳地铁车辆半永久性牵引杆的结构形式。它的连接方式与上海地铁相似,其主要特征是在两个半永久牵引杆中设一个能量吸收装置。
【任务实施】
本次任务的实施,以国内某地铁车辆的自动车钩的检修为例,认知城轨车辆车钩的结构及工作原理。

图6.12 上海地铁半永久牵引杆
1-支撑座;2-具有双作用环弹簧的牵引杆;3,6-电气连接盒;4-风管; 5-套筒式联轴器;7-牵引杆;8-过渡板

图6.13 深圳地铁半永久牵引杆
1-牵引杆(1);2-牵引杆(2);3-套筒式联轴器;4-垂直支撑装置; 5-橡胶缓冲装置;6-可压溃变形管能量吸收装置
如图6.14所示,是国内某地铁车辆的自动车钩的正视图,按检修要求对整个车钩进行目视检查,检查是否有损坏的迹象以及紧固件是否松脱或遗失,对生锈的零部件必须要进行清洁然后涂上底漆以便保护,目的是整体认识城轨车辆车钩的结构。
如图6.15所示,检查机械车钩的钩舌和拉簧(位于机械车钩内部)是否损坏,目的认知城轨车辆车钩的内部结构。
如图6.16所示,操作手动解钩装置,检查钩锁转动是否灵活,认知解钩装置。
对其他配件的认知,也按此方法进行,总体认知城轨车辆的车钩。

图6.14 车钩正视图

图6.15 弹力拉簧

图6.16 解钩装置
【效果评价】
评价表

任务3 缓冲装置的认知
【活动场景】
在城市轨道交通车辆生产车间或检修现场教学,或用多媒体展示城市轨道交通车辆缓冲装置的使用与生产。
【任务要求】
掌握缓冲装置的结构组成及工作原理。
【知识准备】
缓冲装置是车辆牵引连挂装置的重要组成部分,主要用来传递和缓和纵向冲击力。城市轨道交通车辆采用的缓冲装置主要有以下6种形式。
(1)层叠式橡胶金属片缓冲器
1)结构和主要技术参数
如图6.17所示是层叠式金属橡胶缓冲器的结构原理图,由图可知,该缓冲器由橡胶金属片、前从板、牵引杆、缓冲器后盖、滑套、缓冲器体、后从板共7部分组成。主要技术参数如下:

2)作用原理
当车辆受到压缩载荷时,缓冲器体和牵引杆受压,此时力的传递方向为牵引杆压缩后从板→橡胶金属片→前从板和缓冲器的前端。橡胶金属片受到压缩,起缓冲作用。在牵引载荷工况下,缓冲体和牵引杆受拉,此时力的传递方向为:牵引杆上的滑套压缩前从板→橡胶金属片→后从板和缓冲体后盖,同样起到缓冲作用。此种缓冲器主要用于国产地铁车辆上。
(2)环弹簧缓冲器
1)环弹簧缓冲器的结构及原理
如图6.18所示是环弹簧缓冲器的结构及原理图,由图可知,该缓冲器由弹簧盒、弹簧前后座板、外环弹簧(共7片)、内环弹簧(5片内环弹簧、1片开口环弹簧和2片半环弹簧组成)、端盖、球形支座、牵引杆等组成,其主要技术参数如下:


图6.17 层叠式橡胶金属片缓冲器
1-橡胶金属片;2-前从板;3-牵引杆;4-缓冲器后盖;5-滑套;6-缓冲器体;7-后从板


图6.18 环弹簧缓冲器结构及原理图
1-弹簧盒;2-端盖;3-弹簧前从板;4-弹簧后从板;5-外环弹簧;6-内环弹簧; 7-开口弹簧;8-半环弹簧;9-球形支座;10-牵引杆;11-标记环; 12-预紧螺母;13-橡胶嵌块
2)作用原理
当车钩受冲击时,牵引杆推动弹簧前从板向后挤压环弹簧;当车钩受牵拉时,拧紧在牵引杆后端的预紧螺母带动弹簧后从板向前挤压环弹簧。因此,不论车钩受冲击或牵拉环弹簧均受压缩作用。由于内、外环弹簧相互接触的接触面均做成V形锥面,受压缩相互挤压时,外环扩胀,内环压缩,这样就产生了轴向变形,起缓冲作用。同时内、外环弹簧接触面产生相对滑动,摩擦力做功消耗了部分冲击能。
环弹簧缓冲器的前端通过一组对开连接套筒与钩头连,后端的球形支座通过销轴与车钩支撑座相连。整个车钩缓冲装置在水平面内可绕销轴左右摆动40°,在垂直面内借助于球形轴套嵌有橡胶件可上下摆动5°,以满足车辆运行于水平曲线和竖曲线的要求。德国进口的上海地铁1号线车辆采用了这种缓冲装置。
(3)环形橡胶缓冲器
1)环形橡胶缓冲器的结构及原理
如图6.19所示是环形橡胶缓冲器的结构及原理图。由图可知,该缓冲器主要由牵引杆、缓冲器体、环形橡胶弹簧等组成。属于免维护的橡胶缓冲装置,缓冲器安装在车钩安装座上,可以吸收拉伸和压缩能量。半自动车钩和牵引杆均用相同的方法安装固定。

图6.19 环形橡胶缓冲装置
1-牵引杆;2-安装座;3-环形橡胶;4-缓冲器体;5-支撑座
缓冲装置间不存在间隙,在承受拉伸和压缩载荷的同时,可承受较大的剪切力。
缓冲装置允许车钩作垂向摆动和扭转运动。缓冲装置的支撑座用4个螺栓固定在车体底架上。用于深圳地铁车辆。
2)主要技术参数
主要技术参数如下:

![]()
(4)弹性胶泥缓冲器
弹性胶泥缓冲器与传统意义上的缓冲器类似,在列车运行过程中起吸收冲击能量、缓和纵向冲击和振动的作用。其后端通过钩尾销连接在安装座上,前端通过连接环与连挂系统连接。弹性胶泥缓冲器性能先进,缓冲器的可靠性和动态吸收性能较好。
1)缓冲器的结构及原理
如图6.20所示为弹性胶泥缓冲器的结构原理图,由图可知,该缓冲器主要由牵引杆、弹簧盒、内半筒、端盖和弹性胶泥芯子等组成,弹性胶泥芯子是其接受能量的元件。缓冲系统,固定在弹簧盒内。

图6.20 弹性胶泥缓冲器
1-牵引杆;2-弹性胶泥芯子;3-内半筒组成
车钩受拉时,纵向力传递顺序为:牵引杆→内半筒→弹性胶泥芯子→弹簧盒→车体;车钩受压时,纵向力传递顺序为:牵引杆→弹性胶泥芯子→内半筒→弹簧盒→车体。由此可见,无论车钩受拉或是受压,缓冲器始终受压。
2)主要技术参数
主要技术参数如下:

(5)带变形管的橡胶缓冲器
如图6.21所示,带变形管的橡胶缓冲器由拉杆、轴套、锥形环圈、法兰、垫圈、橡胶弹簧和变形管组成。轴套与钩头壳体螺纹连接,并由法兰紧固使之不致松动,轴套用来作为拉杆、锥形环圈和变形管支撑和导向,拉杆穿过两个弹簧6和7,其端部通过蝶形螺母将弹簧压紧。
在正常运行时,车辆之间所产生的牵引和压缩力主要由两橡胶弹簧来承担。这时车辆连挂冲击速度小于3km/h.在如图6.22所示的力-行程图中作用力小于100kN,行程小于58mm,橡胶弹簧在变形中所吸收的功如图中所示的影线面积。
当车辆在事故冲击时,车辆的碰撞速度超过5~8km/h,这时车钩所受到的冲击压缩力超过橡胶弹簧的承载能力,靠近钩头的冲击吸收装置起作用,变形管3与锥形环圈4彼此相互挤压,把冲击能转变为变形管和锥形环圈的变形功和摩擦功,变形管产生永久变形,吸收冲击功可达16.1kJ,从而达到对乘客和车辆的事故附加防护作用。产生永久变形后的变形管必须予以更换,只要将法兰2松开,并将轴套1从钩体中拧出,就不难将变形管3从锥形环圈4中拉出。

图6.21 带变形管的橡胶缓冲器
1-轴套;2-法兰;3-变形管;4-锥形环圈;5-拉杆;6-橡胶弹簧; 7-橡胶弹簧;8-垫圈;9-螺母

图6.22 橡胶缓冲器冲击衰减力-行程图
(6)可压溃变形管
如图6.23所示是可压溃变形管和结构示意图。车钩缓冲装置是车辆冲击能量吸收系统的一部分,可压溃变形管可作为车钩缓冲装置的重要部件,用来吸收车辆冲击能量。当两列车相撞时,将会产生可恢复的和不可恢复的变形。

图6.23 可压溃变形管和结构示意图
1-可压溃变形管;2,3-可压溃筒体
能量吸收可分为3级:
第一级,速度最大为8km/h速度时,车钩内的缓冲、吸收装置吸收全部能量,产生的变形可以恢复;第二级,速度为8~15km/h速度时,可压溃变形管产生的变形不可恢复;第三级,速度超过15km/h速度时,自动车钩的过载保护系统产生不可恢复的变形,车辆前端将参与能量吸收以保护乘客。
同时通过可压溃变形管的能量吸收还可保护车体钢结构免受破坏。当冲击速度过大,导致可压溃变形管变形时,必须更换。
撞车事故发生后,必须对车辆进行检查,尤其是电气连接和机械连接部分。
车钩的事故率相对较低,但可压溃变形管是必备的备件,另外如钩舌弹簧、固定和活动触头及风管连接器等也是相对容易损坏的部件。
【任务实施】
以某地铁车带缓冲器的半永久车钩为例,对其进行检查和维护,以认知其结构原理。如图6.24所示为带缓冲器半永久车钩的结构示意图。检查时须对整个车钩进行目视检查,检查是否有损坏的迹象以及紧固件是否松脱或遗失,生锈的零部件必须要进行清洁,然后涂上底漆以便保护。检查车钩零件是否有损坏,更换损坏件,并且标上红色力矩封。如图检查压溃管应无鼓起、裂损等损伤,如影响功能则更换。套筒联轴节:检查安装螺钉是否紧固[如需要校正扭力需更换螺钉,力矩是:(145±5)Nm)],目检套筒联轴节上、下套筒的连接缝隙内是否充满润滑油脂,如没有则向孔内涂满润滑油脂。如图6.25所示,在可压溃变形管的前后各有一套筒联轴节。

图6.24 带缓冲器半永久车钩
1-风管连接器;2,3,4-螺栓;5-接地线;6-橡胶支撑;7-吊座螺栓;8-支架; 9-接地线;10-安装螺栓;11-安装座;12-缓冲器;13,14-螺栓

图6.25 压溃管结构图
【效果评价】
评价表

任务4 附属装置的认知
【活动场景】
在城市轨道交通车辆生产车间或检修现场教学,或用多媒体展示城市轨道交通车辆车体的使用与生产。
【任务要求】
掌握贯通道的基本作用及结构。
【知识准备】
(1)风管连接器
1)不带自闭装置的风管连接器
如图6.26所示。当车钩互相连挂时,密封圈互相接触受压,借助于滑套、橡胶套和前弹簧使压力达到70~160N,保证气路开通时不会泄漏。在制动主管连接器后端的管路上装有一个截止阀。正常解钩时,首先将截止阀关闭,以防止制动主管排风而产生紧急制动。

图6.26 制动主管连接器
1-阀壳;2-密封圈;3-滑套;4-橡胶套;5-前弹簧;6-后接头;7-虑尘网
2)自动开闭式风管连接器
如图6.27所示为自动开闭式风管连接器。该装置具有自动开闭装置。当两车钩连挂时,顶杆与密封圈同时受压,密封圈防止泄漏的同时,顶杆压缩阀垫、滑阀和顶杆弹簧,阀垫和滑阀后退,使阀垫与阀体脱开,气路开通。解钩时由于密封圈和顶杆失去压力,在弹簧的作用下,各部件恢复原位,风路断开。

图6.27 自动开闭式风管连接器
1-后接头;2-阀体;3-顶杆;4-阀壳;5-密封圈;6-滑套;7-橡胶套; 8-前弹簧;9-调整垫片;10-阀垫;11-滑阀;12-顶杆弹簧

图6.28 电气连接器
1-箱体;2-悬吊装置;3-车钩;4-定位孔;5-定位销;6-密封条;7-触头;8-箱盖
(2)电气连接器
电气连接器如图6.28所示。通过悬吊装置使钩体与电气连接器成弹性连接。两车钩连挂时,箱体可退缩3~4mm,靠弹簧压力,保证良好接触;触头上焊有银片,以减小电阻。它与箱体成弹性连接,靠弹簧压力保证触头处于可伸缩状态,相互接触良好,保证电流畅通。箱体的一侧有一个定位销,对称侧有定位孔,两钩连挂时定位销插入对应的定位孔,以保证触头的准确连接;密封条是防雨水和灰尘的。解钩时,将盖盖好,防止触头损坏。箱体内还设有接线板,使触头的引线和从车上来的引入线对应相连;在它后部有电线孔,为防止电线磨损,设有塑料套。
电气箱外装有保护罩,当两钩连接时,电气箱可推出使其端面高于车钩端面,此时保护罩自动开启;当解钩后,电气箱退回至原位置,保护罩自动关闭。电气箱内的触点分别为固定触点和弹性触点,保证电气连接时密接可靠。主要应用于自动车钩上。
(3)车钩对中装置
如图6.29所示,在缓冲器的尾部下方左、右各设有一个对中汽缸,它的活塞头部安有一个水平滚轮,当汽缸充气活塞向外伸出时,能自动嵌入固定在球铰座下方的一块呈桃子形凸轮板左、右的两个缺口内,从而达到使车钩自动对中的目的,也就是使车钩缓冲装置的中心线与车体中心线在一个垂直平面内,以便使一个车钩钩头对准对方车钩的钩坑。
对中汽缸的充气和排气是通过钩头心轴顶部的凸轮来驱动二位五通阀的阀芯,从而使对中汽缸进行充气或排气。当车钩处于待挂状态,对中汽缸充气使车钩自动对中;当车钩处于连接状态时,对中汽缸处于排气状态;对中汽缸排气,车钩则可自由转动,则有利于列车过弯道。
当车辆在弯道上进行连挂时,则必须将对中装置关闭,否则无法进行连挂。这时只需将车钩下方的进气阀门关闭即可使对中汽缸排气,使车钩处于自由状态,而在进行连挂时可利用钩头法兰前的导向杆(俗称象鼻子)进行对中,从而顺利地进行连挂。

图6.29 支撑座图
1,2-轴套;3-安装座;4-中心销;5-凸轮盘;6-对中作用汽缸; 7-活接式气接头;8-垂向支撑橡胶弹簧
(4)安装吊挂系统
安装吊挂系统的作用是为整个车钩缓装置提供安装和支撑,保证列车通过所有平竖曲线所需的各个方向自由度,保证整套装置在不连挂状态时保持水平,车钩中心线与车辆中心线重合,以便于连挂。车钩通过该装置可方便地调整车钩中心线的高度。
【任务实施】
以西安地铁2号线车辆车钩气路为例进行管路拆解。
(1)车钩气路结构
图6.30为车钩气路结构图。
(2)拆卸步骤
拆卸步骤具体如下:
①拆卸与车体相接的软管气路接头。
②松开螺母10,取下螺栓4,拆解管卡7.
③松开螺母2,取下风管11.
④从风管11上拆下“O”形密封圈3.
⑤卸下整套连接管11.

图6.30 气路连接管的更换图
1-MRP;2-风管螺母;3-“O”形密封圈;4-螺栓;5-垫圈; 6-支架;7,8-管卡;9-盖板;10-防松螺母;11-气路连接管
(3)专用工具/仪表、检修用品
①标准工具套装。
②Molykote1000.
③AUTOLTOP2000润滑脂。
④皂液。
【效果评价】
评价表

任务5 贯通道的认知
【活动场景】
在城市轨道交通车辆生产车间或检修现场教学,或用多媒体展示城市轨道交通车辆车体的使用与生产。
【任务要求】
掌握贯通道的基本作用及结构。
【知识准备】
(1)概述
贯通道装置也就是风挡装置,位于两节车厢的连接处,是两车辆通道连接的部分,它具有良好的防雨、防风、防尘、隔音、隔热等功能,能够使旅客安全地穿行于车厢之间。风挡装置分为整体式和分体式。深圳地铁采用的是分体式风挡装置,即风挡装置的一半装在每辆车的端部,在该装置的下部还设有分开式渡板。渡板连接处有车钩支撑,如图6.31所示。

图6.31 渡板连接处有车钩支撑
(2)贯通道的结构(见图6.32)

图6.32 风挡侧向断面图
1-波纹遮棚;2-紧固框架;3-连接框架;4-滑板支架;5-渡板组成(1); 6-渡板组成(2);7-内侧板;8-单层顶板;9-顶板
1)波纹折棚组成
折棚由多折环状篷布缝制而成,每折环的下部设有两个排水孔。折棚体选用特制的阻燃、高强度、耐老化人造革制作,在-45~+100℃范围能够正常使用,抗拉强度≥3000N/cm2。棚布采用双层夹心结构,大大提高了风挡的隔音、隔热性能。折棚体各折缝合边用铝合金型材镶嵌,折棚体的一端连接在车体端部,另一端与连接座连接固定。
2)紧固框架
紧固框架是由铝型材焊接而成,通过固定在框架上的螺钉将波浪式风挡牢固地与车辆端部连接,在该部件的上面还设有固定内墙板和内顶板的连接装置。
3)连接框架
连接框架也是由铝合金骨架焊接而成,与紧固框架外形相似,但其内部结构和实现的功能是不同的。
①在框架的侧面和顶部设有两个定位孔和定位销,当连挂时,定位销插入对应框架的定位孔中而实现准确连挂。
②在框架上设有4个锁钩和锁钩机构,连挂后用手工将锁钩插入对应锁闭机构中,实现风挡的惯性连接。
4)滑动支架
采用钢板焊接而成,落在车钩的贯通道支座上,实现支撑贯通道的功能。他的上部与支撑金属板相连。
5)侧护板组成
侧护板的通道表面为镶有凯德板的罩板,内有铝型材与弧面橡胶条镶嵌而成的边护板,可实现拉伸和压缩,护板内表面设有连杆支撑机构,使护板有足够的刚度,旅客可依靠护板;护板的两端与车体端部连接,可用专用钥匙快速打开、拆卸护板。
6)顶板组成
每个通道顶板由两个边护板和一个中间护板组成,顶板内侧设有连杆机构,使车辆运行时中间护板始终保持在中间位置,不发生偏移,顶板组成通过边框用螺钉固定在车体端墙上。
【任务实施】
以西安地铁2号线篷布为例进行修复。具体程序如下:
①用维修工具中提供的清洁工具清洁受损篷布将要粘上补丁一侧(见图6.33)。

图6.33 破损篷布的修复
②用砂纸打磨清洁过的折棚(颗粒尺寸100)。
③根据受损面积大小裁剪篷布补丁。尽可能使边缘光滑服帖。普通破损地方用T5篷布修补。那些经常会接触的地方用T3篷布修补,因为它更灵活更薄,便于工作上的需要。
④将补丁一侧用砂纸均匀打磨(颗粒尺寸100)。
⑤用维修工具提供的清洁工具将被打磨的一面清理干净。
⑥用刷子给补丁和折棚打磨并清理过的地方上一层薄薄的黏合剂。
⑦让黏合剂晾干5~10min。
⑧将补丁贴到破损处并用附带的泡沫橡胶锟将补丁紧紧压在折棚上。同时在里侧用一块硬物做支撑(如木板),防止气泡产生。
⑨黏合住的地方硬化之后便可以适应拉伸了。注意:24h后可以达到最大的使用价值(适用于剧烈运动),大约4h后就能达到一般使用价值(使用于普通运动)。
⑩在顶部、底部及拐角处的补丁需要特别再用修复工具中的中空铆钉固定。如补丁大小超过3cmX5cm,则需在所有补丁上用中空铆钉再固定。必须在胶水硬化之前用铆钉钉住。
让黏合剂晾干约1h.
根据补丁尺寸(3cmX5cm用3个空心铆钉)在棚布和补丁的适当位置钻孔或冲孔, 用φ4.2mm的冲钻机、空心穿孔机或别的适合工具。
钉入空心铆钉(NK10和NN7),在空心铆钉一侧用硬物支撑,用PVC锤子钉上。
【效果评价】
评价表

项目小结
车钩缓冲装置是车辆实现编组连挂以及缓和纵向冲击力的重要装置。车钩有两种基本类型:非刚性车钩和刚性车钩。按照车钩连接的自动化程度还可分为非自动车钩和自动车钩。城道车辆上车钩缓冲装置中,常采用刚性车钩(密接式车钩),可分为自动车钩、半自动车钩和半永久性牵引杆。
自动车钩主要用于编组列车的端部,必要时与其他车辆进行快速自动对接。根据自动车钩间的连接方式不同主要国产动车组密接式车钩、Scharfenberg密接式车钩等几种。
半自动车钩用于城市轨道交通车辆两编组单元之间的连挂。半自动车钩和自动车钩的结构和作用原理基本相同。
半永久牵引杆主要用于同一列车单元中车辆之间的连接,运用过程中,一般不需要分解。其优点是结构简单,缺点是耗费人力,不易拆装。各种结构的半永久牵引杆的基本原理相同,主要区别在于接头形式和是否设有其他附属装置等。
车钩缓冲装置附设有电气连接器、风管连接器、十字头及车钩托梁、钩尾冲击座与车钩支撑座等附属装置。
缓冲器是车钩缓冲装置的组成部分之一,其作用是连接车钩与车体,缓和列车纵向冲动。
贯通道装置位于两节车厢的连接处,具有良好的防雨、防风、防尘、隔音、隔热等功能,能够使旅客安全地穿行于车厢之间。贯通道分为整体式和分体式,上海、广州、深圳地铁等采用宽体分体式贯通道。贯通道及渡板组成包括:波纹折棚、紧固框架、连接框架、滑动支架、渡板组成、内侧板和内顶板等。
思考与练习
1.城市轨道车辆车钩缓冲装置的用途及分类?
2.简述国产密接式车钩和Scharfenberg密接式车钩的结构及作用原理?
3.简述半永久性牵引杆的结构及作用原理?
4.缓冲装置有哪些种类?其结构及作用原理如何?
5.简述贯通道装置的结构及用途?
上一篇:计算机软件著作权的侵权认定
下一篇:感知型人格特质(二)





.jpg)
.jpg)
